当前位置: 首页 > 期刊 > 《中华结核和呼吸杂志》 > 1999年第11期
编号:10655670
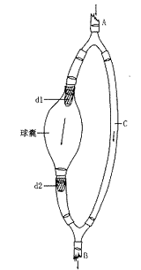
双瓣膜胸腔闭式引流装置的临床应用研究
http://www.100md.com 《中华结核和呼吸感染》 1999年第11期
双瓣膜胸腔闭式引流装置的临床应用研究

     祝沪军 刘志梅 李永刚 方秦模 郭德庆 叶会英 163001 黑龙江省大庆市第一医院胸心外科。 中华结核和呼吸感染 1999 0 22 11


    关键词: 期刊 zhjhhhxgr 0 经验荟萃 fur -->


    

传统的胸腔闭式引流装置广泛地用于临床,因其构造的缘故,在使用中存在着不足之处 ......


您现在查看是摘要页,全文长 2016 字符