当前位置: 首页 > 期刊 > 《中华结核和呼吸杂志》 > 1999年第6期
编号:10655803
阻塞性睡眠呼吸暂停患者的颌面骨性结构特征分析
http://www.100md.com 《中华结核和呼吸感染》 1999年第6期
睡眠呼吸暂停综合征|颌面结构分析,关键词:
阻塞性睡眠呼吸暂停患者的颌面骨性结构特征分析

     童茂荣 夏锡荣 曹鄂洪 张伟 赵蓓蕾 印洁 申萍 210002 南京军区总医院呼吸科 中华结核和呼吸感染 1999 0 22 6


    关键词:睡眠呼吸暂停综合征;颌面结构分析 期刊 zhjhhhxgr 0 述评 fur -->


    

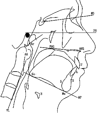
摘要 目的 探讨阻塞性睡眠呼吸暂停(OSA)患者颌面骨性结构特征及其与OSA发病的关系。方法 102例男性OSA患者及37名健康成年男性经多导睡眠仪检查诊断或排除OSA;应用NIHImage软件测定其16项颌面骨性结构参数。结果 OSA患者下述骨性结构长度均显著短于对照组:颅底(71±4)mm∶(74±3) mm, (P<0.001),上颌骨(52±5) mm∶(55±4) mm, (P<0.01)及下颌骨(74±5)mm∶(77±6) mm,(P<0.05)。鼻咽部骨性气道显著狭窄,舌骨位置偏下偏前,前侧面部下半部较长而上半部较短。多元逐步回归分析提示患者的下颌后缩、上颌前后径较短及舌骨下移可能在OSA的发生发展中起一定作用(R2 =0.447,F=15.471,P<0.0001)。结论 OSA患者存在显著颌面骨性结构异常,了解这些异常的特征有助于阐明OSA的发病机制及实施个体化治疗方案而获取最佳疗效。

    

Cephalometric analysis ofthe craniofacial bony structures in patients with obstructive sleep apnea

TONG Maorong, XIA Xirong, CAO Ehong, et al. Department of Respiratory Diseases, Nanjing Military General Hospital, Nanjing 210002

Abstract Objective To explore the craniofacial bony struct

     ......


您现在查看是摘要页,全文长 13868 字符