当前位置: 首页 > 期刊 > 《中华围产医学杂志》 > 1999年第1期
编号:10656884
低出生体重与脑性瘫痪
http://www.100md.com 《中华围产医学杂志》 1999年第1期
刘建蒙 李松 林庆 赵平 赵凤临 洪世欣 郑俊池 季成叶 呼和牧人 汤健芳 杨晓玲 周永兰 韶佩云 周彩萍 沈泉珍 徐加福 李竹 100083 北京医科大学中国妇婴保健中心(刘建蒙,李松,赵平,洪世欣,郑俊池,季成叶,呼和牧人,李竹);北京医科大学第一医院(林庆);北京医科大学第三医院(赵凤临);吴江、吴县、苏州、昆山、太仓、锡山、江阴市妇幼保健所(汤健芳,杨晓玲,周永兰,韶佩云,周彩萍,沈泉珍,徐加福) 中华围产医学杂志 1999 0 0 1
关键词:脑性瘫痪;患病率;出生体重 期刊 zhwcyxzz 0 论 著 fur -->

【摘要】 目的 确定不同出生体重脑性瘫痪患病率。 方法 1997年5月至6月在江苏南部七个市进行了0~6岁小儿脑性瘫痪现况调查。 结果 随着出生体重的增加,脑性瘫痪患病率呈现出下降、平台和上升三种变化。出生体重在3500~3 999 g组的脑性瘫痪患病率最低。低出生体重儿(<2 500 g)占全部儿童的2.0%,而在脑性瘫痪患儿中低出生体重儿却占24%。低出生体重儿脑性瘫痪患病率为19.4‰(95%可信区间:16.3‰~22.5‰),而正常出生体重儿(≥2500 g)为1.2‰(95%可信区间:1.1‰~1.3‰);低出生体重儿脑性瘫痪患病率是正常出生体重儿的16倍(RR=16.1,95%可信区间:13.4~19.4)。 结论 低出生体重儿脑性瘫痪患病率明显高于正常出生体重儿;调查地区出生体重不足2000 g的儿童的存活质量有待进一步提高;随着低出生体重儿存活率的上升,脑瘫患病率可能会呈上升趋势。
Low Birth Weight andCerebral Palsy

Liu Jianmeng* , Li Song,Lin Qing,et al. National Center forMaternal and Infant Health,Beijing Medical University,Beijing, 100083 100083

Abstract】 Objective To determine the birth weight specific prevalence ofcerebral palsy(CP). Methods A prevalence study of cerebralpalsy was carried out among 388 192 children aged under 7 years old in seven cities ofJiangsu Province during period of May-June 1997. Results The study showed that the prevalence of CP was of threechange patterns(decreasing,stable and increasing patterns) as birth weightincreased.Children with birth weight of 3 500 to 3 999 g were at the lowest risk.Childrenwith birth weight <2 500 g,who were 2.0% of total children,contributed 24% to the CP inthis population.The prevalence of CP for low birth weight(<2 500 g)was 19.4‰ (95% confidence interval:16.3‰~ 22.5‰ ), while that for normal birth weight was 1.2‰ (95% confidence interval:1.1‰~ 1.3‰ ).The former was 16 times higher than the latter (RR=16.1,95% confidence interval:13.4~ 19.4). Conclusions The prevalence of cerebral palsy for children with lowbirth weight was much higher than that for children with normal birth weight.The survivalquality of children with birth weight <2 000 g needed to be further improved.It isestimated that the prevalence of cerebral palsy may be of a tendency to increase assurvival rate of newborns increases with low birth weight.
Keywords】 Cerebralpalsy Prevalence Birth weight

脑性瘫痪(简称脑瘫)导致儿童长期或终身残疾,影响儿童身心健康和人口素质的提高,已成为世界各国重要的公共卫生问题。低出生体重可能是脑瘫重要的危险因素之一。西方国家的研究显示脑瘫患病率在2‰~3‰并且约47%的脑瘫患儿是低出生体重儿[1] ,而我国尚缺乏这方面的研究资料。为了获得不同出生体重脑瘫患病率,于1997年5月至6月在江苏南部7个市进行了0~6岁小儿脑瘫的现况普查。

资料和方法
一、研究对象
江苏省苏州、吴县、吴江、昆山、太仓、锡山和江阴7市的0~6岁儿童。具体规定如下:出生时间在1990年5月1日至1997年4月30日之间,并且儿童的父母(或养父母或领养人)在调查地区居住已满1年,现仍在该地区居住而不考虑他们在调查地区是否具有常驻户口。
二、资料来源
由两部分构成,一是江苏7市的现况调查,另一部分是同时期同地区的围产保健监测的活产儿资料(来自中国妇婴保健中心的围产保健监测数据库)。
三、诊断标准:
1.一周岁以内出现中枢性运动障碍的临床表现;
2.肌张力异常;
3.静止或运动时有姿势异常。
同时具备1和2或1和3,除外进行性中枢疾病所致的中枢性运动障碍即可诊断脑瘫。
在Pentium 133微机上应用SAS 6.11 for windows软件,完成资料分析工作。

结果
一、出生体重与脑瘫患病率
共调查0~6岁儿童388 192名,诊断脑瘫622名,脑瘫患病率为1.6‰(95%可信区间:1.5‰~1.7‰)。出生体重不详者共计1082名。低出生体重儿(<2 500 g)7 613名,占全部儿童的2.0%,而脑瘫患儿中低出生体重儿却占24.0%。
图1显示出生体重与脑瘫患病率的相互关系可以分为三个部分:(1)下降段(出生体重小于3000 g)。脑瘫患病率随着出生体重的增加而下降,由出生体重不足1 750g的63.88‰,降至出生体重为3 000 g时的1.02‰。总计下降了98.4%,平均出生体重每增加100g,脑瘫的患病率约下降4‰;(2)平台段(出生体重在3 000~3 999 g之间)。此段脑瘫患病率随着出生体重的增加而缓慢下降,但下降趋势不明显;(3)上升段(出生体重在4000 g及以上)。脑瘫患病率随着出生体重的增加而上升,由出生体重为4000~4 249 g时的1.10‰,上升至出生体重为4 500 g及以上的3.96‰。

图1 不同出生体重脑瘫患病率及其95%可信限(‰)

低出生体重儿脑瘫患病率为19.4‰(95%可信区间:16.3‰~22.5‰),而正常出生体重儿(≥2500 g)脑瘫患病率为1.2‰(95%可信区间:1.1‰~1.3‰)。低出生体重儿脑瘫患病率是正常出生体重儿的16倍(RR=16.1,95%可信区间:13.4~19.4)。
进一步将低出生体重分为出生体重不足2 000 g和出生体重在2 000~2499g两组。这两组的脑瘫患病率分别为59.3‰(95%可信区间:44.5‰~74.1‰)和13.6‰(95%可信区间:10.8‰~16.3‰)。
二、低出生体重儿存活率
1.零岁组与1~6岁组低出生体重比的比较:低出生体重比是指低出生体重儿占全部儿童的百分比。以1~6岁组的低出生体重比作为分母计算比值比(OR)进行比较,见图2。即OR等于零岁组的低出生体重比除以1~6岁组的低出生体重比。OR值大于1,表明零岁组儿童的低出生体重比大于1~6岁组,并且出生体重愈小高出比例愈大,提示有相当部分的低出生体重儿在婴儿期死亡。
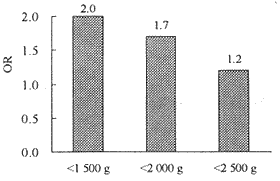
2.调查资料与监测资料活产儿低出生体重比的比较:OR等于同地区同时期围产保健监测所得活产儿的低出生体重比除以本次调查资料零岁组儿童的低出生体重比。OR值大于1,表明活产儿的低出生体重比大于零岁组儿童的低出生体重,并且出生体重愈小高出比例愈大(见图3),提示有相当部分的低出生体重活产儿,尤其是极低出生体重(<1500 g)活产儿在婴儿早期死亡。

图2 零岁与1~6岁组儿童的低出生体重比的比较

图3 监测资料与调查资料零岁组低出生体重比的比较

讨论
一、不同出生体重脑瘫患病率
低出生体重是脑瘫非常重要的危险因素之一,并且出生体重愈低脑瘫患病率愈高[2] 。我们发现随着出生体重的增加,脑瘫患病率呈现出下降、平台和上升三种变化。出生体重在3500~3 999 g组的脑瘫患病率最低。而国外有关报道[3] 是脑瘫患者率在4000~4 499 g组最低。与西方国家比较,中国儿童的出生体重分布比较轻(即平均出生体重低于西方国家)可能是造成这种差异的主要原因。
研究结果还显示对于出生体重不足2 000 g、2 000 g~2 499 g和≥2 500g三组儿童的脑瘫患病率分别是59.3‰、13.6‰和1.2‰。而西方国家这三组的脑瘫患病率分别为15‰~30‰、3‰~14‰和1.3‰左右[4,5] 。显然低出生体重组的脑瘫患病率明显高于西方国家或处于西方国家的较高水平,而正常出生体重组的脑瘫患病率与西方国家一致。这种差异提示调查地区低出生体重,尤其是出生体重不足2000 g的新生儿存活质量有待进一步提高。
二、低出生体重儿死亡对脑瘫患病率的影响
总脑瘫患病率为1.6‰,低于西方国家的有关报道[1] 。低出生体重儿是易患脑瘫的高危人群,同时他们也易患有其他疾病并且死亡率较高。因此考虑低出生体重儿存活率比西方国家低可能是主要原因。首先,研究结果表明调查地区低出生体重儿的存活率较低并且出生体重愈低存活率愈低。根据同期同地区围产保健监测资料,我们估计有50%和80%以上的出生体重不足2000 g和不足1 500 g的活产儿童在调查时已经死亡。而在80年代中期,西方国家的极低出生体重儿(<1500 g)活满28天的存活率就已经达到60%~75%[4] 。其次从脑瘫病例的构成来看,低出生体重儿占全部病例的24%。而在西方国家,低出生体重儿约占全部脑瘫患儿的47%,因此,随着低出生体重儿存活率的上升,脑瘫患病率可能会呈上升趋势。
致谢 在现场调查方面得到苏州、吴县、吴江、昆山、太仓、锡山和江阴七市妇幼保健所的鼎力协作

本研究由国家“九五”医学科技攻关计划部分资助
参考文献

[1] 刘建蒙,李松,林庆,等.小儿脑性瘫痪的流行病学分布特征.中华儿科杂志,1998,36:314-316.
[2] Stanley FJ,Blair E.Cerebral palsy.In:Pless B.ed.The epidemiology of childhooddisorders.London:Oxford University Press.1994.437-497.
[3] Cummins SK,Nelson KB,Grether JK.Cerebral palsy in four nor-
thern California counties,Births 1983 through 1985.J Pediatr 1993,123:230-237.
[4] Rosen MG,Dickinson JC.The incidence of cerebral palsy.Am J Obstet Gynecol1992,167:417-423.
[5] Stanly FJ,Watson L.Trends in perinatal mortality and cerebral palsy in WesternAustralia,1967 to 1985.BMJ 1992,304:1658-1663.

(收稿:1998-09-11)
, http://www.100md.com