全身麻醉
麻醉学,临床麻醉方法
全身麻醉
麻醉药经吸入、静脉、肌肉或直肠灌注等途径进入体内,使病人意识消失,周身不感到疼痛,神经反射及肌肉活动都有不同程度的抑制,这种麻醉方法称为全身麻醉(或称全麻)。
| |
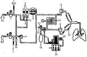
| 图1 麻醉机主要结构 |
| |
| 图2 Mapleson回路 |
| |
| 图3 Ayre T回路 |
| |
| 图4 Bain 回路 |
| |
| 图5 来回式回路 |
| |
| 图6 循环式回路 |
您现在查看是摘要页,全文长 24434 字符。
全身麻醉
麻醉药经吸入、静脉、肌肉或直肠灌注等途径进入体内,使病人意识消失,周身不感到疼痛,神经反射及肌肉活动都有不同程度的抑制,这种麻醉方法称为全身麻醉(或称全麻)。
| |
| 图1 麻醉机主要结构 |
| |
| 图2 Mapleson回路 |
| |
| 图3 Ayre T回路 |
| |
| 图4 Bain 回路 |
| |
| 图5 来回式回路 |
| |
| 图6 循环式回路 |