硫酸沙丁胺醇口服渗透泵控释片的制备及体外释放度考察1
作者:吴涛 潘卫三 庄殿友 陈济民 张汝华
单位:沈阳药科大学药学系, 沈阳 110015
关键词:硫酸沙丁胺醇;渗透泵;均匀设计;释放度
沈阳药科大学学报990201 摘 要 通过均匀设计优化出硫酸沙丁胺醇口服渗透泵控释片的处方,并且考察了该制剂的释药机理.结果表明:该制剂遵从以渗透压差为释药动力的渗透泵式释药模式,体外释药速度平稳,在8 h内呈现良好的零级释放特征.
分类号 R94
The Preparation and Drug Release Test of Salbutamol Sulfate Oral Osmotic Pump Controlled Release Tablets
, 百拇医药
Wu Tao,Pan Weisan,Zhuang Dianyou,Chen Jimin,Zhang Ruhua
Department of Pharmacy,Shenyang Pharmaceutical University,Shenyang 11005
Abstract The optimal formulaton of salbutamol sulfate oral osmotic Controlled release pump tablets was selected by employing uniform design and the drug release mechanism was investigated.The results indicated that the preparation had excellent character of zero-order release and conformed to the osmotic release model.
, 百拇医药
Key words salbutamol sulfate;osmotic pump;uniform design;drug release
控释制剂的研究与开发是现代药物制剂学的发展方向之一,在过去的20年中,国内外对控释制剂进行了广泛而深入的研究,其中口服渗透泵(Oral Osmotic Pump)制剂以其独特的释药方式和平稳的释药速度而成为控释制剂的典型代表,它不仅能够使血药浓度较长时间地维持在有效范围内,而且避免了普通口服制剂造成的血药浓度波动较大的现象,极大地提高了药物的安全性和有效性〔1〕.国外在20世纪70年代中期开始对口服渗透泵制剂进行系统的研究并迅速从基础理论研究过渡到实用阶段,美国Alza公司、英国Glaxo公司以及德国Bayer公司在此方面取得一定的成果,目前已有硫酸沙丁胺醇渗透泵片、硝苯地平渗透泵片等产品上市,并凭借其平稳的释药速度和血药浓度波动小的特点而获得良好的治疗效果.国内关于渗透泵研究的报道较少〔2,3〕,尚无成型产品上市.作者以硫酸沙丁胺醇作为模型药物,在大量预试验的基础上采用均匀设计对处方进行优化,并对硫酸沙丁胺醇渗透泵制剂体外释放度和释药机理进行了考察.
, http://www.100md.com
1 仪器与药品
ZRCD6-B型药物溶出度测定仪(上海黄海药检仪器厂);KJ-1型控释片剂激光打孔机(中国药科大学);UV-260型紫外可见分光光度计(日本岛津制作所).
硫酸沙丁胺醇(天津力生制药厂);聚维酮K30(PVP河南开源药厂,卫生部标准 WS194(X-162)-94);羧甲基纤维素钠(CMC-Na,沈阳化学试剂厂,实验试剂2%水溶液粘度为0.8~1.2 Pa.s);氯化钠(青岛第二制药厂,《中国药典》1995版);羟丙基甲基纤维素(HPMC,山东肥城瑞泰化工有限公司,2%水溶液粘度为0.05 Pa.s);聚乙二醇1500(PEG1500,上海化学试剂采购供应站,平均相对分子质量为1 300~1 700);醋酸纤维素(乙酰化率39.8%,美国Eastman公司,《美国药典》23版);硬脂酸镁(化学纯,上海药用辅料厂);蒸馏水;二氯甲烷、甲醇,乙醇等试剂皆为分析纯.
, http://www.100md.com
2 方法与结果
2.1 硫酸沙丁胺醇渗透泵控释片的制备
将硫酸沙丁胺醇与氯化钠、PVP及CMC-Na分别过40目筛后混匀,加入75%乙醇制软材,过20目筛后制粒,40 ℃干燥12 h,18目筛整粒,加入适量硬脂酸镁,混匀压片,即得片芯.醋酸纤维素、HPMC、PEG1500溶解于二氯甲烷和甲醇的混合溶媒中,混合均匀,即得包衣溶液.将片芯置于包衣锅内,吹入热空气,待温度为50 ℃后,进行包衣.包衣液输入速度为0.6 mL/s,压力为24.4 kPa,包衣锅内温度为40 ℃,直至片芯外包衣膜的厚度达到预定标准时为止,继续吹入热空气0.5 h,然后将包衣片在干燥箱中40 ℃下干燥48 h.取上述干燥完毕的包衣片,用KJ-1型控释片剂激光打孔机在包衣外膜一侧上打成孔径为0.4 mm的小孔,即得硫酸沙丁胺醇渗透泵控释片.
2.2 含量测定
, 百拇医药
取硫酸沙丁胺醇渗透泵控释片10片,除去包衣膜,精密称定,研细,精密称取适量(约相当于1片质量),置于100 mL量瓶中,加水50 mL,振摇使硫酸沙丁胺醇溶解,加水稀释至刻度,摇匀,过滤,取续滤液,照《中国药典》紫外分光光度法〔4〕在276 nm的波长处测定吸收度,按硫酸沙丁胺醇的吸收系数(E1%1cm)为59计算,即得.
2.3 体外释放度的测定
取硫酸沙丁胺醇渗透泵控释片,照《中国药典》释放度测定法和溶出度测定法〔5〕中的第三法,以蒸馏水100 mL为溶出介质,转速为50 r/min,分别在第1、2、3、4、5、6、7、8、9、10、11和12 h取样5 mL(及时补充蒸馏水5 mL),过滤,取续滤液,以蒸馏水为空白,在276 nm的波长处测定吸收度,按硫酸沙丁胺醇的吸收系数(E1%1cm)为59计算释放量,求得体外释放度.
, http://www.100md.com
2.4 处方筛选与优化
在预实验和总结大量文献资料的基础上,确定影响渗透泵制剂释药过程的主要因素为包衣膜的厚度(以片芯增重表示)、包衣液中HPMC和PEG 1500的用量.因此,将片芯组成和释药孔径固定选用三因素六水平均匀设计制备渗透泵片,测定各处方的体外释放度,将8 h内药物释放度对释放时间进行线性回归,以回归直线的相关系数为评价指标,对上述各因素的影响进行了考察,并对实验结果进行统计分析.实验因素水平的划分以及实验结果见表1、2.
Tab.1 The experimental design of salbutamol sulfate osmotic pump controlled release tablets Factors
Levels
1
, http://www.100md.com 2
3
4
5
6
Tablet weight gain/X1,mg/tablet
2.00
3.00
4.00
5.00
6.00
7.00
HPMC/X2,g/L
, http://www.100md.com
3.00
4.00
5.00
6.00
7.00
8.00
PEG1500/X3,g/L
2.00
2.50
3.00
3.50
4.00
, 百拇医药 4.50
Tab.2 The results of the experiments Formulation
Factors
t
Tablet weight gain X1,mg/tablet
HPMC X2,g/L
PEG1500 X3,g/L
1
2.00
4.00
, http://www.100md.com
3.00
0.658 6
2
3.00
6.00
4.50
0.882 2
3
4.00
8.00
2.50
0.978 1
4
, http://www.100md.com
5.00
3.00
4.00
0.954 4
5
6.00
5.00
2.00
0.980 0
6
7.00
7.00
3.50
, http://www.100md.com
0.980 7
对实验结果进行多元回归分析,得回归方程:Y=0.164 2+0.292 5.X1-0.036 7.X3-0.026 8.X21+0.024 1.X2.X3.回归方程的相关系数及F值分别为r=0.999 9,F=1 497.63.经结果优化得最佳处方为包衣膜厚度(以片芯增重表增):5.54 mg;HPMC:7.98 g/L;PEG 1500 4.5g/L.按照最佳处方制备硫酸沙丁胺醇渗透泵控释片,照释放度测定方法,测定体外释放度,3批制剂体外释放度结果见表3.由实验结果可知,该制剂体外释药速率在8 h内基本恒定,平均每小时的释药量为(0.94±0.03)mg/h,呈现出良好的零级释放特征.
, 百拇医药
Tab.3 The drug release test results of the optimal formulation(n=6) t/h
Accumulative release/%
Batch 1
Batch 2
Batch 3
1
6.7
±1.3
7.9
±1.5
6.5
, http://www.100md.com
±1.9
2
13.7
±1.2
15.2
±2.6
11.7
±1.9
3
23.0
±2.3
25.9
±2.3
, 百拇医药
22.4
±1.7
4
32.8
±2.2
35.5
±2.3
32.3
±2.9
5
43.1
±1.7
45.6
, 百拇医药
±3.0
41.5
±2.1
6
53.7
±2.1
56.2
±2.3
51.0
±1.7
7
65.6
±1.6
, http://www.100md.com
68.3
±1.9
63.3
±2.2
8
78.1
±1.5
81.2
±2.2
75.9
±2.5
9
82.9
, 百拇医药
±3.1
84.6
±3.7
80.5
±1.6
10
87.0
±3.5
87.8
±4.1
83.4
±2.6
11
, 百拇医药
90.3
±2.2
90.9
±3.0
87.3
±2.2
12
92.1
±2.6
93.4
±3.0
90.7
±2.6
, 百拇医药
2.5 释放机理的考察
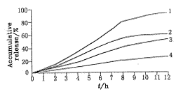
根据公式Ⅱ=Ⅱ0.Φ可以近似地计算各种浓度氯化钠溶液的渗透压〔6〕.其中Ⅱ0=CRT,C为浓度,R为气体常数,T为热力学温度.Φ为氯化钠的摩尔渗透系数,当氯化钠浓度为1 mol/L、2 mol/L、4 mol/L时,Φ分别为0.936 3、0.978 6和1.116 8,饱和氯化钠的Φ值为1.298 7〔7〕.计算结果见表4.为考察本制剂的释放机理,以不同浓度氯化钠溶液为释放介质.照释放度测定法,测定硫酸沙丁胺醇渗透泵控释片在各种释放介质中的释放曲线,考察包衣膜内外渗透压差对释药过程的影响.累计释放曲线见图1.结果表明,本制剂的释药速度随包衣膜内外渗透压差的减小而减小,渗透压差是该制剂的主要释放动力.
Tab.4 The osmotic pressure of different drug release mediums at 37℃ drug release
, 百拇医药
medium
Osmotic
pressure/MPa
The osmotic pressure
difference/MPa
Distilled water
0
15.63
CNaCl/1mol.L-1
2.57
, 百拇医药
13.06
CNaCl/2mol.L-1
5.15
10.48
CNaCl/4mol.L-1
10.29
5.34
Fig.1 The drug release profile in different drug release mediums
, http://www.100md.com
1—distilled water; 2—CNaCl/1 mol.L-1;
3—CNaCl/2 mol*L-1; 4—CNaCl/4 mol.L-1
3 讨论
a.在初步筛选处方时,综合考虑片芯和包衣膜的组成对药物释放的影响.本制剂的片芯中除含有渗透促进剂氯化钠外,尚含有PVP和CMC-Na等高分子物质作为粘合剂.这些物质在水分存在的条件下会发生溶胀,使片芯崩解,造成包衣膜破裂.因此,片芯中粘合剂的量须控制在一定范围内.包衣膜的组成及其性质是药物释放的主要因素.有足够量的水分通过包衣膜透入片芯,是本制剂释药的前提条件.包衣膜的组成不同,对水分的通透性也不同.所以,作者对包衣膜的组成进行优化,筛选出最佳的处方组成.包衣膜的厚度、均匀度以及韧性、抗张强度等性质对于控制药物释放以及保证用药的安全性具有重要意义.将包衣膜从包衣片的表面剥下,用螺旋测微仪测定不同点的厚度(至少30点),可以求得包衣膜的厚度以及包衣的均匀程度.包衣膜的韧性以及抗张强度与包衣材料有关,可以制备包衣材料的游离膜,利用拉伸实验测定游离膜的力学性质,从而为处方设计奠定基础〔8〕.
, 百拇医药
b.本控释片预期每日服用2次,参照Glaxo公司产品全特宁
(硫酸沙丁胺醇渗透泵片)体外释放度的测定结果,规定本品8 h的释放度应在70%以上,并在8 h内维持零级释放.根据标示含量,前8 h每小时预期释放速度为0.85 mg/h以上.与实验结果(0.94±0.03)mg/h较为接近.
c.口服渗透泵制剂的释药速率遵从公式dm/dt=(AS/h)σLpΔπ〔9〕,其中,dm/dt为药物的释放速度(mg/s),A为片芯的表面积(cm2),S是药物的溶解度(mg/mL),h为包衣膜的厚度(cm),σ为包衣膜对药物的反射系数,Lp是包衣膜对水分的渗透系数(cm2/s.MPa),Δπ为包衣膜内外的渗透压差(MPa).当释放介质的渗透压有所改变时,Δπ将改变,导致本制剂的释放速度改变.
, 百拇医药
d.渗透泵制剂以零级释放为特征,我们初步提出利用下述公式来评价零级释药或近似 零级释药过程:FI=[2(Mmax-Mmin)]/[t(Mmax+Mmin)].其中,FI为波动指数(fluctuation index),t为维持零级或近似零级释放的时间,Mmax和Mmin分别为t时间内每小时最大与最小释放量.FI越小,则制剂在t时间内越接近于零级释放.作者经均设计筛选出的最佳处方3个批号产品的FI值分别为0.088、0.076、0.080.因此,可以看出本制剂良好的零级释放趋势.
1国家“九.五”攻关项目
参考文献
1 Theeuwes F.OROS
osmotic system development.Drug Dew Ind Pharm,1983,9(7):1331~1357
, 百拇医药
2 侯惠民,顾卫国,张美森,等.盐酸氯丙嗪控释片的制备与体外释药.医药工业,1988,19(8):355~388
3 曹德英,张立得,李伟,等.氨茶碱渗透泵片剂的研制.中国医药杂志,1991,26(7):409~411
4 中华人民共和国卫生部药典委员会.中华人民共和国药典:二部.北京:化学工业出版社,1995.18~19
5 中华人民共和国卫生部药典委员会.中华人民共和国药典:二部.北京:化学工业出版社,1995,66~69
6 Zenter GM,Rork GS,Himmelstein KJ.Osmitic flow through controlled porosity films:an approach to delivery of water soluble compounds.J Controlled Rel,1985,2(1):217~229
, 百拇医药
7 Scatchard G,Hamer WJ,Wood SE.Isotonic solutions.1.the chemical potential of water in aqueous o sodium chloride,potassium chloride,sulfuric acid,sucrose,urea and glycerol at 25 ℃.J Amer Chem Soc,1938,60(3):3061~3070
8 Guo JH.Effect of plasticiers on water permeation and mechanical properties of cellulose acetate:antiplasticization in slightly plasticized polymer film.Drug Dev Ind Pharm,1993,19(3):1541~1555
9 Shinji N,Eiji F,Hiroyuki Y,et al.Porosity-controlled ethylc ellulose film coating V mechanism of drug release from beads coated with porous ethylcellulose film.Chem Pharm Bull,1994,42(10):2131~2134
收稿日期:1998-07-15, 百拇医药
单位:沈阳药科大学药学系, 沈阳 110015
关键词:硫酸沙丁胺醇;渗透泵;均匀设计;释放度
沈阳药科大学学报990201 摘 要 通过均匀设计优化出硫酸沙丁胺醇口服渗透泵控释片的处方,并且考察了该制剂的释药机理.结果表明:该制剂遵从以渗透压差为释药动力的渗透泵式释药模式,体外释药速度平稳,在8 h内呈现良好的零级释放特征.
分类号 R94
The Preparation and Drug Release Test of Salbutamol Sulfate Oral Osmotic Pump Controlled Release Tablets
, 百拇医药
Wu Tao,Pan Weisan,Zhuang Dianyou,Chen Jimin,Zhang Ruhua
Department of Pharmacy,Shenyang Pharmaceutical University,Shenyang 11005
Abstract The optimal formulaton of salbutamol sulfate oral osmotic Controlled release pump tablets was selected by employing uniform design and the drug release mechanism was investigated.The results indicated that the preparation had excellent character of zero-order release and conformed to the osmotic release model.
, 百拇医药
Key words salbutamol sulfate;osmotic pump;uniform design;drug release
控释制剂的研究与开发是现代药物制剂学的发展方向之一,在过去的20年中,国内外对控释制剂进行了广泛而深入的研究,其中口服渗透泵(Oral Osmotic Pump)制剂以其独特的释药方式和平稳的释药速度而成为控释制剂的典型代表,它不仅能够使血药浓度较长时间地维持在有效范围内,而且避免了普通口服制剂造成的血药浓度波动较大的现象,极大地提高了药物的安全性和有效性〔1〕.国外在20世纪70年代中期开始对口服渗透泵制剂进行系统的研究并迅速从基础理论研究过渡到实用阶段,美国Alza公司、英国Glaxo公司以及德国Bayer公司在此方面取得一定的成果,目前已有硫酸沙丁胺醇渗透泵片、硝苯地平渗透泵片等产品上市,并凭借其平稳的释药速度和血药浓度波动小的特点而获得良好的治疗效果.国内关于渗透泵研究的报道较少〔2,3〕,尚无成型产品上市.作者以硫酸沙丁胺醇作为模型药物,在大量预试验的基础上采用均匀设计对处方进行优化,并对硫酸沙丁胺醇渗透泵制剂体外释放度和释药机理进行了考察.
, http://www.100md.com
1 仪器与药品
ZRCD6-B型药物溶出度测定仪(上海黄海药检仪器厂);KJ-1型控释片剂激光打孔机(中国药科大学);UV-260型紫外可见分光光度计(日本岛津制作所).
硫酸沙丁胺醇(天津力生制药厂);聚维酮K30(PVP河南开源药厂,卫生部标准 WS194(X-162)-94);羧甲基纤维素钠(CMC-Na,沈阳化学试剂厂,实验试剂2%水溶液粘度为0.8~1.2 Pa.s);氯化钠(青岛第二制药厂,《中国药典》1995版);羟丙基甲基纤维素(HPMC,山东肥城瑞泰化工有限公司,2%水溶液粘度为0.05 Pa.s);聚乙二醇1500(PEG1500,上海化学试剂采购供应站,平均相对分子质量为1 300~1 700);醋酸纤维素(乙酰化率39.8%,美国Eastman公司,《美国药典》23版);硬脂酸镁(化学纯,上海药用辅料厂);蒸馏水;二氯甲烷、甲醇,乙醇等试剂皆为分析纯.
, http://www.100md.com
2 方法与结果
2.1 硫酸沙丁胺醇渗透泵控释片的制备
将硫酸沙丁胺醇与氯化钠、PVP及CMC-Na分别过40目筛后混匀,加入75%乙醇制软材,过20目筛后制粒,40 ℃干燥12 h,18目筛整粒,加入适量硬脂酸镁,混匀压片,即得片芯.醋酸纤维素、HPMC、PEG1500溶解于二氯甲烷和甲醇的混合溶媒中,混合均匀,即得包衣溶液.将片芯置于包衣锅内,吹入热空气,待温度为50 ℃后,进行包衣.包衣液输入速度为0.6 mL/s,压力为24.4 kPa,包衣锅内温度为40 ℃,直至片芯外包衣膜的厚度达到预定标准时为止,继续吹入热空气0.5 h,然后将包衣片在干燥箱中40 ℃下干燥48 h.取上述干燥完毕的包衣片,用KJ-1型控释片剂激光打孔机在包衣外膜一侧上打成孔径为0.4 mm的小孔,即得硫酸沙丁胺醇渗透泵控释片.
2.2 含量测定
, 百拇医药
取硫酸沙丁胺醇渗透泵控释片10片,除去包衣膜,精密称定,研细,精密称取适量(约相当于1片质量),置于100 mL量瓶中,加水50 mL,振摇使硫酸沙丁胺醇溶解,加水稀释至刻度,摇匀,过滤,取续滤液,照《中国药典》紫外分光光度法〔4〕在276 nm的波长处测定吸收度,按硫酸沙丁胺醇的吸收系数(E1%1cm)为59计算,即得.
2.3 体外释放度的测定
取硫酸沙丁胺醇渗透泵控释片,照《中国药典》释放度测定法和溶出度测定法〔5〕中的第三法,以蒸馏水100 mL为溶出介质,转速为50 r/min,分别在第1、2、3、4、5、6、7、8、9、10、11和12 h取样5 mL(及时补充蒸馏水5 mL),过滤,取续滤液,以蒸馏水为空白,在276 nm的波长处测定吸收度,按硫酸沙丁胺醇的吸收系数(E1%1cm)为59计算释放量,求得体外释放度.
, http://www.100md.com
2.4 处方筛选与优化
在预实验和总结大量文献资料的基础上,确定影响渗透泵制剂释药过程的主要因素为包衣膜的厚度(以片芯增重表示)、包衣液中HPMC和PEG 1500的用量.因此,将片芯组成和释药孔径固定选用三因素六水平均匀设计制备渗透泵片,测定各处方的体外释放度,将8 h内药物释放度对释放时间进行线性回归,以回归直线的相关系数为评价指标,对上述各因素的影响进行了考察,并对实验结果进行统计分析.实验因素水平的划分以及实验结果见表1、2.
Tab.1 The experimental design of salbutamol sulfate osmotic pump controlled release tablets Factors
Levels
1
, http://www.100md.com 2
3
4
5
6
Tablet weight gain/X1,mg/tablet
2.00
3.00
4.00
5.00
6.00
7.00
HPMC/X2,g/L
, http://www.100md.com
3.00
4.00
5.00
6.00
7.00
8.00
PEG1500/X3,g/L
2.00
2.50
3.00
3.50
4.00
, 百拇医药 4.50
Tab.2 The results of the experiments Formulation
Factors
t
Tablet weight gain X1,mg/tablet
HPMC X2,g/L
PEG1500 X3,g/L
1
2.00
4.00
, http://www.100md.com
3.00
0.658 6
2
3.00
6.00
4.50
0.882 2
3
4.00
8.00
2.50
0.978 1
4
, http://www.100md.com
5.00
3.00
4.00
0.954 4
5
6.00
5.00
2.00
0.980 0
6
7.00
7.00
3.50
, http://www.100md.com
0.980 7
对实验结果进行多元回归分析,得回归方程:Y=0.164 2+0.292 5.X1-0.036 7.X3-0.026 8.X21+0.024 1.X2.X3.回归方程的相关系数及F值分别为r=0.999 9,F=1 497.63.经结果优化得最佳处方为包衣膜厚度(以片芯增重表增):5.54 mg;HPMC:7.98 g/L;PEG 1500 4.5g/L.按照最佳处方制备硫酸沙丁胺醇渗透泵控释片,照释放度测定方法,测定体外释放度,3批制剂体外释放度结果见表3.由实验结果可知,该制剂体外释药速率在8 h内基本恒定,平均每小时的释药量为(0.94±0.03)mg/h,呈现出良好的零级释放特征.
, 百拇医药
Tab.3 The drug release test results of the optimal formulation(n=6) t/h
Accumulative release/%
Batch 1
Batch 2
Batch 3
1
6.7
±1.3
7.9
±1.5
6.5
, http://www.100md.com
±1.9
2
13.7
±1.2
15.2
±2.6
11.7
±1.9
3
23.0
±2.3
25.9
±2.3
, 百拇医药
22.4
±1.7
4
32.8
±2.2
35.5
±2.3
32.3
±2.9
5
43.1
±1.7
45.6
, 百拇医药
±3.0
41.5
±2.1
6
53.7
±2.1
56.2
±2.3
51.0
±1.7
7
65.6
±1.6
, http://www.100md.com
68.3
±1.9
63.3
±2.2
8
78.1
±1.5
81.2
±2.2
75.9
±2.5
9
82.9
, 百拇医药
±3.1
84.6
±3.7
80.5
±1.6
10
87.0
±3.5
87.8
±4.1
83.4
±2.6
11
, 百拇医药
90.3
±2.2
90.9
±3.0
87.3
±2.2
12
92.1
±2.6
93.4
±3.0
90.7
±2.6
, 百拇医药
2.5 释放机理的考察
根据公式Ⅱ=Ⅱ0.Φ可以近似地计算各种浓度氯化钠溶液的渗透压〔6〕.其中Ⅱ0=CRT,C为浓度,R为气体常数,T为热力学温度.Φ为氯化钠的摩尔渗透系数,当氯化钠浓度为1 mol/L、2 mol/L、4 mol/L时,Φ分别为0.936 3、0.978 6和1.116 8,饱和氯化钠的Φ值为1.298 7〔7〕.计算结果见表4.为考察本制剂的释放机理,以不同浓度氯化钠溶液为释放介质.照释放度测定法,测定硫酸沙丁胺醇渗透泵控释片在各种释放介质中的释放曲线,考察包衣膜内外渗透压差对释药过程的影响.累计释放曲线见图1.结果表明,本制剂的释药速度随包衣膜内外渗透压差的减小而减小,渗透压差是该制剂的主要释放动力.
Tab.4 The osmotic pressure of different drug release mediums at 37℃ drug release
, 百拇医药
medium
Osmotic
pressure/MPa
The osmotic pressure
difference/MPa
Distilled water
0
15.63
CNaCl/1mol.L-1
2.57
, 百拇医药
13.06
CNaCl/2mol.L-1
5.15
10.48
CNaCl/4mol.L-1
10.29
5.34
Fig.1 The drug release profile in different drug release mediums
, http://www.100md.com
1—distilled water; 2—CNaCl/1 mol.L-1;
3—CNaCl/2 mol*L-1; 4—CNaCl/4 mol.L-1
3 讨论
a.在初步筛选处方时,综合考虑片芯和包衣膜的组成对药物释放的影响.本制剂的片芯中除含有渗透促进剂氯化钠外,尚含有PVP和CMC-Na等高分子物质作为粘合剂.这些物质在水分存在的条件下会发生溶胀,使片芯崩解,造成包衣膜破裂.因此,片芯中粘合剂的量须控制在一定范围内.包衣膜的组成及其性质是药物释放的主要因素.有足够量的水分通过包衣膜透入片芯,是本制剂释药的前提条件.包衣膜的组成不同,对水分的通透性也不同.所以,作者对包衣膜的组成进行优化,筛选出最佳的处方组成.包衣膜的厚度、均匀度以及韧性、抗张强度等性质对于控制药物释放以及保证用药的安全性具有重要意义.将包衣膜从包衣片的表面剥下,用螺旋测微仪测定不同点的厚度(至少30点),可以求得包衣膜的厚度以及包衣的均匀程度.包衣膜的韧性以及抗张强度与包衣材料有关,可以制备包衣材料的游离膜,利用拉伸实验测定游离膜的力学性质,从而为处方设计奠定基础〔8〕.
, 百拇医药
b.本控释片预期每日服用2次,参照Glaxo公司产品全特宁
c.口服渗透泵制剂的释药速率遵从公式dm/dt=(AS/h)σLpΔπ〔9〕,其中,dm/dt为药物的释放速度(mg/s),A为片芯的表面积(cm2),S是药物的溶解度(mg/mL),h为包衣膜的厚度(cm),σ为包衣膜对药物的反射系数,Lp是包衣膜对水分的渗透系数(cm2/s.MPa),Δπ为包衣膜内外的渗透压差(MPa).当释放介质的渗透压有所改变时,Δπ将改变,导致本制剂的释放速度改变.
, 百拇医药
d.渗透泵制剂以零级释放为特征,我们初步提出利用下述公式来评价零级释药或近似 零级释药过程:FI=[2(Mmax-Mmin)]/[t(Mmax+Mmin)].其中,FI为波动指数(fluctuation index),t为维持零级或近似零级释放的时间,Mmax和Mmin分别为t时间内每小时最大与最小释放量.FI越小,则制剂在t时间内越接近于零级释放.作者经均设计筛选出的最佳处方3个批号产品的FI值分别为0.088、0.076、0.080.因此,可以看出本制剂良好的零级释放趋势.
1国家“九.五”攻关项目
参考文献
1 Theeuwes F.OROS
, 百拇医药
2 侯惠民,顾卫国,张美森,等.盐酸氯丙嗪控释片的制备与体外释药.医药工业,1988,19(8):355~388
3 曹德英,张立得,李伟,等.氨茶碱渗透泵片剂的研制.中国医药杂志,1991,26(7):409~411
4 中华人民共和国卫生部药典委员会.中华人民共和国药典:二部.北京:化学工业出版社,1995.18~19
5 中华人民共和国卫生部药典委员会.中华人民共和国药典:二部.北京:化学工业出版社,1995,66~69
6 Zenter GM,Rork GS,Himmelstein KJ.Osmitic flow through controlled porosity films:an approach to delivery of water soluble compounds.J Controlled Rel,1985,2(1):217~229
, 百拇医药
7 Scatchard G,Hamer WJ,Wood SE.Isotonic solutions.1.the chemical potential of water in aqueous o sodium chloride,potassium chloride,sulfuric acid,sucrose,urea and glycerol at 25 ℃.J Amer Chem Soc,1938,60(3):3061~3070
8 Guo JH.Effect of plasticiers on water permeation and mechanical properties of cellulose acetate:antiplasticization in slightly plasticized polymer film.Drug Dev Ind Pharm,1993,19(3):1541~1555
9 Shinji N,Eiji F,Hiroyuki Y,et al.Porosity-controlled ethylc ellulose film coating V mechanism of drug release from beads coated with porous ethylcellulose film.Chem Pharm Bull,1994,42(10):2131~2134
收稿日期:1998-07-15, 百拇医药