阿霉素化疗与热化疗对兔毛细胞白血病VX-2细胞体外作用的比较
作者:张洪新 王执民 郭卫平 王义清 吴智群 李文献 陈江浩 关 燕
单位:第四军医大学唐都医院介入放射科(西安,710038)
关键词:阿霉素;热化疗;VX-2
癌症990312
【摘要】目的:观察比较热疗、化疗、热化疗对体外兔VX-2细胞的生长抑制规律的影响,为临床介入性热化疗提供实验数据。方法:以体外长期培养的兔VX-2细胞为靶细胞,采用水浴加温法、进行体外细胞毒试验(MTT法),观察单纯热疗,单纯化疗及热疗与化疗结合对兔VX-2细胞的生长抑制规律的影响及差别。结果:(1)温热和阿霉素对VX-2均有一定的抑制和杀伤作用,两者一定方式的联合具有协同或相加作用;(2)热化疗加热温度以42~43℃为佳,加热时间以30分钟以上为佳。结论:(1)热对化疗有增敏作用;(2)一定温度的热化疗优于单纯热疗和单纯化疗。
, 百拇医药
中图号:R7357 文献标识码:A 文章编号:1000-467X(1999)03-0276-03
Synergistic effect of combined use of hyperthermia and
adriamycin (ADM) on rabbit hairy cell line VX-2
ZHANG Hong-xin WANG Zhi-min GUO Wei-ping,et al
Department of Interventional Radiology,Tangdu Hospital,Fourth
Military Medical University, Xian 710038,China
, 百拇医药
【Abstract】 Objective:To observe the inhibition of cell growth of VX-2 with MTT assay under water-heating with ADM.Method:The hare leukemia VX-2 cell line was used in this study.The inhibiton of cell growth was observed with MTT assay under water-heating with ADM.Results:1.Both hyperthermia and ADM can inhibit or kill the VX-2 cells directly.The combination use of hyperthermia and ADM shows evidence of synergistic or additional effect.2.The optimal temperature and time of hyperthermia are 42~ 43 ℃ and 30 minutes. Conclusions:1.Hyperthermia enhanced the efficacy of chemotherapy,2.Hyperthermia of definite temperature showed better effect than those of heat or chemotherapy alone.
, 百拇医药
Key words:Adriamycin(ADM);Thermochemotherapy;Hare cell line;VX-2
热疗对肿瘤的抑制效应已广为接受,成为肿瘤治疗的一种方法[1]。热疗一般采用射频方式,操作复杂,加热时间长,病人难以接受而限制了应用。由于介入放射医学的发展,使解决这个问题成为可能,即通过导管将一定温度的热盐水或热的化疗药物注入局部肿瘤病灶,可以称之为介入性热化疗。为了制定安全合理的介入性热化疗方案,我们采用MTT比色法,研究了临床常用的阿霉素(ADM)与热疗结合对兔VX-2作用的最佳温度,最佳加热时间,及最佳组合方式,现报告如下。
1 材料与方法
1.1 细胞培养
兔VX-2由本校实验动物中心提供,按常规方法培养于含10%小牛血清的RPMI-1640全培养液中(含青霉素PC)100U/ml,链霉素(SM)100μg/ml),单层培养于37℃CO2恒温孵育箱内,用接种传代第3天的细胞(处于对数生长期)做实验。
, 百拇医药
1.2 加热处理
设37℃,40℃,41℃,42℃,43℃,44℃等6个温度点。采用水浴加热法,(数字式恒温浴槽,温度波动≤±01℃),将培养瓶浸没于水中,加热时间设0,15,30,60分钟共4组。
1.3 药物处理
阿霉素(ADM,FarmitaliaCarloErba),设0,1,2,4,8,16,32,64μg/ml等共8组,用微量进样器加药。
1.4 热药顺序
先化后热(先化疗1小时再热疗),热化同时(加热同时加药化疗1小时),先热后化(先加热后化疗1小时)
1.5 实验分组设计
按不同温度、不同加热时间、不同热化顺序和不同药物浓度4个因素设计,即组内分组设计,化疗时间统一为1小时,将实验处理过的细胞消化成细胞悬液(5×105个细胞/ml)接种到96孔板上,设3个复孔,每孔200μl(1×105个细胞/ml),以未经处理的细胞为阴性对照,以不含细胞的1640全培养液为空白对照,常规法孵育24小时后每孔加入MTT50μl,继续培养4~6小时,去上清液后加入二甲基亚砜(DMSO)100μl/孔,充分振荡5分钟,上酶联免疫检测仪,测定波长490nm每孔的光密度值(A值),计算细胞毒指数(CI)公式:
, http://www.100md.com
CI值=(1-实验孔的平均OD值/阴性对照孔的平均OD值)×100%
1.6 统计学处理
采用方差分析,Q检验。
2 结果
2.1 单纯热疗的细胞毒作用
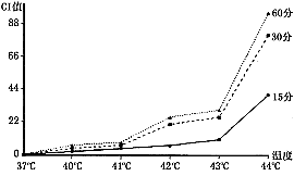
42℃30min以下较弱;43℃30min以上较强;超过44℃CI值接近100%;低于41℃30min同37℃没有明显差别(如图1)。
图1 单纯热疗
2.2 单纯化疗的细胞毒作用(常温37℃非热化疗)
, 百拇医药
2μg/ml以下较弱;超过2μg/ml则随着浓度提高而CI值明显增强,32μg/ml时CI值接近100%(如图2)。
图2 单纯化疗1小时
2.3 热疗和化疗联合的细胞毒性作用
随着温度提高,CI值增大,曲线上移,42℃以上显著(如图3);随着热疗的时间延长,CI值亦增大,曲线上移,30min以上显著(如图4);随着温度升高和时间延长,取得相同CI值所需药物浓度降低。提示浓度,温度,时间之间有一定关系(如图3,4)。
图3 不同温度化疗加热30分
, 百拇医药
图4 43℃不同时间化疗
2.4 热疗与化疗顺序的影响
同一浓度和温度下,顺序不同,CI值有所不同。同一温度下,4~16μg/ml间,先化后热与热化同时有差异(P<0.05),两者与先热后化差异显著(P<0.01),但2 μg/ml以下及32μg/ml以上差异不显著(P>0.05)。同一浓度(8μg/ml)下,42~43℃间,结果同上,但41℃以下和44℃以上差异不显著(P>0.05)(如图5,6)。
图5 43℃不同热化顺序
图6 相同浓度(μg/ml)加热30分钟不同热化顺序
, 百拇医药
3 讨论
3.1 ADM对热疗的抑制效应具有增效作用
ADM是周期非特异性药物,主要作用机制是在NA复制过程中诱导TOPOⅡ抑制剂—DNA断裂复合物的形成,引起细胞死亡或停滞于S期,G2[2]。由于ADM使大量细胞处于S期,S期对热最感[3],因此先化后热毒性作用较强,是化疗对热的增效。
3.2 高热对细胞具有明显抑制效应
高热对细胞膜具有独特作用,可改变生物膜的流动性,导致细胞浆破坏;高热能抑制细胞DNA,RNA,蛋白质的合成与修复;高热可以改变细胞膜的通透性,提高胞浆中的药物浓度。S期的细胞对热最敏感,慢性乏氧细胞对热最敏感,一定温度可引起蛋白质和DNA变性称热变性[1,4,5]。但温热必须达到一定温度对细胞才有毒性,乏氧的肿瘤细胞比正常组织细胞对热更敏感。本实验中看出单纯热疗43℃30min以上毒性较强,超过44℃VX-2细胞几乎全部死亡,即热变性作用,低于41℃、30min较弱。因此在体内应用时,既要注意温度过高对正常细胞的损伤,又要注意温度不能过低以致影响疗效。介入治疗中要尽可能超选择插管到肿瘤靶血管内。
, http://www.100md.com
3.3 热对化疗有增敏作用
42~43℃化疗作用明显强于37℃化疗如(图3,4)提示浓度、温度、时间之间存在一定关系。一定范围内,随着温度提高,达到相同CI值所需药物浓度降低,说明高热对化疗具有热增敏作用。低于这一范围,药物的毒性起主要作用,浓度越高作用越强;高于这一范围,热变性起主要作用,温度越高作用越强。一定浓度范围内,同一浓度,43℃的CI值是37℃的10倍以上,即化疗毒性增强10倍以上。
3.4 ADM热化疗
先化后热强于热化同时,后者强于先热后化。不同的药物与热疗联合的最佳顺序不同,如丝裂霉素与热和药同时应用效果最佳[6]。在本实验中发现ADM与热合用,效果依次为先化后热,热化同时,先热后化,这是由药物的机理决定的。ADM与热疗相互增敏作用机理可能为:(1)ADM使对高热敏感的S期细胞增多;(2)热疗增加细胞膜的通透性,提高细胞内的药物浓度。作者在另一研究中,通过流式细胞仪检测加热前后细胞内阿霉素荧光强度,已证实加热可提高细胞浆中的药物浓度(文章正待发表);(3)高温可使蛋白质变性,高热同样可使酶的活性受到抑制,障碍DNA的修复。
, http://www.100md.com
本实验从一定角度对VX-2的ADM热化疗规律进行了研究,下一步准备建立兔VX-2肝移植性癌模型,并以此模型为研究对象,以本实验结果为指导,研究在体热化疗的疗效,温度控制及安全性等问题,为临床介入性热化疗提供指导。
参考文献
1 Storm FK.Hyperthermia in Cancer therapy[A].G.K.Hall medical publishers Boston[M]. Massachusetts, 1983:585.
2 Tewey KM,Rowe TC,Yang L,et al.Adriamycin-induced DNA damage mediated by mammalian DNA topoisomerase Ⅱ〔J〕. Science,1984, 226:466~ 468.
3 Valdagni R .International consensus meeting on.hyperthermia:final report〔J〕.Int J Hyperthermia, 1990, 6:839-877.
, 百拇医药
4 Overgaard J,Nielsen OS.The role of tissue environmental factors on the kinetics and morphology of tumur cells exposed to hyperthermia〔J〕.Ann NY Acad Sci,1980,335:254~ 259.
5 Overgaard J,Radacic MM,Grau C.Interaction of hyperthermia and cis-diamminedichloroplatinum(Ⅱ) alone or combined with radiation in a C3H mammary carcinoma in vivo〔J〕.Cancer Res,1991,51:707~ 711.
6 Kobayashi K, Fujimoto S,Takahashi M,et al.The experimental and clinical study of hyperthermia with thermosensitizer for gastric cancer patient with peritoneal seeding 〔J〕.Gan TO Kagaku Ryoho,1992,19(10):1615~ 1620.
收稿日期:1998-05-25;修回日期:1998-10-21, 百拇医药
单位:第四军医大学唐都医院介入放射科(西安,710038)
关键词:阿霉素;热化疗;VX-2
癌症990312
【摘要】目的:观察比较热疗、化疗、热化疗对体外兔VX-2细胞的生长抑制规律的影响,为临床介入性热化疗提供实验数据。方法:以体外长期培养的兔VX-2细胞为靶细胞,采用水浴加温法、进行体外细胞毒试验(MTT法),观察单纯热疗,单纯化疗及热疗与化疗结合对兔VX-2细胞的生长抑制规律的影响及差别。结果:(1)温热和阿霉素对VX-2均有一定的抑制和杀伤作用,两者一定方式的联合具有协同或相加作用;(2)热化疗加热温度以42~43℃为佳,加热时间以30分钟以上为佳。结论:(1)热对化疗有增敏作用;(2)一定温度的热化疗优于单纯热疗和单纯化疗。
, 百拇医药
中图号:R7357 文献标识码:A 文章编号:1000-467X(1999)03-0276-03
Synergistic effect of combined use of hyperthermia and
adriamycin (ADM) on rabbit hairy cell line VX-2
ZHANG Hong-xin WANG Zhi-min GUO Wei-ping,et al
Department of Interventional Radiology,Tangdu Hospital,Fourth
Military Medical University, Xian 710038,China
, 百拇医药
【Abstract】 Objective:To observe the inhibition of cell growth of VX-2 with MTT assay under water-heating with ADM.Method:The hare leukemia VX-2 cell line was used in this study.The inhibiton of cell growth was observed with MTT assay under water-heating with ADM.Results:1.Both hyperthermia and ADM can inhibit or kill the VX-2 cells directly.The combination use of hyperthermia and ADM shows evidence of synergistic or additional effect.2.The optimal temperature and time of hyperthermia are 42~ 43 ℃ and 30 minutes. Conclusions:1.Hyperthermia enhanced the efficacy of chemotherapy,2.Hyperthermia of definite temperature showed better effect than those of heat or chemotherapy alone.
, 百拇医药
Key words:Adriamycin(ADM);Thermochemotherapy;Hare cell line;VX-2
热疗对肿瘤的抑制效应已广为接受,成为肿瘤治疗的一种方法[1]。热疗一般采用射频方式,操作复杂,加热时间长,病人难以接受而限制了应用。由于介入放射医学的发展,使解决这个问题成为可能,即通过导管将一定温度的热盐水或热的化疗药物注入局部肿瘤病灶,可以称之为介入性热化疗。为了制定安全合理的介入性热化疗方案,我们采用MTT比色法,研究了临床常用的阿霉素(ADM)与热疗结合对兔VX-2作用的最佳温度,最佳加热时间,及最佳组合方式,现报告如下。
1 材料与方法
1.1 细胞培养
兔VX-2由本校实验动物中心提供,按常规方法培养于含10%小牛血清的RPMI-1640全培养液中(含青霉素PC)100U/ml,链霉素(SM)100μg/ml),单层培养于37℃CO2恒温孵育箱内,用接种传代第3天的细胞(处于对数生长期)做实验。
, 百拇医药
1.2 加热处理
设37℃,40℃,41℃,42℃,43℃,44℃等6个温度点。采用水浴加热法,(数字式恒温浴槽,温度波动≤±01℃),将培养瓶浸没于水中,加热时间设0,15,30,60分钟共4组。
1.3 药物处理
阿霉素(ADM,FarmitaliaCarloErba),设0,1,2,4,8,16,32,64μg/ml等共8组,用微量进样器加药。
1.4 热药顺序
先化后热(先化疗1小时再热疗),热化同时(加热同时加药化疗1小时),先热后化(先加热后化疗1小时)
1.5 实验分组设计
按不同温度、不同加热时间、不同热化顺序和不同药物浓度4个因素设计,即组内分组设计,化疗时间统一为1小时,将实验处理过的细胞消化成细胞悬液(5×105个细胞/ml)接种到96孔板上,设3个复孔,每孔200μl(1×105个细胞/ml),以未经处理的细胞为阴性对照,以不含细胞的1640全培养液为空白对照,常规法孵育24小时后每孔加入MTT50μl,继续培养4~6小时,去上清液后加入二甲基亚砜(DMSO)100μl/孔,充分振荡5分钟,上酶联免疫检测仪,测定波长490nm每孔的光密度值(A值),计算细胞毒指数(CI)公式:
, http://www.100md.com
CI值=(1-实验孔的平均OD值/阴性对照孔的平均OD值)×100%
1.6 统计学处理
采用方差分析,Q检验。
2 结果
2.1 单纯热疗的细胞毒作用
42℃30min以下较弱;43℃30min以上较强;超过44℃CI值接近100%;低于41℃30min同37℃没有明显差别(如图1)。
图1 单纯热疗
2.2 单纯化疗的细胞毒作用(常温37℃非热化疗)
, 百拇医药
2μg/ml以下较弱;超过2μg/ml则随着浓度提高而CI值明显增强,32μg/ml时CI值接近100%(如图2)。
图2 单纯化疗1小时
2.3 热疗和化疗联合的细胞毒性作用
随着温度提高,CI值增大,曲线上移,42℃以上显著(如图3);随着热疗的时间延长,CI值亦增大,曲线上移,30min以上显著(如图4);随着温度升高和时间延长,取得相同CI值所需药物浓度降低。提示浓度,温度,时间之间有一定关系(如图3,4)。
图3 不同温度化疗加热30分
, 百拇医药
图4 43℃不同时间化疗
2.4 热疗与化疗顺序的影响
同一浓度和温度下,顺序不同,CI值有所不同。同一温度下,4~16μg/ml间,先化后热与热化同时有差异(P<0.05),两者与先热后化差异显著(P<0.01),但2 μg/ml以下及32μg/ml以上差异不显著(P>0.05)。同一浓度(8μg/ml)下,42~43℃间,结果同上,但41℃以下和44℃以上差异不显著(P>0.05)(如图5,6)。
图5 43℃不同热化顺序
图6 相同浓度(μg/ml)加热30分钟不同热化顺序
, 百拇医药
3 讨论
3.1 ADM对热疗的抑制效应具有增效作用
ADM是周期非特异性药物,主要作用机制是在NA复制过程中诱导TOPOⅡ抑制剂—DNA断裂复合物的形成,引起细胞死亡或停滞于S期,G2[2]。由于ADM使大量细胞处于S期,S期对热最感[3],因此先化后热毒性作用较强,是化疗对热的增效。
3.2 高热对细胞具有明显抑制效应
高热对细胞膜具有独特作用,可改变生物膜的流动性,导致细胞浆破坏;高热能抑制细胞DNA,RNA,蛋白质的合成与修复;高热可以改变细胞膜的通透性,提高胞浆中的药物浓度。S期的细胞对热最敏感,慢性乏氧细胞对热最敏感,一定温度可引起蛋白质和DNA变性称热变性[1,4,5]。但温热必须达到一定温度对细胞才有毒性,乏氧的肿瘤细胞比正常组织细胞对热更敏感。本实验中看出单纯热疗43℃30min以上毒性较强,超过44℃VX-2细胞几乎全部死亡,即热变性作用,低于41℃、30min较弱。因此在体内应用时,既要注意温度过高对正常细胞的损伤,又要注意温度不能过低以致影响疗效。介入治疗中要尽可能超选择插管到肿瘤靶血管内。
, http://www.100md.com
3.3 热对化疗有增敏作用
42~43℃化疗作用明显强于37℃化疗如(图3,4)提示浓度、温度、时间之间存在一定关系。一定范围内,随着温度提高,达到相同CI值所需药物浓度降低,说明高热对化疗具有热增敏作用。低于这一范围,药物的毒性起主要作用,浓度越高作用越强;高于这一范围,热变性起主要作用,温度越高作用越强。一定浓度范围内,同一浓度,43℃的CI值是37℃的10倍以上,即化疗毒性增强10倍以上。
3.4 ADM热化疗
先化后热强于热化同时,后者强于先热后化。不同的药物与热疗联合的最佳顺序不同,如丝裂霉素与热和药同时应用效果最佳[6]。在本实验中发现ADM与热合用,效果依次为先化后热,热化同时,先热后化,这是由药物的机理决定的。ADM与热疗相互增敏作用机理可能为:(1)ADM使对高热敏感的S期细胞增多;(2)热疗增加细胞膜的通透性,提高细胞内的药物浓度。作者在另一研究中,通过流式细胞仪检测加热前后细胞内阿霉素荧光强度,已证实加热可提高细胞浆中的药物浓度(文章正待发表);(3)高温可使蛋白质变性,高热同样可使酶的活性受到抑制,障碍DNA的修复。
, http://www.100md.com
本实验从一定角度对VX-2的ADM热化疗规律进行了研究,下一步准备建立兔VX-2肝移植性癌模型,并以此模型为研究对象,以本实验结果为指导,研究在体热化疗的疗效,温度控制及安全性等问题,为临床介入性热化疗提供指导。
参考文献
1 Storm FK.Hyperthermia in Cancer therapy[A].G.K.Hall medical publishers Boston[M]. Massachusetts, 1983:585.
2 Tewey KM,Rowe TC,Yang L,et al.Adriamycin-induced DNA damage mediated by mammalian DNA topoisomerase Ⅱ〔J〕. Science,1984, 226:466~ 468.
3 Valdagni R .International consensus meeting on.hyperthermia:final report〔J〕.Int J Hyperthermia, 1990, 6:839-877.
, 百拇医药
4 Overgaard J,Nielsen OS.The role of tissue environmental factors on the kinetics and morphology of tumur cells exposed to hyperthermia〔J〕.Ann NY Acad Sci,1980,335:254~ 259.
5 Overgaard J,Radacic MM,Grau C.Interaction of hyperthermia and cis-diamminedichloroplatinum(Ⅱ) alone or combined with radiation in a C3H mammary carcinoma in vivo〔J〕.Cancer Res,1991,51:707~ 711.
6 Kobayashi K, Fujimoto S,Takahashi M,et al.The experimental and clinical study of hyperthermia with thermosensitizer for gastric cancer patient with peritoneal seeding 〔J〕.Gan TO Kagaku Ryoho,1992,19(10):1615~ 1620.
收稿日期:1998-05-25;修回日期:1998-10-21, 百拇医药