正交函数-偏最小二乘算法及其在复方制剂分析中的应用
作者:丁德荣 颜杰 阎爱国 刘世庆
单位:丁德荣(沈阳药科大学药学系,沈阳 110015); 颜杰(沈阳药科大学药学系,沈阳 110015); 阎爱国(沈阳药科大学药学系,沈阳 110015); 刘世庆(沈阳药科大学药学系,沈阳 110015)
关键词:正交函数-偏最小二乘算法;撒痛风注射液;安替比林;水杨酸钠;咖啡因
沈阳药科大学学报000114 摘 要:提出了一种由正交函数(OF)与偏最小二乘法(PLS)相结合的正交函数-偏最小二乘算法(OF-PLS),并把它用于撒痛风注射液各组分的同时测定,与偏最小二乘法(PLS)所预测的结果进行比较,两者所测得安替比林、水杨酸钠、咖啡因的平均回收率和相对标准偏差分别为100.2%,1.6%;100.1%,0.37%;100.1%,0.96%和99.4%,2.0%;100.9%,1.2%;99.8%,1.5%.
, http://www.100md.com
分类号:R914.1
Development of Orthogonal Function-partial Least Squares and Its Application to Analysis of Compound Pharmaceutical Preparations
Ding Derong,Yan Jie,Yan Aiguo,Liu Shiqing
(Department of Pharmacy,Shenyang Pharmaceutical University,Shenyang 110015)
Abstract:A method called orthogonal function-partial least squares(OF-PLS) was proposed by combining orthogonal function(OF) with partial least squares(PLS).The method was applied to simultaneous determination of all the components in the Satongfeng Injection.The average recovery and the relative standard deviation of anodynin,sodium salicylate and caffein attained by the orthogonal function-partial least squares(OF-PLS)and by partial least squares(PLS) were 100.2%,1.6%,100.1%,0.37%,100.1%,0.96% and 99.4%,2.0%,100.9%,1.2%,99.8%,1.5%,respectively.
, 百拇医药
Key words:orthogonal function-partial least squares;Satongfeng Injection;anodynin;sodium salicylate;caffein▲
计算分光光度法已经广泛应用于复方药物制剂分析,刘世庆等曾对各种常用方法和药物多组分体系分析中的应用有过详细的报道〔1〕.为了使一些多元校正方法达到好的预测精度,有人曾用一些信号变换技术先对吸收度进行处理作为多元校正方法的输入值,如刘萍等结合导数法和因子分析测定了苯酚、间苯二酚、对苯二酚混合体系〔2〕;Prashant Bhandare等用主成分分析法与人工神经网络法相结合测定了血液中的葡萄糖含量〔3〕.本文利用正交函数具有消除干扰成分的作用,先对吸收度进行变换也就是计算正交多项式回归系数,作为偏最小二乘法的输入,形成了一种新的算法即正交函数-偏最小二乘法(OF-PLS),且把它用于实际体系的测定,得到了满意的结果.
, http://www.100md.com
1 基本原理
偏最小二乘算法(PLS)不仅对混合物量测矩阵A进行正交分解,而且对浓度矩阵C也进行正交分解,即:
A=T.P+Ev (1)
C=U.Q+Ec (2).
式中Ec,Ev为随机误差矩阵,量测矩阵A分解得到的矩阵T以及浓度矩阵C分解得到的矩阵U,分别代表了除去大部分噪声后的响应与浓度的信息.在进行正交分解时,分解A时考虑了C的信息,分解C时考虑了A的信息,即T与U有最大相关性.由Beer定律知A和C有线性关系,故T与U也有线性关系,即:
U=T.B (3).
, 百拇医药
利用上式求出系数矩阵B,由(1),(2),(3)式求得预测集样品浓度:
Cunk=Aunk.PT(P.PT)-1.B.Q (4).
正交函数是一种通过适当的数学处理以消除分光光度法定量的不相关吸收的方法.它是应用正交多项式回归系数与浓度成正比的关系而用于定量的,正交多项式系数可以说是一种变换后的吸收度,其计算公式如下:
式中A(λi)为波长λi处吸收度,P(λi)是正交多项式,可查表求得,i=N是选取的测定波长点数目,j是正交多项式的次数.
, http://www.100md.com
关于PLS法的详细算法和正交函数的详细原理见文献〔4,5〕.程序用QBASIC语言编写.
2 实验部分
2.1 仪器与试剂
DT-100电光分析天平,586计算机,日本岛津UV-2201分光光度计;安替比林、咖啡因、水杨酸钠、EDTA、焦亚硫酸钠均为药用规格.
2.2 贮备液的配制
精密称量安替比林,咖啡因,水杨酸钠各103.1、106.3、710.3 mg分别置于50、250、100 mL容量瓶中用水溶解并稀释至刻度,再精取安替比林、水杨酸钠各10 mL,咖啡因25 mL分别置于100 mL容量瓶中,用水稀释至刻度配成贮备液;再另取EDTA、焦亚硫酸钠适量配成辅料贮备液.
, http://www.100md.com
2.3 吸收曲线的绘制
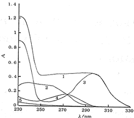
精取上述组分贮备液适量置100 mL容量瓶中用水稀释至刻度,在230~330 nm波长间经紫外扫描得吸收曲线如图1,相隔2 nm读取吸收度.在此范围内辅料吸收极弱.
Fig.1 UV spectrum
1—compound;2—anodynin;3—sodium salicylate;
4—caffein;5—excipient
2.4 线性关系考察
分别配制一系列不同浓度的安替比林、咖啡因、水杨酸钠3组分溶液,分别在各自最大吸收波长处测其吸收度,以浓度对吸收度进行回归,得安替比林在浓度2.49×10-2~5.82×10-2 mmol/L间的线性回归方程为:y=0.032+20.32x(r=0.999 8);咖啡因在浓度9.99×10-3~5.98×10-2 mmol/L间的线性回归方程为:y=-0.35+20.12x(r=0.999 9);水杨酸钠在浓度7.96×10-2~0.81 mmol/L间的线性回归方程为:y=-0.36+24.58x(r=1.0).
, http://www.100md.com
2.5 校正集的配制
按处方比例(W(安替比林)∶W(水杨酸钠)∶W(咖啡因)=7∶2∶1)取适量贮备液,根据正交设计表(L25(56)),配制成12个校正样品.
2.6 主成分数的确定
利用非线性迭代偏最小二乘法(NIPALS)分解提取主成分时,主成分数的确定颇为重要.本文用3种方法确定主成分数即特征值法、VE法、Cross证实法.特征值法〔6〕就是利用量测阵的协方差阵的相邻特征值比值最大时的特征值个数即为主成分数,本文第三和第四特征值的比值最大,故主成分数取为3;VE法〔7〕就是指残差阵E的所有元素平方和稳定时的组分数即为主成分数,本文VE的逐步计算为11.864,2.674,0.388,0.081 7,0.067 4…故主成分数也取3个;Cross证实法〔8〕就是从n个校正样品中每次依序剔除一个后将剩余的n-1个样品来求模型的参数矩阵,然后预测该被剔除的样品浓度,同已知浓度相比较,便可得其误差的平方值(PRESS),从因子数d=1开始,重复上述过程n次,最后把每个因子所对应的误差的平方值加和得总值.最佳因子数应使得其误差平方和最小,文中因子数为1、2、3、4、5所对应的误差平方和计算结果分别为125.41、13.12、0.25、0.28、1.31,故主成分数也取3个,上述3种判断方法所得结果相一致.
, http://www.100md.com
2.7 模拟回收率的测定
按处方比例取样品组分和辅料贮备液适量同校正集配制法制成5个模拟样品,分别用OFPLS法和PLS法测得结果见表1.
Tab.1 Recovery of Satongfeng injection /% No
Anodynin
Sodium salicylate
Caffein
OF-PLS
PLS
OF-PLS
PLS
, 百拇医药
OF-PLS
PLS
1
100.0
98.6
100.0
101.7
99.1
98.4
2
101.8
100.2
99.8
, 百拇医药
99.4
99.8
100.2
3
97.6
96.6
100.3
99.9
400.4
99.1
4
100.8
102.0
, 百拇医药
99.7
101.0
101.6
102.1
5
100.8
99.5
100.6
102.3
100.1
99.0
MR
100.2
, 百拇医药
99.4
100.1
100.9
100.1
99.8
RSD
1.6
2.0
0.37
1.2
0.96
1.5
MR i.e.mean recovery ratio3 讨论
, 百拇医药
a.正交函数具有提高分辨率,起一定的数据平滑作用,从而可提高预测准确度、精确度,加快预测速度,从表1可知,OF-PLS法较优.
b.把正交函数应用于全光谱作为一种信号变换技术就不必考虑中间波长等参数的选定,但求多项式系数选取的测定波长点数目(N)和正交多项式次数(j)随组分光谱形状而定,可参阅文献〔5〕.■
参考文献:
[1]Liu Shiqing,Wang Weiwen.A study on the applicability on multicomponent calibration methods in chemometrics.Chemometrics and Intelligent Laboratory Systems,1999,45:131~145
[2]刘萍,苏跃增.因子分析-导数光度法同时测定苯酚、间苯二酚、对苯二酚混合体系的比较.分析实验室,1999,18(1):50~53
, 百拇医药
[3]Prashant B,Yitzhak M,Robert A.Multivariate determination of glucose in whole blood using partial least-Spuares and artificial neural networks based on mid-infrared spectroscopy.Applied Spectroscopy,1993,47(8):1214~1221
[4]Otte M,Wegscheider W.Spectrophotometric multicomponent analysis applied to trace metal deteminations.Anal Chem,1985,57:63
[5]刘世庆.正交多项式分光光度法及其在药物定量分析中的应用.沈阳药学院学报,1985,2(3):242~254
, http://www.100md.com
[6]刘世庆.因子分析分光光度法及其应用研究.沈阳药学院学报,1990,7(2):88~99
[7]倪永年,陈肖东.主成分分析-分光光度法同时测定钨、钼、锡、钛四组分体系.分析化学,1990,18(7):618~622
[8]Wold S.Cross-validation estimation of the number of component in factor and principal components models.Technometrics,1978,20(4):397
收稿日期:1999-04-28, http://www.100md.com
单位:丁德荣(沈阳药科大学药学系,沈阳 110015); 颜杰(沈阳药科大学药学系,沈阳 110015); 阎爱国(沈阳药科大学药学系,沈阳 110015); 刘世庆(沈阳药科大学药学系,沈阳 110015)
关键词:正交函数-偏最小二乘算法;撒痛风注射液;安替比林;水杨酸钠;咖啡因
沈阳药科大学学报000114 摘 要:提出了一种由正交函数(OF)与偏最小二乘法(PLS)相结合的正交函数-偏最小二乘算法(OF-PLS),并把它用于撒痛风注射液各组分的同时测定,与偏最小二乘法(PLS)所预测的结果进行比较,两者所测得安替比林、水杨酸钠、咖啡因的平均回收率和相对标准偏差分别为100.2%,1.6%;100.1%,0.37%;100.1%,0.96%和99.4%,2.0%;100.9%,1.2%;99.8%,1.5%.
, http://www.100md.com
分类号:R914.1
Development of Orthogonal Function-partial Least Squares and Its Application to Analysis of Compound Pharmaceutical Preparations
Ding Derong,Yan Jie,Yan Aiguo,Liu Shiqing
(Department of Pharmacy,Shenyang Pharmaceutical University,Shenyang 110015)
Abstract:A method called orthogonal function-partial least squares(OF-PLS) was proposed by combining orthogonal function(OF) with partial least squares(PLS).The method was applied to simultaneous determination of all the components in the Satongfeng Injection.The average recovery and the relative standard deviation of anodynin,sodium salicylate and caffein attained by the orthogonal function-partial least squares(OF-PLS)and by partial least squares(PLS) were 100.2%,1.6%,100.1%,0.37%,100.1%,0.96% and 99.4%,2.0%,100.9%,1.2%,99.8%,1.5%,respectively.
, 百拇医药
Key words:orthogonal function-partial least squares;Satongfeng Injection;anodynin;sodium salicylate;caffein▲
计算分光光度法已经广泛应用于复方药物制剂分析,刘世庆等曾对各种常用方法和药物多组分体系分析中的应用有过详细的报道〔1〕.为了使一些多元校正方法达到好的预测精度,有人曾用一些信号变换技术先对吸收度进行处理作为多元校正方法的输入值,如刘萍等结合导数法和因子分析测定了苯酚、间苯二酚、对苯二酚混合体系〔2〕;Prashant Bhandare等用主成分分析法与人工神经网络法相结合测定了血液中的葡萄糖含量〔3〕.本文利用正交函数具有消除干扰成分的作用,先对吸收度进行变换也就是计算正交多项式回归系数,作为偏最小二乘法的输入,形成了一种新的算法即正交函数-偏最小二乘法(OF-PLS),且把它用于实际体系的测定,得到了满意的结果.
, http://www.100md.com
1 基本原理
偏最小二乘算法(PLS)不仅对混合物量测矩阵A进行正交分解,而且对浓度矩阵C也进行正交分解,即:
A=T.P+Ev (1)
C=U.Q+Ec (2).
式中Ec,Ev为随机误差矩阵,量测矩阵A分解得到的矩阵T以及浓度矩阵C分解得到的矩阵U,分别代表了除去大部分噪声后的响应与浓度的信息.在进行正交分解时,分解A时考虑了C的信息,分解C时考虑了A的信息,即T与U有最大相关性.由Beer定律知A和C有线性关系,故T与U也有线性关系,即:
U=T.B (3).
, 百拇医药
利用上式求出系数矩阵B,由(1),(2),(3)式求得预测集样品浓度:
Cunk=Aunk.PT(P.PT)-1.B.Q (4).
正交函数是一种通过适当的数学处理以消除分光光度法定量的不相关吸收的方法.它是应用正交多项式回归系数与浓度成正比的关系而用于定量的,正交多项式系数可以说是一种变换后的吸收度,其计算公式如下:
式中A(λi)为波长λi处吸收度,P(λi)是正交多项式,可查表求得,i=N是选取的测定波长点数目,j是正交多项式的次数.
, http://www.100md.com
关于PLS法的详细算法和正交函数的详细原理见文献〔4,5〕.程序用QBASIC语言编写.
2 实验部分
2.1 仪器与试剂
DT-100电光分析天平,586计算机,日本岛津UV-2201分光光度计;安替比林、咖啡因、水杨酸钠、EDTA、焦亚硫酸钠均为药用规格.
2.2 贮备液的配制
精密称量安替比林,咖啡因,水杨酸钠各103.1、106.3、710.3 mg分别置于50、250、100 mL容量瓶中用水溶解并稀释至刻度,再精取安替比林、水杨酸钠各10 mL,咖啡因25 mL分别置于100 mL容量瓶中,用水稀释至刻度配成贮备液;再另取EDTA、焦亚硫酸钠适量配成辅料贮备液.
, http://www.100md.com
2.3 吸收曲线的绘制
精取上述组分贮备液适量置100 mL容量瓶中用水稀释至刻度,在230~330 nm波长间经紫外扫描得吸收曲线如图1,相隔2 nm读取吸收度.在此范围内辅料吸收极弱.
Fig.1 UV spectrum
1—compound;2—anodynin;3—sodium salicylate;
4—caffein;5—excipient
2.4 线性关系考察
分别配制一系列不同浓度的安替比林、咖啡因、水杨酸钠3组分溶液,分别在各自最大吸收波长处测其吸收度,以浓度对吸收度进行回归,得安替比林在浓度2.49×10-2~5.82×10-2 mmol/L间的线性回归方程为:y=0.032+20.32x(r=0.999 8);咖啡因在浓度9.99×10-3~5.98×10-2 mmol/L间的线性回归方程为:y=-0.35+20.12x(r=0.999 9);水杨酸钠在浓度7.96×10-2~0.81 mmol/L间的线性回归方程为:y=-0.36+24.58x(r=1.0).
, http://www.100md.com
2.5 校正集的配制
按处方比例(W(安替比林)∶W(水杨酸钠)∶W(咖啡因)=7∶2∶1)取适量贮备液,根据正交设计表(L25(56)),配制成12个校正样品.
2.6 主成分数的确定
利用非线性迭代偏最小二乘法(NIPALS)分解提取主成分时,主成分数的确定颇为重要.本文用3种方法确定主成分数即特征值法、VE法、Cross证实法.特征值法〔6〕就是利用量测阵的协方差阵的相邻特征值比值最大时的特征值个数即为主成分数,本文第三和第四特征值的比值最大,故主成分数取为3;VE法〔7〕就是指残差阵E的所有元素平方和稳定时的组分数即为主成分数,本文VE的逐步计算为11.864,2.674,0.388,0.081 7,0.067 4…故主成分数也取3个;Cross证实法〔8〕就是从n个校正样品中每次依序剔除一个后将剩余的n-1个样品来求模型的参数矩阵,然后预测该被剔除的样品浓度,同已知浓度相比较,便可得其误差的平方值(PRESS),从因子数d=1开始,重复上述过程n次,最后把每个因子所对应的误差的平方值加和得总值.最佳因子数应使得其误差平方和最小,文中因子数为1、2、3、4、5所对应的误差平方和计算结果分别为125.41、13.12、0.25、0.28、1.31,故主成分数也取3个,上述3种判断方法所得结果相一致.
, http://www.100md.com
2.7 模拟回收率的测定
按处方比例取样品组分和辅料贮备液适量同校正集配制法制成5个模拟样品,分别用OFPLS法和PLS法测得结果见表1.
Tab.1 Recovery of Satongfeng injection /% No
Anodynin
Sodium salicylate
Caffein
OF-PLS
PLS
OF-PLS
PLS
, 百拇医药
OF-PLS
PLS
1
100.0
98.6
100.0
101.7
99.1
98.4
2
101.8
100.2
99.8
, 百拇医药
99.4
99.8
100.2
3
97.6
96.6
100.3
99.9
400.4
99.1
4
100.8
102.0
, 百拇医药
99.7
101.0
101.6
102.1
5
100.8
99.5
100.6
102.3
100.1
99.0
MR
100.2
, 百拇医药
99.4
100.1
100.9
100.1
99.8
RSD
1.6
2.0
0.37
1.2
0.96
1.5
MR i.e.mean recovery ratio3 讨论
, 百拇医药
a.正交函数具有提高分辨率,起一定的数据平滑作用,从而可提高预测准确度、精确度,加快预测速度,从表1可知,OF-PLS法较优.
b.把正交函数应用于全光谱作为一种信号变换技术就不必考虑中间波长等参数的选定,但求多项式系数选取的测定波长点数目(N)和正交多项式次数(j)随组分光谱形状而定,可参阅文献〔5〕.■
参考文献:
[1]Liu Shiqing,Wang Weiwen.A study on the applicability on multicomponent calibration methods in chemometrics.Chemometrics and Intelligent Laboratory Systems,1999,45:131~145
[2]刘萍,苏跃增.因子分析-导数光度法同时测定苯酚、间苯二酚、对苯二酚混合体系的比较.分析实验室,1999,18(1):50~53
, 百拇医药
[3]Prashant B,Yitzhak M,Robert A.Multivariate determination of glucose in whole blood using partial least-Spuares and artificial neural networks based on mid-infrared spectroscopy.Applied Spectroscopy,1993,47(8):1214~1221
[4]Otte M,Wegscheider W.Spectrophotometric multicomponent analysis applied to trace metal deteminations.Anal Chem,1985,57:63
[5]刘世庆.正交多项式分光光度法及其在药物定量分析中的应用.沈阳药学院学报,1985,2(3):242~254
, http://www.100md.com
[6]刘世庆.因子分析分光光度法及其应用研究.沈阳药学院学报,1990,7(2):88~99
[7]倪永年,陈肖东.主成分分析-分光光度法同时测定钨、钼、锡、钛四组分体系.分析化学,1990,18(7):618~622
[8]Wold S.Cross-validation estimation of the number of component in factor and principal components models.Technometrics,1978,20(4):397
收稿日期:1999-04-28, http://www.100md.com