电流密度和pH对奥旦西酮体外离子导入的影响
作者:丁平田 魏刚 卞生杰 郑俊民
单位:沈阳药科大学药学系,沈阳 110015
关键词:奥旦西酮;离子导入;电流密度;pH
沈阳药科大学学报000301 摘 要 以小鼠全皮为渗透屏障膜,考察了电流密度和pH对奥旦西酮体外离子导入的影响.在实验电流范围内,药物的稳态流量与电流密度呈正比,但不是严格的线性关系;稳态流量与pH的关系图呈“S”型,因为pH的变化导致了药物解离度的改变.
分类号 R94
The Effects of Current Density and pH on the Iontophoresis of Ondansetron in vitro
Ding Pingtian,Wei Gang,Bian Shengjie,Zheng Junmin
, 百拇医药
Department of Pharmacy,Shenyang Pharmaceutical University,Shenyang 110015
Abstract The effects of current density and pH on the iontophoresis of ondansetron(ON)across the full thickness of a mouse′ skin were studied.The steady state flux of ON rose proportionally as the current density applied across the skin was increased in the current density range of 0.05~0.3 mA/cm2.However,there was no strict linear relationship.The profile of the relationship between the state flux and the pH was an“S” type,as a result of that the ionization degree could be controlled by the change of pH.
, 百拇医药
Key words ondansetron;iontophoresis;current density;pH
离子导入法是一种强有力的透皮给药手段,它是应用适当大小的直流电而增加药物分子透过皮肤进入组织的方法.与传统的透皮给药方法相比,它大大增强了药物,特别是离子型药物以及多肽类大分子的渗透量.在电场的作用下,亦可以增加非解离型药物的经皮转运,乃至增强水分子通过皮肤的渗透量.应用离子导入手段还可以通过调节电流的大小控制药物透皮吸收的速度〔1,2〕.
研究离子导入的影响因素具有重要的意义,可以为离子导入的深入研究提供依据.本文考察了电流密度和pH对模型药物奥旦西酮(ondansetron,ON)体外离子导入的影响.
1 材料与仪器
ON(纯度>99.0%,本校药化实验室提供);0.9%(w/v)氯化钠注射液(沈阳志鹰制药厂);铂电极(纯度>99.9%,3 cm×0.3 cm);银电极(纯度>99.9%,4×0.5 cm2);盐桥:琼脂3%(W/V)氯化钾饱和溶液浸泡;多参数可控小型离子导入仪(本室研制);WFZ800-D型紫外-可见分光光度计(北京第二光学仪器厂);79HW-1型恒温磁力搅拌器(浙江乐城电器厂);pHS-2型酸度计(上海雷磁仪器厂);Oster剃毛刀(美国Oster公司).
, 百拇医药
2 实验方法
2.1 鼠皮的制备
取健康雄性小白鼠(18~22 g),断颈处死,用电动剃毛刀剃毛,剥离小鼠背部皮肤.将取下的皮肤平铺于玻璃板上,角质层向下.用单面刀片小心剔除皮下脂肪组织以及粘性物;然后用生理盐水反复冲洗;最后置于烧杯中,加入少量的生理盐水,于-20℃冷冻保存,在一周内用完.每次实验前,目测检查鼠皮的完整性,不得有任何破损.
2.2 离子导入仪参数的设定
皮肤在直流电场的作用下,容易产生极化现象,阻碍了药物经皮离子导入的效率.为了消除皮肤的极化现象,提高离子导入的效率,应选择具有一定脉冲频率的脉冲直流电.已有文献对离子导入参数的设定进行了研究〔3,4〕,据此本实验中将离子导入仪的输出电流设定波形为方波的脉冲直流电,频率为2 000 Hz,占空比1∶1.
, http://www.100md.com
2.3 离子导入实验
将处理好的鼠皮用502胶粘在改进的Valia-Chien扩散池的两个半池(体积为10 mL)之间,角质层面向供药池,真皮层面向接受池.鼠皮的有效渗透面积为1.5 cm2.由于药物离子荷正电,所以阳极放入供药池中,阴极与接受池之间用盐桥连接.阳极的电极材料为银;阴极的电极材料为铂.两扩散池中磁力搅拌子的转速约为300 r/min.整个装置置于(32±0.5)℃恒温水浴中.在规定时间隔内,从接受池中取样3 mL,同时补充等量的空白生理盐水.样品用0.45 μm的微孔滤膜过滤,以紫外法测定〔5〕.
3 结果与讨论
3.1 电流密度对离子导入的影响
在给药池中加入10 mL药物的饱和水溶液,接受池中加入10 mL空白生理盐水,每次取3 mL测定.皮肤对电流的耐受阈值为0.5 mA/cm2,电流密度越大,对皮肤的刺激、损伤也越大.因此,电流密度的考察范围定为0.05~0.3 mA/cm2.
, 百拇医药
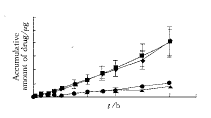
图1是离子导入实验中在不同电流密度下,ON经离体小鼠全皮的渗透动力学图线.对渗透动力学曲线中直线部分以最小二乘法回归得直线方程,求出直线的斜率并计算稳态流量,直线于时间轴的截距为滞后时间,见表1.表中同时还列出了其它渗透动力学参数.从表中的数据可以计算出,当离子导入的电流密度为0.05、0.1、0.2、0.3 mA/cm2时,ON经鼠皮的增渗比(ER)分别为1.48、4.44、6.04、6.85.离子导入给药使得药物渗透的滞后时间缩短了一半左右.所以离子导入是提高ON经皮吸收的强有力的手段.
图2是以稳态流量为纵坐标对电流密度作图得到的曲线.从图中可以看出,药物的稳态流量随电流密度的增大而增大,但两者之间并不呈严格的线性关系.当电流密度从0.05 mA/cm2提高到0.3 mA/cm2时,ON的稳态流量从0.850×10-2 μg/cm2.s-1增至4.226×10-2 μg/cm2.s-1.文献中关于电流密度与稳态流量之间的关系是否呈线性的报道,结论也不尽一致〔3〕.
, 百拇医药
理论上,根据Farady定律,药物的稳态流量(传递速度)与Ⅰ呈线性关系.但对于皮肤这样一个生理膜,问题则复杂得多.皮肤中组织液的pH、内源性离子、皮肤与药物的亲和力以及皮肤的极化现象等都是影响以上关系的因素.
Fig.1 Permeation kinetics profiles of ondansetron at different current densities (n=4)
— ◆ —0.05 mA.cm-2;— ■ —0.1 mA.cm-2;— ▲ —0.2 mA.cm-2
, 百拇医药
— ● —0.3 mA.cm-2;— ■ —control
Fig.2 Plots of the steady state flux as a function of current density(n=4)
Tab.1 The permeation kinetics parameters of ondansetron in iontophoresis under different durrent densities(n=4) I/mA.cm-2
Js×102/μg.cm-2.s-1
, 百拇医药
P5×106/cm.s-1
T1ag/h
ER
Control
0.617±0.28
0.151±0.07
1.10±0.20
1.00
0.05
0.850±0.47
, http://www.100md.com
0.208±0.12
0.41±0.12
1.48
0.1
2.740±0.48
0.670±0.12
0.68±0.29
4.44
0.2
3.725±0.54
0.911±0.13
0.39±0.11
, http://www.100md.com
6.04
0.3
4.226±0.89
1.034±0.22
0.55±0.20
6.85
3.2 pH对离子导入的影响
配制一系列pH为3.3、5.8、6.8、7.6的缓冲液,用氯化钠调节阳离子浓度(Na+,K+)为0.1mol/L.在给药池中加入10 mL含0.1%(W/V)药物的上述缓冲液,接受池中加入等量的空白生理盐水.
电流密度设定为0.1 mA/cm2.
, 百拇医药
图3给出了在给药池中不同的pH条件下,电流密度为0.1 mA/cm2时ON经鼠皮的渗透动力学曲线.对渗透曲线直线部分进行回归分析后,求得的各参数见表2.
从ON稳态流量与pH的关系图(图4)中,我们可以看出pH也是影响药物离子导入的一个重要因素,两者之间的关系图为复杂的“S”型.图中pH对稳态流量的影响有一个转折点(pH约为6),当pH高于这一点后稳态流量急剧下降;并且pH的升高导致了滞后时间的延长.
根据Handerson-Hasselbalch方程,很容易求得,当pH<5.8时,97.55%以上的药物以解离形式存在;在药物稳态流量的转折点(pH=6),药物的解离分数为96.17%;而当pH>6.8时,解离形式的药物仅占79.92%.因此,ON离子导入对经皮渗透的促进作用与药物在供药池中的离子化程度密切相关:ON的稳态流量在解离度为97.55%时是解离度为79.92%时的4.6倍.
, http://www.100md.com
Fig.3 Permeation kinetics profiles of ON at different pH in the donor(n=4)
— ◆ —pH3.3;— ■ —pH5.8;— ▲ —pH6.8;— ● —pH7.6
Fig.4 Plots of the steady-state flux as a function of pH in the donor(n=4)
Tab.2 The permeation kinetics parameters of ON under different pH conditions in the donor(n=4) pH
Js×103/μg.cm-2.s-1
, http://www.100md.com
Ps×107/cm.s-1
T1ag/h
3.3
1.592±0.47
1.592±0.47
1.09±0.58
5.8
1.607±0.46
1.607±0.46
0.83±0.34
, http://www.100md.com
6.8
0.349±0.13
0.349±0.13
1.65±1.04
7.6
0.361±0.03
0.361±0.03
1.93±0.34
在pH=3.3时,其稳态流量为1.592×10-3 μg/cm2.s-1,与pH=5.8时的稳态流量无显著性的差异(P>0.5).因为pH=3.3时,尽管药物的解离度为99.99%,但与pH=5.8时97.55%相比,两个数值相差不大.在这同时,随着pH的下降,药物溶液中的H+的浓度在增大,H+具有更大的离子淌度,可能会降低药物离子导入的效率.关于pH对弱电解质类药物离子导入的影响,在文献〔7,8〕中也有报道,结论同本文一致.
, http://www.100md.com
参考文献
1 Chien YW,Banga AK.Iontophoretic transdermal delivery of drugs:Overview of historical development.J Pharm Sci,1989,78(5):353~354
2 Parasrampuria D,Parasrampuria J.Percutaneous delivery of proteins and peptides using iontophoretic techniques.J Clin Pharm Ther,1991,16(1):7~17
3 Banga AK,Chien YW.Characterization of in vitro transdermal iontophoretic delivery of insulin.Drug Dev Ind Pharm,1993,19(16):2069~2087
, 百拇医药
4 郝劲松.胰岛素离子导入研究[博士学位论文].沈阳:沈阳药科大学,1995
5 Pingtian D,Wei L,Junmin Z.Transdermal iontophoresis of ondansetron HCl.J Chin Pharm Sci,1999,8(2):73~77
6 Behl CR,Kumar S,Malick AW,et al.Iontophoretic drugs delivery:effects of physical factors on the skin uptake of nonpeptide drugs.J Pharm Sci,1989,78(5):355~360
7 Sidiqui O,Roberts MS,Polack AE.Iontophoretic transport of week electrolytes through the excised human stratum corneum.J Pharm Pharmcol,1989,41(6):430~432
8 Siddiqui O,Roberts MS,Polack AE.The effect of iontophoresis and vehicle pH on the in vitro permeation of lignocaine through human stratum corneum.J Pharm Pharmacol,1985,37(10):732~734
收稿日期:1999-08-31
, http://www.100md.com
单位:沈阳药科大学药学系,沈阳 110015
关键词:奥旦西酮;离子导入;电流密度;pH
沈阳药科大学学报000301 摘 要 以小鼠全皮为渗透屏障膜,考察了电流密度和pH对奥旦西酮体外离子导入的影响.在实验电流范围内,药物的稳态流量与电流密度呈正比,但不是严格的线性关系;稳态流量与pH的关系图呈“S”型,因为pH的变化导致了药物解离度的改变.
分类号 R94
The Effects of Current Density and pH on the Iontophoresis of Ondansetron in vitro
Ding Pingtian,Wei Gang,Bian Shengjie,Zheng Junmin
, 百拇医药
Department of Pharmacy,Shenyang Pharmaceutical University,Shenyang 110015
Abstract The effects of current density and pH on the iontophoresis of ondansetron(ON)across the full thickness of a mouse′ skin were studied.The steady state flux of ON rose proportionally as the current density applied across the skin was increased in the current density range of 0.05~0.3 mA/cm2.However,there was no strict linear relationship.The profile of the relationship between the state flux and the pH was an“S” type,as a result of that the ionization degree could be controlled by the change of pH.
, 百拇医药
Key words ondansetron;iontophoresis;current density;pH
离子导入法是一种强有力的透皮给药手段,它是应用适当大小的直流电而增加药物分子透过皮肤进入组织的方法.与传统的透皮给药方法相比,它大大增强了药物,特别是离子型药物以及多肽类大分子的渗透量.在电场的作用下,亦可以增加非解离型药物的经皮转运,乃至增强水分子通过皮肤的渗透量.应用离子导入手段还可以通过调节电流的大小控制药物透皮吸收的速度〔1,2〕.
研究离子导入的影响因素具有重要的意义,可以为离子导入的深入研究提供依据.本文考察了电流密度和pH对模型药物奥旦西酮(ondansetron,ON)体外离子导入的影响.
1 材料与仪器
ON(纯度>99.0%,本校药化实验室提供);0.9%(w/v)氯化钠注射液(沈阳志鹰制药厂);铂电极(纯度>99.9%,3 cm×0.3 cm);银电极(纯度>99.9%,4×0.5 cm2);盐桥:琼脂3%(W/V)氯化钾饱和溶液浸泡;多参数可控小型离子导入仪(本室研制);WFZ800-D型紫外-可见分光光度计(北京第二光学仪器厂);79HW-1型恒温磁力搅拌器(浙江乐城电器厂);pHS-2型酸度计(上海雷磁仪器厂);Oster剃毛刀(美国Oster公司).
, 百拇医药
2 实验方法
2.1 鼠皮的制备
取健康雄性小白鼠(18~22 g),断颈处死,用电动剃毛刀剃毛,剥离小鼠背部皮肤.将取下的皮肤平铺于玻璃板上,角质层向下.用单面刀片小心剔除皮下脂肪组织以及粘性物;然后用生理盐水反复冲洗;最后置于烧杯中,加入少量的生理盐水,于-20℃冷冻保存,在一周内用完.每次实验前,目测检查鼠皮的完整性,不得有任何破损.
2.2 离子导入仪参数的设定
皮肤在直流电场的作用下,容易产生极化现象,阻碍了药物经皮离子导入的效率.为了消除皮肤的极化现象,提高离子导入的效率,应选择具有一定脉冲频率的脉冲直流电.已有文献对离子导入参数的设定进行了研究〔3,4〕,据此本实验中将离子导入仪的输出电流设定波形为方波的脉冲直流电,频率为2 000 Hz,占空比1∶1.
, http://www.100md.com
2.3 离子导入实验
将处理好的鼠皮用502胶粘在改进的Valia-Chien扩散池的两个半池(体积为10 mL)之间,角质层面向供药池,真皮层面向接受池.鼠皮的有效渗透面积为1.5 cm2.由于药物离子荷正电,所以阳极放入供药池中,阴极与接受池之间用盐桥连接.阳极的电极材料为银;阴极的电极材料为铂.两扩散池中磁力搅拌子的转速约为300 r/min.整个装置置于(32±0.5)℃恒温水浴中.在规定时间隔内,从接受池中取样3 mL,同时补充等量的空白生理盐水.样品用0.45 μm的微孔滤膜过滤,以紫外法测定〔5〕.
3 结果与讨论
3.1 电流密度对离子导入的影响
在给药池中加入10 mL药物的饱和水溶液,接受池中加入10 mL空白生理盐水,每次取3 mL测定.皮肤对电流的耐受阈值为0.5 mA/cm2,电流密度越大,对皮肤的刺激、损伤也越大.因此,电流密度的考察范围定为0.05~0.3 mA/cm2.
, 百拇医药
图1是离子导入实验中在不同电流密度下,ON经离体小鼠全皮的渗透动力学图线.对渗透动力学曲线中直线部分以最小二乘法回归得直线方程,求出直线的斜率并计算稳态流量,直线于时间轴的截距为滞后时间,见表1.表中同时还列出了其它渗透动力学参数.从表中的数据可以计算出,当离子导入的电流密度为0.05、0.1、0.2、0.3 mA/cm2时,ON经鼠皮的增渗比(ER)分别为1.48、4.44、6.04、6.85.离子导入给药使得药物渗透的滞后时间缩短了一半左右.所以离子导入是提高ON经皮吸收的强有力的手段.
图2是以稳态流量为纵坐标对电流密度作图得到的曲线.从图中可以看出,药物的稳态流量随电流密度的增大而增大,但两者之间并不呈严格的线性关系.当电流密度从0.05 mA/cm2提高到0.3 mA/cm2时,ON的稳态流量从0.850×10-2 μg/cm2.s-1增至4.226×10-2 μg/cm2.s-1.文献中关于电流密度与稳态流量之间的关系是否呈线性的报道,结论也不尽一致〔3〕.
, 百拇医药
理论上,根据Farady定律,药物的稳态流量(传递速度)与Ⅰ呈线性关系.但对于皮肤这样一个生理膜,问题则复杂得多.皮肤中组织液的pH、内源性离子、皮肤与药物的亲和力以及皮肤的极化现象等都是影响以上关系的因素.
Fig.1 Permeation kinetics profiles of ondansetron at different current densities (n=4)
— ◆ —0.05 mA.cm-2;— ■ —0.1 mA.cm-2;— ▲ —0.2 mA.cm-2
, 百拇医药
— ● —0.3 mA.cm-2;— ■ —control
Fig.2 Plots of the steady state flux as a function of current density(n=4)
Tab.1 The permeation kinetics parameters of ondansetron in iontophoresis under different durrent densities(n=4) I/mA.cm-2
Js×102/μg.cm-2.s-1
, 百拇医药
P5×106/cm.s-1
T1ag/h
ER
Control
0.617±0.28
0.151±0.07
1.10±0.20
1.00
0.05
0.850±0.47
, http://www.100md.com
0.208±0.12
0.41±0.12
1.48
0.1
2.740±0.48
0.670±0.12
0.68±0.29
4.44
0.2
3.725±0.54
0.911±0.13
0.39±0.11
, http://www.100md.com
6.04
0.3
4.226±0.89
1.034±0.22
0.55±0.20
6.85
3.2 pH对离子导入的影响
配制一系列pH为3.3、5.8、6.8、7.6的缓冲液,用氯化钠调节阳离子浓度(Na+,K+)为0.1mol/L.在给药池中加入10 mL含0.1%(W/V)药物的上述缓冲液,接受池中加入等量的空白生理盐水.
电流密度设定为0.1 mA/cm2.
, 百拇医药
图3给出了在给药池中不同的pH条件下,电流密度为0.1 mA/cm2时ON经鼠皮的渗透动力学曲线.对渗透曲线直线部分进行回归分析后,求得的各参数见表2.
从ON稳态流量与pH的关系图(图4)中,我们可以看出pH也是影响药物离子导入的一个重要因素,两者之间的关系图为复杂的“S”型.图中pH对稳态流量的影响有一个转折点(pH约为6),当pH高于这一点后稳态流量急剧下降;并且pH的升高导致了滞后时间的延长.
根据Handerson-Hasselbalch方程,很容易求得,当pH<5.8时,97.55%以上的药物以解离形式存在;在药物稳态流量的转折点(pH=6),药物的解离分数为96.17%;而当pH>6.8时,解离形式的药物仅占79.92%.因此,ON离子导入对经皮渗透的促进作用与药物在供药池中的离子化程度密切相关:ON的稳态流量在解离度为97.55%时是解离度为79.92%时的4.6倍.
, http://www.100md.com
Fig.3 Permeation kinetics profiles of ON at different pH in the donor(n=4)
— ◆ —pH3.3;— ■ —pH5.8;— ▲ —pH6.8;— ● —pH7.6
Fig.4 Plots of the steady-state flux as a function of pH in the donor(n=4)
Tab.2 The permeation kinetics parameters of ON under different pH conditions in the donor(n=4) pH
Js×103/μg.cm-2.s-1
, http://www.100md.com
Ps×107/cm.s-1
T1ag/h
3.3
1.592±0.47
1.592±0.47
1.09±0.58
5.8
1.607±0.46
1.607±0.46
0.83±0.34
, http://www.100md.com
6.8
0.349±0.13
0.349±0.13
1.65±1.04
7.6
0.361±0.03
0.361±0.03
1.93±0.34
在pH=3.3时,其稳态流量为1.592×10-3 μg/cm2.s-1,与pH=5.8时的稳态流量无显著性的差异(P>0.5).因为pH=3.3时,尽管药物的解离度为99.99%,但与pH=5.8时97.55%相比,两个数值相差不大.在这同时,随着pH的下降,药物溶液中的H+的浓度在增大,H+具有更大的离子淌度,可能会降低药物离子导入的效率.关于pH对弱电解质类药物离子导入的影响,在文献〔7,8〕中也有报道,结论同本文一致.
, http://www.100md.com
参考文献
1 Chien YW,Banga AK.Iontophoretic transdermal delivery of drugs:Overview of historical development.J Pharm Sci,1989,78(5):353~354
2 Parasrampuria D,Parasrampuria J.Percutaneous delivery of proteins and peptides using iontophoretic techniques.J Clin Pharm Ther,1991,16(1):7~17
3 Banga AK,Chien YW.Characterization of in vitro transdermal iontophoretic delivery of insulin.Drug Dev Ind Pharm,1993,19(16):2069~2087
, 百拇医药
4 郝劲松.胰岛素离子导入研究[博士学位论文].沈阳:沈阳药科大学,1995
5 Pingtian D,Wei L,Junmin Z.Transdermal iontophoresis of ondansetron HCl.J Chin Pharm Sci,1999,8(2):73~77
6 Behl CR,Kumar S,Malick AW,et al.Iontophoretic drugs delivery:effects of physical factors on the skin uptake of nonpeptide drugs.J Pharm Sci,1989,78(5):355~360
7 Sidiqui O,Roberts MS,Polack AE.Iontophoretic transport of week electrolytes through the excised human stratum corneum.J Pharm Pharmcol,1989,41(6):430~432
8 Siddiqui O,Roberts MS,Polack AE.The effect of iontophoresis and vehicle pH on the in vitro permeation of lignocaine through human stratum corneum.J Pharm Pharmacol,1985,37(10):732~734
收稿日期:1999-08-31
, http://www.100md.com