高效液相色谱法测定固本益肠胶囊中芍药苷的含量
作者:戚宝婵 郭兰建
单位:辽宁省药品检验所,沈阳 110023
关键词:高效液相色谱法;固本益肠胶囊;芍药苷
沈阳药科大学学报000416 摘 要 用高效液相色谱法测定固本益肠胶囊中芍药苷的含量,并对提取条件和分离条件进行了筛选,检测波长为230 nm,平均加样回收率为99.22%,RSD=0.87%.
分类号 R917
Determination of the Content of Paeoniflorin in Gubenyichang Capsules by HPLC
Qi Baochan,Guo Lanjian
, http://www.100md.com
(The Institute for Drug Control of Liaoning Province,Shenyang 110023)
Abstract The contents of paeoniflorin in Gubenyichang Capsules were determined by HPLC. The conditions for the extraction and separation were selected. The wavelength of the detector was set at 230 nm.The average recovery was 99.22% with RSD=0.87%.
Key words HPLC;Gubenyichang Capsules;paeoniflorin
固本益肠胶囊是由党参、白术、补骨脂、山药、白芍等14味中药组成的4类新药,无定量测定方法.其中白芍的主要成分为芍药苷.为了有效地控制产品质量,建立高效液相色谱法测定固本益肠胶囊中芍药苷的含量.采用高效液相色谱法测定白芍药材〔1〕或含芍药苷制剂〔2〕中芍药苷的含量,文献均有报道.但由于本制剂处方大,药味多,干扰严重,只有在选定的实验条件下,才能使芍药苷与其他组分达到有效地分离.此法具有操作简便、灵敏度高、重复性好及分离效果好等特点,对控制产品的质量具有重要意义.
, 百拇医药
1 仪器与试剂
日本岛津LC-10A型高效液相色谱仪,配Class-vp工作站,甲醇、乙腈为色谱纯,磷酸为分析纯,芍药苷购自中国药品生物制品检定所,批号为0736-9710,经液相色谱法分析,纯度大于98%.固本益肠胶囊(沈阳恩世制药有限公司,批号:980104).
2 方法与结果
2.1 提取条件的选择
由于芍药苷的极性大,故选择水为提取溶剂.采用超声提取,并对不同提取时间样品的含量进行了考察,根据考察结果确定超声时间为30 min.
2.2 供试品溶液的制备
精密称取本品约0.4 g,置50 mL量瓶中,加水40 mL,超声处理30 min,放冷,加水稀释至刻度,摇匀,静置,过滤,弃去初滤液,收集续滤液,离心,取上清液作为供试品溶液.
, http://www.100md.com
2.3 色谱条件的确定
色谱柱:ODS(kromasil,5 μm, 4.6 mm×200 mm,天津凯德);检测波长为230 nm;曾选用甲醇-水(25∶75)、甲醇-0.025 mol/L磷酸二氢钾(20∶80)、甲醇-乙腈-0.025 mol/L磷酸(2∶13∶85)等流动相进行比较,以第三组分离效果较好.手动进样,进样量20 μL,流速1 ml/min.在此条件下芍药苷与其他组分达到基线分离.
2.4 线性关系考察
取芍药苷对照品12.69 mg,置100 mL量瓶中,加水溶解并稀释至刻度;精密量取1.0、2.0、3.0、4.0、5.0 mL分别置10 mL量瓶中,加水至刻度,摇匀,按上述条件测定,以浓度为横坐标,峰面积值为纵坐标绘制标准曲线,经计算回归方程为A=30 657.2C-11 330.8,r=0.999 9.表明芍药苷在12.69~63.45 μg/mL浓度范围内线性关系良好.
, 百拇医药
2.5 稳定性试验
取供试品溶液按上述条件分别在0,1,2,4,8 h进样,结果表明供试品溶液在8 h内稳定,RSD=2.3%.
2.6 重复性试验
取同一批号样品按含量测定方法重复测定6次,其均值为2.89 mg/g,RSD=1.7%, 表明方法精密度良好.
2.7 回收率试验
精密称取样品(含量为2.89 mg/g)5份,每份为0.2 g,精密加入芍药苷对照品溶液(浓度为53.30 μg/mL)10 mL,加水30 mL,按含量测定方法测定,计算回收率,结果见表1.
2.8 空白干扰试验
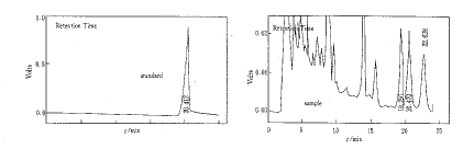
按样品处方工艺制成不含白芍的阴性对照液,用与样品相同的色谱条件测定,在与芍药苷相同保留时间处无干扰峰,见图1.
, 百拇医药
Tab.1 The recovery test No
Add
(mg)
Found
(mg)
Recovery
(%)
Mean
(%)
RSD
(%)
1
0.533 0
, http://www.100md.com
0.530 2
99.47
2
0.533 0
0.533 3
100.1
3
0.533 0
0.526 5
98.78
99.22
0.87
4
, http://www.100md.com
0.533 0
0.522 0
97.94
5
0.533 0
0.531 9
99.79
Fig.1 The HPLC chromatogram of Gubenyichang Capsules
2.9 样品测定
按含量测定方法共测定了6个批号的样品,含量分别为2.89,3.08,2.92,2.96,2.94,2.80 mg/g.
, http://www.100md.com
3 讨论
a.由于本制剂由14味药组成,处方大,且白芍在处方中所占比例小,所以供试品溶液杂质多.而选择水为提取溶剂,不选择甲醇正是为了减少脂溶性杂质的干扰.
b.从结构上看,芍药苷所接的糖为单糖,分子结构中羟基多,极性大,所以流动相中0.025 mol/L磷酸占的比例较大;加乙腈和甲醇既有选择性,又有调节保留时间的作用,其中乙腈的量对保留时间的影响较大(粗调),甲醇的量对保留时间的影响较小(细调).
c.在芍药苷峰相邻处有一未知物,其性质和芍药苷极其相似,在提取条件方面,分别采用甲醇提取、水提取或提取后上柱洗脱均不能除去此物;在分离条件方面,选用3种流动相比较,且换了不同的色谱柱进行试验,结果表明采用选定的流动相且只有柱效较高的色谱柱才能使其与芍药苷分开.所以高效液相色谱法测定中药制剂含量,不可忽视色谱柱的选择.
Fig.2 The structural formula of Paeoniflorin
参考文献
1,王强,俞祥生,张留纪,等.不同规格白芍中有关化学成分的HPLC分析.中药材,1992,15(7):31~32
2,葛萍,雷岁合,曹新宪.HPLC法测定益智壮骨冲剂中芍药甙的含量.中成药,1996,18(2):13~14
收稿日期:1999-12-22
, http://www.100md.com
单位:辽宁省药品检验所,沈阳 110023
关键词:高效液相色谱法;固本益肠胶囊;芍药苷
沈阳药科大学学报000416 摘 要 用高效液相色谱法测定固本益肠胶囊中芍药苷的含量,并对提取条件和分离条件进行了筛选,检测波长为230 nm,平均加样回收率为99.22%,RSD=0.87%.
分类号 R917
Determination of the Content of Paeoniflorin in Gubenyichang Capsules by HPLC
Qi Baochan,Guo Lanjian
, http://www.100md.com
(The Institute for Drug Control of Liaoning Province,Shenyang 110023)
Abstract The contents of paeoniflorin in Gubenyichang Capsules were determined by HPLC. The conditions for the extraction and separation were selected. The wavelength of the detector was set at 230 nm.The average recovery was 99.22% with RSD=0.87%.
Key words HPLC;Gubenyichang Capsules;paeoniflorin
固本益肠胶囊是由党参、白术、补骨脂、山药、白芍等14味中药组成的4类新药,无定量测定方法.其中白芍的主要成分为芍药苷.为了有效地控制产品质量,建立高效液相色谱法测定固本益肠胶囊中芍药苷的含量.采用高效液相色谱法测定白芍药材〔1〕或含芍药苷制剂〔2〕中芍药苷的含量,文献均有报道.但由于本制剂处方大,药味多,干扰严重,只有在选定的实验条件下,才能使芍药苷与其他组分达到有效地分离.此法具有操作简便、灵敏度高、重复性好及分离效果好等特点,对控制产品的质量具有重要意义.
, 百拇医药
1 仪器与试剂
日本岛津LC-10A型高效液相色谱仪,配Class-vp工作站,甲醇、乙腈为色谱纯,磷酸为分析纯,芍药苷购自中国药品生物制品检定所,批号为0736-9710,经液相色谱法分析,纯度大于98%.固本益肠胶囊(沈阳恩世制药有限公司,批号:980104).
2 方法与结果
2.1 提取条件的选择
由于芍药苷的极性大,故选择水为提取溶剂.采用超声提取,并对不同提取时间样品的含量进行了考察,根据考察结果确定超声时间为30 min.
2.2 供试品溶液的制备
精密称取本品约0.4 g,置50 mL量瓶中,加水40 mL,超声处理30 min,放冷,加水稀释至刻度,摇匀,静置,过滤,弃去初滤液,收集续滤液,离心,取上清液作为供试品溶液.
, http://www.100md.com
2.3 色谱条件的确定
色谱柱:ODS(kromasil,5 μm, 4.6 mm×200 mm,天津凯德);检测波长为230 nm;曾选用甲醇-水(25∶75)、甲醇-0.025 mol/L磷酸二氢钾(20∶80)、甲醇-乙腈-0.025 mol/L磷酸(2∶13∶85)等流动相进行比较,以第三组分离效果较好.手动进样,进样量20 μL,流速1 ml/min.在此条件下芍药苷与其他组分达到基线分离.
2.4 线性关系考察
取芍药苷对照品12.69 mg,置100 mL量瓶中,加水溶解并稀释至刻度;精密量取1.0、2.0、3.0、4.0、5.0 mL分别置10 mL量瓶中,加水至刻度,摇匀,按上述条件测定,以浓度为横坐标,峰面积值为纵坐标绘制标准曲线,经计算回归方程为A=30 657.2C-11 330.8,r=0.999 9.表明芍药苷在12.69~63.45 μg/mL浓度范围内线性关系良好.
, 百拇医药
2.5 稳定性试验
取供试品溶液按上述条件分别在0,1,2,4,8 h进样,结果表明供试品溶液在8 h内稳定,RSD=2.3%.
2.6 重复性试验
取同一批号样品按含量测定方法重复测定6次,其均值为2.89 mg/g,RSD=1.7%, 表明方法精密度良好.
2.7 回收率试验
精密称取样品(含量为2.89 mg/g)5份,每份为0.2 g,精密加入芍药苷对照品溶液(浓度为53.30 μg/mL)10 mL,加水30 mL,按含量测定方法测定,计算回收率,结果见表1.
2.8 空白干扰试验
按样品处方工艺制成不含白芍的阴性对照液,用与样品相同的色谱条件测定,在与芍药苷相同保留时间处无干扰峰,见图1.
, 百拇医药
Tab.1 The recovery test No
Add
(mg)
Found
(mg)
Recovery
(%)
Mean
(%)
RSD
(%)
1
0.533 0
, http://www.100md.com
0.530 2
99.47
2
0.533 0
0.533 3
100.1
3
0.533 0
0.526 5
98.78
99.22
0.87
4
, http://www.100md.com
0.533 0
0.522 0
97.94
5
0.533 0
0.531 9
99.79
Fig.1 The HPLC chromatogram of Gubenyichang Capsules
2.9 样品测定
按含量测定方法共测定了6个批号的样品,含量分别为2.89,3.08,2.92,2.96,2.94,2.80 mg/g.
, http://www.100md.com
3 讨论
a.由于本制剂由14味药组成,处方大,且白芍在处方中所占比例小,所以供试品溶液杂质多.而选择水为提取溶剂,不选择甲醇正是为了减少脂溶性杂质的干扰.
b.从结构上看,芍药苷所接的糖为单糖,分子结构中羟基多,极性大,所以流动相中0.025 mol/L磷酸占的比例较大;加乙腈和甲醇既有选择性,又有调节保留时间的作用,其中乙腈的量对保留时间的影响较大(粗调),甲醇的量对保留时间的影响较小(细调).
c.在芍药苷峰相邻处有一未知物,其性质和芍药苷极其相似,在提取条件方面,分别采用甲醇提取、水提取或提取后上柱洗脱均不能除去此物;在分离条件方面,选用3种流动相比较,且换了不同的色谱柱进行试验,结果表明采用选定的流动相且只有柱效较高的色谱柱才能使其与芍药苷分开.所以高效液相色谱法测定中药制剂含量,不可忽视色谱柱的选择.
Fig.2 The structural formula of Paeoniflorin
参考文献
1,王强,俞祥生,张留纪,等.不同规格白芍中有关化学成分的HPLC分析.中药材,1992,15(7):31~32
2,葛萍,雷岁合,曹新宪.HPLC法测定益智壮骨冲剂中芍药甙的含量.中成药,1996,18(2):13~14
收稿日期:1999-12-22
, http://www.100md.com