60Co平移扫描照射在全脊髓放射治疗中的应用
作者:傅真富 马松庆 郭金水 马胜林 张鸿未
单位:杭州,浙江省肿瘤医院放射治疗科 310022
关键词:平移扫描照射;移动半影;全脊髓放射
中华放射肿瘤学杂志000410 【摘要】 目的 研究平移扫描照射在全脊髓放射治疗中的应用、剂量学特点和移动半影。方法 5例病例行全脊髓平移扫描照射。平移床由本院和浙江大学联合研制,最大移动距离60cm。采用电离室法测量剂量。治疗时准直器窗口5cm×10cm,平移床可往返运动。结果 平移扫描照射提高了百分深度量;剂量分布非常均匀,明显优于固定野常规分野照射;全部病例都未观察到急性神经系统反应。结论 60 Co平移扫描照射在剂量分布学上有明显的优点,是一种较传统方法更有效、更安全的治疗方法。
60Co traversing beam irradiation in total spinal cord radiotherapy
, 百拇医药
FU Zhenfu MA Songqing GUO Jinshui
(Department of Radiation Oncology, Zhejiang Tumor Hospital, Hangzhou 310022, China)
【Abstract】 Objective To evaluate the clinical application, dosimetry and moving penumbra of traversing beam therapy with moving table technique for total spinal cord irradiation (TSCI). Methods Five patients received 60 Co TSCI traversing beam therapy with moving table which was developed by the Zhejiang Cancer Hospital and Zhejiang University. The maximum moving distance of the table was 60 cm. The dose was measured by ionization chamber. The radiation field size was 5 cm×10 cm and the table moved forward and back. Results Traversing beam therapy was able to increase the percentage depth dose with the dose distribution homogeneous and much better than that of multiple field irradiation. None of these 5 patients developed acute nervous system reactions. Conclusion The 60 Co traversing beam therapy is advantageous in dose distribution, more effective and safer than the traditional irradiation in TSCI .
, http://www.100md.com
【Key words】 Traversing beam therapy; Moving penumbra;Total Spinal cord irradiation
临床放射治疗中,经常会遇见所需放射治疗的靶器官或组织其长度超过40cm,采用一个照射野难以包括整个靶区,如全脊髓放射治疗。临床上以往常采用以下2种方法来解决:(1)将同一靶区进行分野照射。采用这一方法将出现两照射野匹接处因半影的存在而引起剂量分布不均匀,虽然也可采用半影叠合法或线束扩张法进行处理,但都非常繁琐,且容易产生误差。(2)延长源皮距进行特大野单野照射。采用这一治疗方法将出现同一照射野内组织剂量分布不均匀的情况,尤其60Co治疗机上更明显。以上2个问题是物理学上的难点,为了避免发生这些情况,本院采用了平移扫描照射技术进行全脊髓照射,共治疗了5例病例,取得了比较理想的剂量分布效果,现对这一方法做一介绍。
1 材料与方法
, http://www.100md.com
自1999年10月起共对5例病例进行全脊髓60 Co平移扫描照射。平移扫描照射治疗床由本院与浙江大学机械设计研究所联合研制,床体厚16cm,重33kg,分上下两层。该治疗床可放置于60Co或加速器治疗床上或者可直接放置在地板上。上层可沿固定在下层内的轨道上做直线匀速运动,运动速度受计算机控制,上层最大运动距离60cm。床上设有限位开关,当计算机设定在摆位状态时床面可用手动开关调节其位置以便摆位。通过控制台计算机与治疗机相联网,治疗时二者完全同步进行。
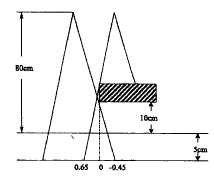
治疗方法:5例病例均采用俯卧位后野一长野平移扫描照射,放射线为60Coγ线,源皮距(SSD)80cm。照射野上界与全脑野相接于C4~C5水平,下界到S2水平,野宽4~5cm,长48~52cm。通过床面填充物使照射野内皮肤基本保持在同一平面上,高低相差1cm左右。准直器窗口5cm×5cm,照射野上下界外挡7个半阶层厚的铅块,治疗起始状态时准直器窗口的前缘与照射野上界或下界对齐,治疗结束状态时准直器窗口的后缘与照射野的下界或上界对齐(图1)。利用平移床的直线匀速运动使照射野内同一平面上任何两点的照射时间完全相同。每次剂量150~180cGy,总剂量25~30Gy,18~20分次,24~28d完成。剂量测量方法采用电离室测量法。
, http://www.100md.com
图1 平移扫描照射起始(左)与终止(右)状态
2 结果
预置时间的计算:为了计算治疗所需时间,笔者模拟了加速器旋转治疗每度剂量的模式,提出了一个平移扫描照射剂量与运动速度相对应的“每运动5cm剂量”计算模式,即床每运动5cm机器所辐射的剂量。该值是个变量,在机器输出剂量率确定的情况下,每运动5cm剂量与治疗床运动速度成反比。在计算机中设置了从10~150cGy间每隔5cGy一挡的多档,每运动5cm剂量供临床选择,治疗时间取决于每运动5cm剂量和治疗床运动长度。预置时间可按下式计算:预置时间=预置剂量/所选输出剂量率;预置剂量=床运动距离×每运动5cm剂量/5;床运动距离=照射野长度+准直器窗口长度。当处方剂量>150cGy时,需2次以上的平移扫描照射来满足处方剂量。
剂量均匀度状况:采用电离室法测量得到的照射野内剂量均匀度状况见表1。从表1可看出平移扫描照射野内组织剂量分布非常均匀,照射野中心与照射野边缘剂量几乎没有差别,显著优于固定野大野照射的剂量分布状况。
, http://www.100md.com
采用公式计算法与电离室测量法得到的照射野上下界边缘区5cm深处的剂量分布数据相似,见表2。该结果显示移动半影区(图2)内的百分深度剂量呈一递减的变化过程。
表1 60Co固定野照射与平移扫描照射时
同一深度处剂量均匀度比较 野别
距照射野中心距离(cm)
0.0 ±5.0 ±10.0 ±15.0
固定野Ⅰ(5cm×5cm)
1.00
0.99
固定野Ⅱ(35cm×5cm)
, http://www.100md.com
1.00
0.99
0.97
0.90
平衡扫描野(60cm×5cm)
1.00
1.00
1.00
1.00
野别
距照射野中心距离(cm)
±16.5 ±20.0 ±25.0 ±29.0
, 百拇医药
固定野Ⅰ(5cm×5cm)
固定野Ⅱ(35cm×5cm)
0.86
平衡扫描野(60cm×5cm)
1.00
1.00
1.00
1.00
注:SSD=80cm,准直器窗口10cm×5cm表2 照射野边缘移动半影区5cm
深处的百分深度剂量分布(%) 野别
距边缘距离(cm)
, 百拇医药
0.65 0.55 0.45 0.35 0.25 0.15 0.05
平移扫描野
100
96
92
88
84
80
76
野别
距边缘距离(cm)
0.00 -0.05 -0.15 -0.25 -0.35 -0.45
, 百拇医药
平移扫描野
74
18
16
12
8
4
注:0.00值为照射野正边缘,正值位于照射野内,负值位于照射野外
图2 照射边缘移动半影
表3显示了60 Co固定野照射与平移扫描照射百分深度剂量。
, 百拇医药
图3显示了平移扫描照射组织D处接受的各种射线束状况。
图4显示了平移扫描照射野内静态挡块的双侧移动半影情况。
5例病例均顺利完成治疗,没有观察到与平移扫描照射相关的急性神经系统反应。
表3 60 Co固定野照射与平移扫描照射
百分深度剂量比较(%) 野别
深度(cm)
0.5 1.0 2.0 3.0 4.0 5.0 6.0 7.0 8.0
固定野
100.0
, 百拇医药
97.0
92.5
87.0
82.0
77.0
72.0
67.0
62.5
平移
扫描野
100.0
97.6
94.2
, 百拇医药
89.7
85.5
81.4
77.0
72.4
68.3
野别
深度(cm)
9.0 10.0 11.0 12.0 13.0 14.0 15.0 16.0
固定野
58.5
64.0
, http://www.100md.com
50.0
47.0
43.9
40.0
37.0
35.0
平移
扫描野
64.6
60.3
56.5
53.6
50.5
, http://www.100md.com
46.6
43.6
41.7
注:SSD=80cm,准直器窗口10cm×5cm
图3 平称扫描照射组织D处接受的各种射线束
图4 平称扫描照射野内静态挡块的双侧移动半影
3 讨论
应该特别指出的是,对于全脊髓放射治疗一般选用高能电子线(16MeV以上)较为合适,但限于本医院加速器治疗机数量有限,平移扫描照射时间又相对较长的现实,故暂时选用了60Co做全脊髓平移扫描照射,待以后条件改善后再改用电子线作全脊髓平移扫描照射。
, http://www.100md.com
电离室法测量结果显示在相同的物理条件下60 Co平移扫描照射的百分深度剂量比固定野照射时要高(表3),这与冯宁远等[1]报道的结果相似。60Co固定野照射时,野内任何一处组织直接接受照射的射线仅来自某一固定方向的射线束,几何半影区的射线束对百分深度剂量几乎没有多大影响(除散射线外);而60Co平移扫描照射相当于无数个连续依序紧密排列的微小固定照射野的叠加,野内任何一处组织直接接受照射的射线束来自于同一纵轴上所有方向射线束的依次照射,其接受的剂量是所有受照射线剂量的总和,它包括了移动半影区射线束的照射(图3)。笔者认为这是平移扫描照射能提高百分深度剂量的主要原因之一;第二大原因为照射野内深部组织受照射的时间要比浅部组织长,且组织受照射时间随着深度的增加而增加。大多数射线不是垂直而是有一定入射角的,在固定野照射时,野内任何组织的受照射时间是相同的;但在平移扫描照射时则不然,由于治疗床的运动,深部组织受到照射时,其上相应的浅部组织尚未受到照射,而浅部组织结束照射时,其下相应的深部组织仍在接受照射,因而深部组织的百分深度量在增大(图1,表3);另外准直器铅门的半影也对百分深度量产生影响;而SSD及准直器窗口大小这两个因素影响着放射线的最大入射角,因而也会对提高百分深度量幅度产生影响。
, 百拇医药
60Co平移扫描照射时野内组织剂量均匀度更好(表1)。本组病例60 Co平移扫描照射时选用5cm×5cm的准直器窗口,如此小野即使在固定野照射时其野内组织剂量的分布也是较均匀的(表1)。在平移扫描照射时,治疗床运动速度是匀速的,准直器窗口的起始和终止状态位于照射野野外(图1);从而保证了照射野内同一平面上任何两点组织的照射时间完全相同,同时照射野内同一纵轴上任何两点组织经过准直器窗口的运行轨迹也完全一致;因而野内同一平面上任何两处组织的叠加剂量也就完全相同。从以上分析可以看出平移扫描照射野内同一平面上剂量分布均匀是有明确的物理学基础的。每次平移扫描照射所给予的组织剂量大小与放射源输出剂量率及准直器窗口大小呈正相关,与治疗床运动速度呈负相关。
平移扫描照射的半影变化情况。固定野照射时存在的几何半影、穿透半影、散射半影在平移扫描照射时同样存在。由于治疗床的平移运动,相对于野内某一处组织而言,受照射线入射角不断地变化,因而各种半影也随之出现连续的动态变化,并形成一个动态的几何形态。笔者把这种因平移扫描照射而引起的半影变化情况称之为移动半影,它是一种动态变化的几何图形。由于移动半影的存在,使得平移扫描照射时的野内档块设置变得非常复杂与困难,也限制了平移扫描照射在不规则有野内档块大野照射中的应用。全脊髓照射为长方形规则野,无需设置野内挡块,平移扫描照射时的移动半影反而提高了其百分深度剂量,所以非常适合做该方法治疗。当不规则野内存在固定挡块时,平移扫描照射产生的移动半影是双向的动态图像(图4)。根据几何定律可推导出移动半影的计算公式为P=X/2×(b+b')/a,其中X为准直器窗口的长径;a=SSD;b为托架距皮肤距离;b'为皮肤至靶区的深度。从该公式可知,其移动半影与SSD呈负相关,与准直器窗口、托架高度及靶区深度呈正相关。Lech等[2]报道静态挡块在平移扫描全身照射时23cm深处单侧的最大移动半影>6.5cm,双侧叠加则>13cm,这样就失去了挡块的应有作用,势必产生严重后果。目前笔者正在研究动态挡块以解决静态挡块的不足,以便对不规则大野进行平移扫描照射。尹贞元等[3]报道了1例利用平移扫描照射进行全身放射治疗,但文中没有涉及挡块的移动半影问题。笔者认为平移扫描照射应用于全身放射治疗是可行的,有关的研究尚在继续进行中。照射野上下界边缘区的移动半影在野内外的形状呈不对称分布(图2),野内范围大,野外范围小,野内移动半影区的剂量呈缓慢衰减,5cm深处每向外0.1cm衰减4%,而野外移动半影区的剂量呈快速衰减(表2)。
, 百拇医药
临床上一般采用分野照射技术进行全脊髓放射治疗,因而存在着相邻两照射野间匹接处的剂量分布冷点和热点问题。由于脊髓对剂量要求的严格性,所以分野照射技术对全脊髓放射治疗并不理想。平移扫描照射方法是一种不同于固定野照射的新的放射治疗模式,在大野、特大野照射方面具有很广泛的适应证和良好的发展前景。全脊髓平移扫描照射技术由于野内剂量分布均匀,不存在数个照射野的匹接问题,因此认为平移扫描照射技术是全脊髓放射治疗的首选放射治疗方法。
参考文献
1,冯宁远,刘新凡,余耘,等.电子线平移扫描照射技术及其剂量学方法、临床应用探讨.中国放射肿瘤学,1989,3:111-114.
2,Lech P, Joseph M, Colleen D, et al. The clinical application of dynamic shielding and imaging in moving table total body irradiation. Radiother Oncol, 1999, 51:219-224.
3,尹贞元,王秀兰,程广源.移动式治疗床全身照射中的应用. 中国放射肿瘤学,1991, 5:64-65.
收稿日期:2000-03-25, 百拇医药
单位:杭州,浙江省肿瘤医院放射治疗科 310022
关键词:平移扫描照射;移动半影;全脊髓放射
中华放射肿瘤学杂志000410 【摘要】 目的 研究平移扫描照射在全脊髓放射治疗中的应用、剂量学特点和移动半影。方法 5例病例行全脊髓平移扫描照射。平移床由本院和浙江大学联合研制,最大移动距离60cm。采用电离室法测量剂量。治疗时准直器窗口5cm×10cm,平移床可往返运动。结果 平移扫描照射提高了百分深度量;剂量分布非常均匀,明显优于固定野常规分野照射;全部病例都未观察到急性神经系统反应。结论 60 Co平移扫描照射在剂量分布学上有明显的优点,是一种较传统方法更有效、更安全的治疗方法。
60Co traversing beam irradiation in total spinal cord radiotherapy
, 百拇医药
FU Zhenfu MA Songqing GUO Jinshui
(Department of Radiation Oncology, Zhejiang Tumor Hospital, Hangzhou 310022, China)
【Abstract】 Objective To evaluate the clinical application, dosimetry and moving penumbra of traversing beam therapy with moving table technique for total spinal cord irradiation (TSCI). Methods Five patients received 60 Co TSCI traversing beam therapy with moving table which was developed by the Zhejiang Cancer Hospital and Zhejiang University. The maximum moving distance of the table was 60 cm. The dose was measured by ionization chamber. The radiation field size was 5 cm×10 cm and the table moved forward and back. Results Traversing beam therapy was able to increase the percentage depth dose with the dose distribution homogeneous and much better than that of multiple field irradiation. None of these 5 patients developed acute nervous system reactions. Conclusion The 60 Co traversing beam therapy is advantageous in dose distribution, more effective and safer than the traditional irradiation in TSCI .
, http://www.100md.com
【Key words】 Traversing beam therapy; Moving penumbra;Total Spinal cord irradiation
临床放射治疗中,经常会遇见所需放射治疗的靶器官或组织其长度超过40cm,采用一个照射野难以包括整个靶区,如全脊髓放射治疗。临床上以往常采用以下2种方法来解决:(1)将同一靶区进行分野照射。采用这一方法将出现两照射野匹接处因半影的存在而引起剂量分布不均匀,虽然也可采用半影叠合法或线束扩张法进行处理,但都非常繁琐,且容易产生误差。(2)延长源皮距进行特大野单野照射。采用这一治疗方法将出现同一照射野内组织剂量分布不均匀的情况,尤其60Co治疗机上更明显。以上2个问题是物理学上的难点,为了避免发生这些情况,本院采用了平移扫描照射技术进行全脊髓照射,共治疗了5例病例,取得了比较理想的剂量分布效果,现对这一方法做一介绍。
1 材料与方法
, http://www.100md.com
自1999年10月起共对5例病例进行全脊髓60 Co平移扫描照射。平移扫描照射治疗床由本院与浙江大学机械设计研究所联合研制,床体厚16cm,重33kg,分上下两层。该治疗床可放置于60Co或加速器治疗床上或者可直接放置在地板上。上层可沿固定在下层内的轨道上做直线匀速运动,运动速度受计算机控制,上层最大运动距离60cm。床上设有限位开关,当计算机设定在摆位状态时床面可用手动开关调节其位置以便摆位。通过控制台计算机与治疗机相联网,治疗时二者完全同步进行。
治疗方法:5例病例均采用俯卧位后野一长野平移扫描照射,放射线为60Coγ线,源皮距(SSD)80cm。照射野上界与全脑野相接于C4~C5水平,下界到S2水平,野宽4~5cm,长48~52cm。通过床面填充物使照射野内皮肤基本保持在同一平面上,高低相差1cm左右。准直器窗口5cm×5cm,照射野上下界外挡7个半阶层厚的铅块,治疗起始状态时准直器窗口的前缘与照射野上界或下界对齐,治疗结束状态时准直器窗口的后缘与照射野的下界或上界对齐(图1)。利用平移床的直线匀速运动使照射野内同一平面上任何两点的照射时间完全相同。每次剂量150~180cGy,总剂量25~30Gy,18~20分次,24~28d完成。剂量测量方法采用电离室测量法。
, http://www.100md.com
图1 平移扫描照射起始(左)与终止(右)状态
2 结果
预置时间的计算:为了计算治疗所需时间,笔者模拟了加速器旋转治疗每度剂量的模式,提出了一个平移扫描照射剂量与运动速度相对应的“每运动5cm剂量”计算模式,即床每运动5cm机器所辐射的剂量。该值是个变量,在机器输出剂量率确定的情况下,每运动5cm剂量与治疗床运动速度成反比。在计算机中设置了从10~150cGy间每隔5cGy一挡的多档,每运动5cm剂量供临床选择,治疗时间取决于每运动5cm剂量和治疗床运动长度。预置时间可按下式计算:预置时间=预置剂量/所选输出剂量率;预置剂量=床运动距离×每运动5cm剂量/5;床运动距离=照射野长度+准直器窗口长度。当处方剂量>150cGy时,需2次以上的平移扫描照射来满足处方剂量。
剂量均匀度状况:采用电离室法测量得到的照射野内剂量均匀度状况见表1。从表1可看出平移扫描照射野内组织剂量分布非常均匀,照射野中心与照射野边缘剂量几乎没有差别,显著优于固定野大野照射的剂量分布状况。
, http://www.100md.com
采用公式计算法与电离室测量法得到的照射野上下界边缘区5cm深处的剂量分布数据相似,见表2。该结果显示移动半影区(图2)内的百分深度剂量呈一递减的变化过程。
表1 60Co固定野照射与平移扫描照射时
同一深度处剂量均匀度比较 野别
距照射野中心距离(cm)
0.0 ±5.0 ±10.0 ±15.0
固定野Ⅰ(5cm×5cm)
1.00
0.99
固定野Ⅱ(35cm×5cm)
, http://www.100md.com
1.00
0.99
0.97
0.90
平衡扫描野(60cm×5cm)
1.00
1.00
1.00
1.00
野别
距照射野中心距离(cm)
±16.5 ±20.0 ±25.0 ±29.0
, 百拇医药
固定野Ⅰ(5cm×5cm)
固定野Ⅱ(35cm×5cm)
0.86
平衡扫描野(60cm×5cm)
1.00
1.00
1.00
1.00
注:SSD=80cm,准直器窗口10cm×5cm表2 照射野边缘移动半影区5cm
深处的百分深度剂量分布(%) 野别
距边缘距离(cm)
, 百拇医药
0.65 0.55 0.45 0.35 0.25 0.15 0.05
平移扫描野
100
96
92
88
84
80
76
野别
距边缘距离(cm)
0.00 -0.05 -0.15 -0.25 -0.35 -0.45
, 百拇医药
平移扫描野
74
18
16
12
8
4
注:0.00值为照射野正边缘,正值位于照射野内,负值位于照射野外
图2 照射边缘移动半影
表3显示了60 Co固定野照射与平移扫描照射百分深度剂量。
, 百拇医药
图3显示了平移扫描照射组织D处接受的各种射线束状况。
图4显示了平移扫描照射野内静态挡块的双侧移动半影情况。
5例病例均顺利完成治疗,没有观察到与平移扫描照射相关的急性神经系统反应。
表3 60 Co固定野照射与平移扫描照射
百分深度剂量比较(%) 野别
深度(cm)
0.5 1.0 2.0 3.0 4.0 5.0 6.0 7.0 8.0
固定野
100.0
, 百拇医药
97.0
92.5
87.0
82.0
77.0
72.0
67.0
62.5
平移
扫描野
100.0
97.6
94.2
, 百拇医药
89.7
85.5
81.4
77.0
72.4
68.3
野别
深度(cm)
9.0 10.0 11.0 12.0 13.0 14.0 15.0 16.0
固定野
58.5
64.0
, http://www.100md.com
50.0
47.0
43.9
40.0
37.0
35.0
平移
扫描野
64.6
60.3
56.5
53.6
50.5
, http://www.100md.com
46.6
43.6
41.7
注:SSD=80cm,准直器窗口10cm×5cm
图3 平称扫描照射组织D处接受的各种射线束
图4 平称扫描照射野内静态挡块的双侧移动半影
3 讨论
应该特别指出的是,对于全脊髓放射治疗一般选用高能电子线(16MeV以上)较为合适,但限于本医院加速器治疗机数量有限,平移扫描照射时间又相对较长的现实,故暂时选用了60Co做全脊髓平移扫描照射,待以后条件改善后再改用电子线作全脊髓平移扫描照射。
, http://www.100md.com
电离室法测量结果显示在相同的物理条件下60 Co平移扫描照射的百分深度剂量比固定野照射时要高(表3),这与冯宁远等[1]报道的结果相似。60Co固定野照射时,野内任何一处组织直接接受照射的射线仅来自某一固定方向的射线束,几何半影区的射线束对百分深度剂量几乎没有多大影响(除散射线外);而60Co平移扫描照射相当于无数个连续依序紧密排列的微小固定照射野的叠加,野内任何一处组织直接接受照射的射线束来自于同一纵轴上所有方向射线束的依次照射,其接受的剂量是所有受照射线剂量的总和,它包括了移动半影区射线束的照射(图3)。笔者认为这是平移扫描照射能提高百分深度剂量的主要原因之一;第二大原因为照射野内深部组织受照射的时间要比浅部组织长,且组织受照射时间随着深度的增加而增加。大多数射线不是垂直而是有一定入射角的,在固定野照射时,野内任何组织的受照射时间是相同的;但在平移扫描照射时则不然,由于治疗床的运动,深部组织受到照射时,其上相应的浅部组织尚未受到照射,而浅部组织结束照射时,其下相应的深部组织仍在接受照射,因而深部组织的百分深度量在增大(图1,表3);另外准直器铅门的半影也对百分深度量产生影响;而SSD及准直器窗口大小这两个因素影响着放射线的最大入射角,因而也会对提高百分深度量幅度产生影响。
, 百拇医药
60Co平移扫描照射时野内组织剂量均匀度更好(表1)。本组病例60 Co平移扫描照射时选用5cm×5cm的准直器窗口,如此小野即使在固定野照射时其野内组织剂量的分布也是较均匀的(表1)。在平移扫描照射时,治疗床运动速度是匀速的,准直器窗口的起始和终止状态位于照射野野外(图1);从而保证了照射野内同一平面上任何两点组织的照射时间完全相同,同时照射野内同一纵轴上任何两点组织经过准直器窗口的运行轨迹也完全一致;因而野内同一平面上任何两处组织的叠加剂量也就完全相同。从以上分析可以看出平移扫描照射野内同一平面上剂量分布均匀是有明确的物理学基础的。每次平移扫描照射所给予的组织剂量大小与放射源输出剂量率及准直器窗口大小呈正相关,与治疗床运动速度呈负相关。
平移扫描照射的半影变化情况。固定野照射时存在的几何半影、穿透半影、散射半影在平移扫描照射时同样存在。由于治疗床的平移运动,相对于野内某一处组织而言,受照射线入射角不断地变化,因而各种半影也随之出现连续的动态变化,并形成一个动态的几何形态。笔者把这种因平移扫描照射而引起的半影变化情况称之为移动半影,它是一种动态变化的几何图形。由于移动半影的存在,使得平移扫描照射时的野内档块设置变得非常复杂与困难,也限制了平移扫描照射在不规则有野内档块大野照射中的应用。全脊髓照射为长方形规则野,无需设置野内挡块,平移扫描照射时的移动半影反而提高了其百分深度剂量,所以非常适合做该方法治疗。当不规则野内存在固定挡块时,平移扫描照射产生的移动半影是双向的动态图像(图4)。根据几何定律可推导出移动半影的计算公式为P=X/2×(b+b')/a,其中X为准直器窗口的长径;a=SSD;b为托架距皮肤距离;b'为皮肤至靶区的深度。从该公式可知,其移动半影与SSD呈负相关,与准直器窗口、托架高度及靶区深度呈正相关。Lech等[2]报道静态挡块在平移扫描全身照射时23cm深处单侧的最大移动半影>6.5cm,双侧叠加则>13cm,这样就失去了挡块的应有作用,势必产生严重后果。目前笔者正在研究动态挡块以解决静态挡块的不足,以便对不规则大野进行平移扫描照射。尹贞元等[3]报道了1例利用平移扫描照射进行全身放射治疗,但文中没有涉及挡块的移动半影问题。笔者认为平移扫描照射应用于全身放射治疗是可行的,有关的研究尚在继续进行中。照射野上下界边缘区的移动半影在野内外的形状呈不对称分布(图2),野内范围大,野外范围小,野内移动半影区的剂量呈缓慢衰减,5cm深处每向外0.1cm衰减4%,而野外移动半影区的剂量呈快速衰减(表2)。
, 百拇医药
临床上一般采用分野照射技术进行全脊髓放射治疗,因而存在着相邻两照射野间匹接处的剂量分布冷点和热点问题。由于脊髓对剂量要求的严格性,所以分野照射技术对全脊髓放射治疗并不理想。平移扫描照射方法是一种不同于固定野照射的新的放射治疗模式,在大野、特大野照射方面具有很广泛的适应证和良好的发展前景。全脊髓平移扫描照射技术由于野内剂量分布均匀,不存在数个照射野的匹接问题,因此认为平移扫描照射技术是全脊髓放射治疗的首选放射治疗方法。
参考文献
1,冯宁远,刘新凡,余耘,等.电子线平移扫描照射技术及其剂量学方法、临床应用探讨.中国放射肿瘤学,1989,3:111-114.
2,Lech P, Joseph M, Colleen D, et al. The clinical application of dynamic shielding and imaging in moving table total body irradiation. Radiother Oncol, 1999, 51:219-224.
3,尹贞元,王秀兰,程广源.移动式治疗床全身照射中的应用. 中国放射肿瘤学,1991, 5:64-65.
收稿日期:2000-03-25, 百拇医药