激光诱发荧光光谱诊断大肠癌价值初探
作者:曹建彪 李世荣 高革 翟力平
单位:北京军区总医院消化内科 北京市 100700
关键词:激光诱发自体荧光;大肠癌;诊断
重庆医学000607
摘 要 目的 研究用激光诱发自体荧光(LIF)诊断大肠癌的光 谱诊断标准。方法 采用LIF技术对58例大肠癌标本进行了检测。 结果 有53例(91.4%)癌标本主峰峰强度<5500u,次峰峰强度<2000u ,波谷强度<1800u;而相应的非癌对照组织主峰峰强度>11000u,次峰峰强度>4000u,波谷 强度>3800u。用该标准诊断大肠癌,敏感度91.4%,特异度100%,假阳性率0,假阴性率0. 91%。结论 癌组织与非癌组织的LIF有明显差异,通过测定组织LIF 主、次峰及波谷的峰强度,可有效区别癌与正常组织。
, 百拇医药
Studies on the Diagnostic Standard of Colorectal Carcinoma by Laser-induced Fluorescence
Cao Jianbiao,Li Shirong, Gao Ge, et al.
(Department of Gastroenterology,Beijing Army General Hospital.Be ijing 100700)
Abstract Objective:This study was attempted to confirm the diagnostic standard of colorectal carcinoma using the technique of Laser-i nduced fluorescence(LIF).Methods:58 surgically removed spe cimens of colorectal cancer with surrounding non-cancer tissues were detected b y LIF.Results:In 53 of 58 cancer specimens(91.4%),the inte nsities of the first and second wave peak and the trough did not above 5500u,200 u and 1800u respectively;but in normal tissues,they were>11000u,>4000u,>3800u re spectively. If these data were regarded as diagnostic standard of LIF, the sensi tivity,specificity,false positive rate,false negative rate,positive protective v alue, negative predicive value,and coincidence rate attained 91.4%,100%,0,8.6%,1 00%,92.7%and 95.7% respectively,Youden's index was 0.91.Conclusion:[ WT5”BZ There were obvious differentiate between cancer and non-cancer tissues on their LIF. These results suggest that neoplastic tissues can be distinguishe d from non-neoplastic tissues with detection of intensities of the first and se cond wave peak and of the trough.
, 百拇医药
Key words:Laser-induced fluorescence Colorectal carcin oma Diagnosis
近年来,我国大肠癌的发病率呈逐年增加趋势,严重威胁着人们的生命和健康。大肠癌早期 可无任何症状,临床诊断的病例,多属中、晚期,5年存活率不超过50%,因此早期诊断大肠 癌成为一个很困难又很必要的研究课题。结肠镜检查是目前确诊大肠癌最有效手段,但操作 过程中主要凭借医生的经验进行活检,带有一定的盲目性,早期病变容易漏诊、误诊。激光 诱发自体荧光(Laser-induced fluorescence LIF)理论上可以区别肿瘤组织与非肿瘤组织 ,将这一技术与内镜技术结合,可实时区分癌和非癌组织,准确引导活检,提高诊断的正确 率。我们对58例大肠癌及对照标本进行了检测和总结,试给临床提供诊断大肠癌的LIF标准 ,现将结果报道如下。
1 材料与方法
58例大肠癌标本,均为我院普通外科手术切除之标本,诊断依据病理结果确定。其中,结肠 腺癌27例,直肠腺癌28例,直肠鳞癌3例。
, 百拇医药
标本不予任何固定处理,离体30min内完成检测。采用美国进口多通道色谱仪和国产氮分子 激光发生器,波长337nm激光通过直径800μm光纤激发癌组织,选择距离变区5cm左右“正常 ”粘膜作为对照组织,所诱发的荧光经OMA2000软件系统处理并记录。所有激光检测区域均 同时取材行病理检查。
统计学处理:总结各特征点波长及峰强度结果,行均数t检验。
2 结果
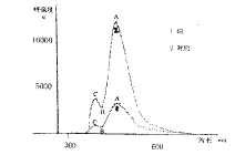
激光诱发的自体荧光光谱见图1,我们称峰强度高者为主峰(A),低者为次峰(C),主、次峰 之间最低处为波谷(B)。从图1可见,癌和对照组织的荧光波形形状相似,均有相似的主峰、 次峰和波谷,但癌组织的荧光波形明显偏低。
图1 大肠标本及对照组织LIF光谱
, 百拇医药
各特征点波长及峰强度均值统计结果见表1。
表1 58例大肠癌及对照组织各特征点波长及峰强度比较(x±sd)
波长(nm)
峰强度(u)
主峰
次峰
波谷
主峰
次峰
波谷
大肠癌
467.0±6.6
, http://www.100md.com
414.0±7.3
393.7±7.3
3680.0±962.7
848.6±361.0
983.5±360.4
对照组
462.1±2.9
414.4±3.6
397.6±6.4
12393.2±1804.3
5034.8±824.4
, http://www.100md.com 5140.9±875.3
癌/对照
1∶0.99
1∶1.00
1∶1.01
1∶3.37
1∶5.93
1∶5.23
P值
>0.05
>0.05
>0.05
<0.05
, 百拇医药
<0.01
<0.01
癌组织与对照组织各特征点波长比较,主峰对应的波长轻度红移(偏向红光波长);次峰波长 轻度紫移,波谷两组相似;癌组织同时对照组织各特征点峰强度值比,分别为1∶3.37、1 ∶5.93和1∶5.23,差别显著(P<0.05)。
58例标本中的53例(91.4%)癌标本主峰峰强度<5500u,次峰强度<2000u,波谷强度<1800u; 而对应的对照组织主峰峰强度>11000u,次峰峰强度>4000u,波谷强度>3800u。若以此作为L IF诊断大肠癌标准,则敏感度为91.4%,特异度100%,假阳性率0,假阴性率8.6%,阳性预 示值100%,阴性预示值92.1%,符合率95.7%,约登指数0.91。
另有5例(5/58,8.6%)检测结果并不完全符合上述特点,癌组织与对照组织A、B、C点峰强 度比较,其中2例几乎无差别,3例相差不显著(相差均不超过50%,P>0.05);这5例标本中, 2例为直肠腺癌,病理可见有大量纤维组织;3例病理报告为结肠腺癌,LIF检测点选择标准 与其它癌标本一致。
, 百拇医药
3 讨论
目前大肠癌的筛查方法包括:粪便潜血试验(如Hemoccult)、粪便免疫潜血试验(如Hemesele ct)、结肠镜检查或乙状结肠镜检查、钡灌肠检查、充水结肠超声检查法(hydrocolonic ult rasonography)、K-ras基因突变检测、CT模拟结肠镜检查法等[1]。上述检查方法 中结肠镜检查加活检是大肠癌最有效的确诊方法。虽然现今结肠镜型不断更新、技术日臻完 善,但早期癌的发现还主要依赖内镜医师的经验进行活检,对平坦型早期癌很难用肉眼判断 ,故易致漏诊、误诊。近年来,LIF技术在生物及医学领域的研究和应用发展十分迅速。所 谓LIF是指生物组织被一定波长的激发光激发后,处于激发态的分子在下降到基态过程中, 以光量子的形式释放出所吸收的能量,即荧光。荧光的产生与生物体特定的分子结构有关, 故不同的生物组织由于其分子结构的不同,其所对应的荧光光谱也不同[2]。这种 特异性的LIF可作为内镜下确定活检部位的参照指标,有助于提高早癌的检出率。
, http://www.100md.com
本研究结果显示,大肠癌与非癌对照组织,荧光光谱都表现为两个峰,两峰波长及峰强度均 有差异。与非癌组织比较,癌组织主峰波长略偏红光侧,次峰略偏紫光侧,LIF差异主要反 映在主、次峰及波谷的强度方面。国内外学者所报道的癌组织LIF特征不尽相同。赖鼎元等 报道,用Xe+激光作激发光,癌在630nm或690nm波长处有特征峰出现,而正常组织则无此 特点,检测癌组织敏感度达90.5%[3]。而Yakshe等发现,无论癌还是非癌组织, 荧光光谱都表现为两个峰[4];Marchesini报道结肠腺癌与相应正常组织比较,峰 强度比值在1∶1.5~1∶5之间,癌组织明显偏低[2],这与我们观察的结果相似 。
将被测标本的主、次峰及波谷峰强度作为区分癌与非癌的判别标准,癌标本主峰峰强度<550 0u,次峰峰强度<2000u,波谷强度<1800u;而对应的对照组织主峰峰强度>11000u,次峰峰 强度>4000u,波谷强度>3800u。从本研究结果看,用该标准LIF诊断大肠癌,敏感度可达91 .4%,特异度100%,假阳性率0,假阴性率8.6%,阳性预示值100%,阴性预示值92.1%,符 合率95.7%,约登指数0.91%,这些指标指示了用该标准诊断大肠癌的可行性和有效性。
, http://www.100md.com
本组资料中有5例(8.6%)未表现出上述特点,对照病理,2例癌细胞间可见到大量纤维组织 ,是否提示纤维组织增生者其LIF与正常组织差别不大,因本组资料有限,难以做出结论。 另3例病理为结肠腺癌,尚无法解释造成LIF差别不显著的原因,推测可能与粘膜下组织结构 差异有关。
癌与非癌组织LIF差异的原因目前还不十分清楚。有研究表明,<350nm短激发波长主要导致 不同病变组织荧光光谱强度不同,原因可能与组织结构(如胶原含量)不同,或细胞代谢活力 (NADH)差异有关,认为癌组织反映的自体荧光是来自生物体内的内源性卟啉;>350nm长激发 波长主要引起光谱形状的差异,原因可能与来自机体与肿瘤组织的相互作用如炎症反应、组 织变性过程中产生的荧光物质(如脂肪小体、中性粒细胞的大量颗粒)等相关[5]。 Marchesini等的研究则显示,LIF光谱差异与粘膜下层结构的不同密切相关[6]。
综上所述,癌组织与正常组织的LIF存在着明显的差异,通过测定组织LIF主、次峰及波谷的 峰强度,可有效区别癌与正常组织。若应用于内镜下,可有助实时区分癌与正常组织,提高 癌检出率。当然之还需要进一步的体内研究验证。
, http://www.100md.com
参考文献
1,Schoenenberger AW, Bauerfield P, Krestin GP, et al. Virtual co lonoscopy with magnetic resonance imaging:in vitro evaluation of a new concept. Gastroenterology,1997,112:1863~1870
2,Marchesini R, Brambilla M, Pignoli E, et al. Laser-induced fl uorescence spectroscopy of adenomas, adenocarcinomas and non-neoplastic mucosa in human colon. J Photochem Photobiol,Boil,1992,14:219~224
3,赖鼎元,莫利勤.内镜下激光荧光检查食管癌、胃癌及癌前病变的研究 .中华消化内镜杂志,1998,15(3):163
, 百拇医药
4,Yashke PN, Bonner RF, Cohen P, et al. Laser-induced fluoresce nce spectroscopy may distinguish colon cancer from normal human colon. Gastroint est Endosc,1989,35:184~189
5,Bottirol G, Croce AC, Locatelli D. Natural fluorescence of nor mal and neoplastic human colon:a comphrehensive "EX VIVO" study. Laser in Surger y and Medicine,1995,16:48~52
6,Marchesini R, Pignoli E, Tomatis S, et al. Ex Vivo optical pro perties of human colon tissue. Laser in Surgery and Medicine,1994,15:351~357
, 百拇医药
单位:北京军区总医院消化内科 北京市 100700
关键词:激光诱发自体荧光;大肠癌;诊断
重庆医学000607
摘 要 目的 研究用激光诱发自体荧光(LIF)诊断大肠癌的光 谱诊断标准。方法 采用LIF技术对58例大肠癌标本进行了检测。 结果 有53例(91.4%)癌标本主峰峰强度<5500u,次峰峰强度<2000u ,波谷强度<1800u;而相应的非癌对照组织主峰峰强度>11000u,次峰峰强度>4000u,波谷 强度>3800u。用该标准诊断大肠癌,敏感度91.4%,特异度100%,假阳性率0,假阴性率0. 91%。结论 癌组织与非癌组织的LIF有明显差异,通过测定组织LIF 主、次峰及波谷的峰强度,可有效区别癌与正常组织。
, 百拇医药
Studies on the Diagnostic Standard of Colorectal Carcinoma by Laser-induced Fluorescence
Cao Jianbiao,Li Shirong, Gao Ge, et al.
(Department of Gastroenterology,Beijing Army General Hospital.Be ijing 100700)
Abstract Objective:This study was attempted to confirm the diagnostic standard of colorectal carcinoma using the technique of Laser-i nduced fluorescence(LIF).Methods:58 surgically removed spe cimens of colorectal cancer with surrounding non-cancer tissues were detected b y LIF.Results:In 53 of 58 cancer specimens(91.4%),the inte nsities of the first and second wave peak and the trough did not above 5500u,200 u and 1800u respectively;but in normal tissues,they were>11000u,>4000u,>3800u re spectively. If these data were regarded as diagnostic standard of LIF, the sensi tivity,specificity,false positive rate,false negative rate,positive protective v alue, negative predicive value,and coincidence rate attained 91.4%,100%,0,8.6%,1 00%,92.7%and 95.7% respectively,Youden's index was 0.91.Conclusion:[ WT5”BZ There were obvious differentiate between cancer and non-cancer tissues on their LIF. These results suggest that neoplastic tissues can be distinguishe d from non-neoplastic tissues with detection of intensities of the first and se cond wave peak and of the trough.
, 百拇医药
Key words:Laser-induced fluorescence Colorectal carcin oma Diagnosis
近年来,我国大肠癌的发病率呈逐年增加趋势,严重威胁着人们的生命和健康。大肠癌早期 可无任何症状,临床诊断的病例,多属中、晚期,5年存活率不超过50%,因此早期诊断大肠 癌成为一个很困难又很必要的研究课题。结肠镜检查是目前确诊大肠癌最有效手段,但操作 过程中主要凭借医生的经验进行活检,带有一定的盲目性,早期病变容易漏诊、误诊。激光 诱发自体荧光(Laser-induced fluorescence LIF)理论上可以区别肿瘤组织与非肿瘤组织 ,将这一技术与内镜技术结合,可实时区分癌和非癌组织,准确引导活检,提高诊断的正确 率。我们对58例大肠癌及对照标本进行了检测和总结,试给临床提供诊断大肠癌的LIF标准 ,现将结果报道如下。
1 材料与方法
58例大肠癌标本,均为我院普通外科手术切除之标本,诊断依据病理结果确定。其中,结肠 腺癌27例,直肠腺癌28例,直肠鳞癌3例。
, 百拇医药
标本不予任何固定处理,离体30min内完成检测。采用美国进口多通道色谱仪和国产氮分子 激光发生器,波长337nm激光通过直径800μm光纤激发癌组织,选择距离变区5cm左右“正常 ”粘膜作为对照组织,所诱发的荧光经OMA2000软件系统处理并记录。所有激光检测区域均 同时取材行病理检查。
统计学处理:总结各特征点波长及峰强度结果,行均数t检验。
2 结果
激光诱发的自体荧光光谱见图1,我们称峰强度高者为主峰(A),低者为次峰(C),主、次峰 之间最低处为波谷(B)。从图1可见,癌和对照组织的荧光波形形状相似,均有相似的主峰、 次峰和波谷,但癌组织的荧光波形明显偏低。
图1 大肠标本及对照组织LIF光谱
, 百拇医药
各特征点波长及峰强度均值统计结果见表1。
表1 58例大肠癌及对照组织各特征点波长及峰强度比较(x±sd)
波长(nm)
峰强度(u)
主峰
次峰
波谷
主峰
次峰
波谷
大肠癌
467.0±6.6
, http://www.100md.com
414.0±7.3
393.7±7.3
3680.0±962.7
848.6±361.0
983.5±360.4
对照组
462.1±2.9
414.4±3.6
397.6±6.4
12393.2±1804.3
5034.8±824.4
, http://www.100md.com 5140.9±875.3
癌/对照
1∶0.99
1∶1.00
1∶1.01
1∶3.37
1∶5.93
1∶5.23
P值
>0.05
>0.05
>0.05
<0.05
, 百拇医药
<0.01
<0.01
癌组织与对照组织各特征点波长比较,主峰对应的波长轻度红移(偏向红光波长);次峰波长 轻度紫移,波谷两组相似;癌组织同时对照组织各特征点峰强度值比,分别为1∶3.37、1 ∶5.93和1∶5.23,差别显著(P<0.05)。
58例标本中的53例(91.4%)癌标本主峰峰强度<5500u,次峰强度<2000u,波谷强度<1800u; 而对应的对照组织主峰峰强度>11000u,次峰峰强度>4000u,波谷强度>3800u。若以此作为L IF诊断大肠癌标准,则敏感度为91.4%,特异度100%,假阳性率0,假阴性率8.6%,阳性预 示值100%,阴性预示值92.1%,符合率95.7%,约登指数0.91。
另有5例(5/58,8.6%)检测结果并不完全符合上述特点,癌组织与对照组织A、B、C点峰强 度比较,其中2例几乎无差别,3例相差不显著(相差均不超过50%,P>0.05);这5例标本中, 2例为直肠腺癌,病理可见有大量纤维组织;3例病理报告为结肠腺癌,LIF检测点选择标准 与其它癌标本一致。
, 百拇医药
3 讨论
目前大肠癌的筛查方法包括:粪便潜血试验(如Hemoccult)、粪便免疫潜血试验(如Hemesele ct)、结肠镜检查或乙状结肠镜检查、钡灌肠检查、充水结肠超声检查法(hydrocolonic ult rasonography)、K-ras基因突变检测、CT模拟结肠镜检查法等[1]。上述检查方法 中结肠镜检查加活检是大肠癌最有效的确诊方法。虽然现今结肠镜型不断更新、技术日臻完 善,但早期癌的发现还主要依赖内镜医师的经验进行活检,对平坦型早期癌很难用肉眼判断 ,故易致漏诊、误诊。近年来,LIF技术在生物及医学领域的研究和应用发展十分迅速。所 谓LIF是指生物组织被一定波长的激发光激发后,处于激发态的分子在下降到基态过程中, 以光量子的形式释放出所吸收的能量,即荧光。荧光的产生与生物体特定的分子结构有关, 故不同的生物组织由于其分子结构的不同,其所对应的荧光光谱也不同[2]。这种 特异性的LIF可作为内镜下确定活检部位的参照指标,有助于提高早癌的检出率。
, http://www.100md.com
本研究结果显示,大肠癌与非癌对照组织,荧光光谱都表现为两个峰,两峰波长及峰强度均 有差异。与非癌组织比较,癌组织主峰波长略偏红光侧,次峰略偏紫光侧,LIF差异主要反 映在主、次峰及波谷的强度方面。国内外学者所报道的癌组织LIF特征不尽相同。赖鼎元等 报道,用Xe+激光作激发光,癌在630nm或690nm波长处有特征峰出现,而正常组织则无此 特点,检测癌组织敏感度达90.5%[3]。而Yakshe等发现,无论癌还是非癌组织, 荧光光谱都表现为两个峰[4];Marchesini报道结肠腺癌与相应正常组织比较,峰 强度比值在1∶1.5~1∶5之间,癌组织明显偏低[2],这与我们观察的结果相似 。
将被测标本的主、次峰及波谷峰强度作为区分癌与非癌的判别标准,癌标本主峰峰强度<550 0u,次峰峰强度<2000u,波谷强度<1800u;而对应的对照组织主峰峰强度>11000u,次峰峰 强度>4000u,波谷强度>3800u。从本研究结果看,用该标准LIF诊断大肠癌,敏感度可达91 .4%,特异度100%,假阳性率0,假阴性率8.6%,阳性预示值100%,阴性预示值92.1%,符 合率95.7%,约登指数0.91%,这些指标指示了用该标准诊断大肠癌的可行性和有效性。
, http://www.100md.com
本组资料中有5例(8.6%)未表现出上述特点,对照病理,2例癌细胞间可见到大量纤维组织 ,是否提示纤维组织增生者其LIF与正常组织差别不大,因本组资料有限,难以做出结论。 另3例病理为结肠腺癌,尚无法解释造成LIF差别不显著的原因,推测可能与粘膜下组织结构 差异有关。
癌与非癌组织LIF差异的原因目前还不十分清楚。有研究表明,<350nm短激发波长主要导致 不同病变组织荧光光谱强度不同,原因可能与组织结构(如胶原含量)不同,或细胞代谢活力 (NADH)差异有关,认为癌组织反映的自体荧光是来自生物体内的内源性卟啉;>350nm长激发 波长主要引起光谱形状的差异,原因可能与来自机体与肿瘤组织的相互作用如炎症反应、组 织变性过程中产生的荧光物质(如脂肪小体、中性粒细胞的大量颗粒)等相关[5]。 Marchesini等的研究则显示,LIF光谱差异与粘膜下层结构的不同密切相关[6]。
综上所述,癌组织与正常组织的LIF存在着明显的差异,通过测定组织LIF主、次峰及波谷的 峰强度,可有效区别癌与正常组织。若应用于内镜下,可有助实时区分癌与正常组织,提高 癌检出率。当然之还需要进一步的体内研究验证。
, http://www.100md.com
参考文献
1,Schoenenberger AW, Bauerfield P, Krestin GP, et al. Virtual co lonoscopy with magnetic resonance imaging:in vitro evaluation of a new concept. Gastroenterology,1997,112:1863~1870
2,Marchesini R, Brambilla M, Pignoli E, et al. Laser-induced fl uorescence spectroscopy of adenomas, adenocarcinomas and non-neoplastic mucosa in human colon. J Photochem Photobiol,Boil,1992,14:219~224
3,赖鼎元,莫利勤.内镜下激光荧光检查食管癌、胃癌及癌前病变的研究 .中华消化内镜杂志,1998,15(3):163
, 百拇医药
4,Yashke PN, Bonner RF, Cohen P, et al. Laser-induced fluoresce nce spectroscopy may distinguish colon cancer from normal human colon. Gastroint est Endosc,1989,35:184~189
5,Bottirol G, Croce AC, Locatelli D. Natural fluorescence of nor mal and neoplastic human colon:a comphrehensive "EX VIVO" study. Laser in Surger y and Medicine,1995,16:48~52
6,Marchesini R, Pignoli E, Tomatis S, et al. Ex Vivo optical pro perties of human colon tissue. Laser in Surgery and Medicine,1994,15:351~357
, 百拇医药