2型登革病毒核酸疫苗诱导的体液免疫研究
作者:李向群 江丽芳 陈 元 方彤云 晏辉军 郭辉玉t;^v-, 百拇医药
单位:李向群 湖北医科大学病毒所临床病毒室 武汉 430071;江丽芳 陈 元 方彤云 晏辉军 郭辉玉 中山医科大学微生物学教研室 广州 510089t;^v-, 百拇医药
关键词:2型登革病毒;核酸疫苗;体液免疫t;^v-, 百拇医药
免 疫 学 杂 志990305摘 要 为研究以2型登革病毒NS3基因构建的核酸疫苗能否诱导体液免疫,用表达2型登革病毒NS3的重组真核表达质粒PSV.NS3直接接种Balb/c小鼠。结果发现在接种后2周即可检测到IgM抗体,该抗体在加强接种后滴度显著升高,6周达最高水平至少维持2个月;IgG抗体在接种后4周可检测到,8周达最高水平至少维持2个月。Western blot证实了接种小鼠血清中有NS3特异性的IgG抗体。这些结果表明我们接种的PSV.NS3能诱导Balb/c小鼠的体液免疫。t;^v-, 百拇医药
中图号 R373.33t;^v-, 百拇医药
STUDY ON HUMORAL IMMUNITY INDUCED BY NUCLEIC ACID VACCINE OF DENGUE VIRUS TYPE 2t;^v-, 百拇医药
Li Xiangqun,Jiang Lifang, Chen Yuan, Fang Tongyun, Yan Huijun, Guo Huiyut;^v-, 百拇医药
(Department of Clinical Virology, Institute of Virology Research, Hubei Medical,University,Wuhan 340071)t;^v-, 百拇医药
Abstract In order to study if the nucleic acid vaccine of Dengue virus type 2 NS3 could inducing humoural immunity. A recombinant eucaryotic plasmid expressing the NS3 gene of Dengue virus type 2 was inoculated into the guadricep of Blab/c mice. The results show that the IgM antibody can be detected in 2 weeks and significantly increased with boost inoculation and reached the highest level in 6 weeks, then remained for at least 2 monthes; The IgG antibody can be detected in 4 weeks and reached the highest level in 8 weeks, then remained for at least 2 monthes. The western blot further proved that the IgG antibody was specifically against NS3 antigen. These results suggest that the inoculation with PSV. NS3 can induce humoral immunity in Blab/c mice.
Key words Dengue virus type 2, Nucleic acid vaccine, Humoral immunityo7$4k, 百拇医药
核酸疫苗(nucleic acid vaccine)又称DNA疫苗(DNA vaccine)或基因疫苗(genetic vaccine),是指将含有编码保护性抗原的基因的真核表达质粒直接接种体内,被体细胞摄取并表达相应抗原以刺激机体产生针对该抗原的免疫应答[1]。近几年来,核酸疫苗在传染病的预防方面研究十分活跃[2~4]。我们率先用表达2型登革病毒NS3蛋白的真核表达质粒PSV.NS3作为候选登革病毒的核酸疫苗来研究其诱导的体液免疫。o7$4k, 百拇医药
1 材料与方法o7$4k, 百拇医药
1.1 病毒与细胞 2型登革病毒新几内亚株(DV-2 NGC株)及白纹伊蚊细胞本室保存。o7$4k, 百拇医药
1.2 表达质粒 重组质粒PSV.NS3及空质粒PSV.Sport1由澳大利亚Monash大学微生物学系Peter J.Wright博士惠赠[5]。o7$4k, 百拇医药
1.3 细菌 大肠杆菌E.coli DH52本室保存。o7$4k, 百拇医药
1.4 动物 Balb/c小鼠购自中山医科大学动物中心。o7$4k, 百拇医药
1.5 试剂 HRP羊抗小鼠IgM、IgG、四甲基联苯胺(TMB)、二氨基联苯胺等均购自天象人生物工程公司,Promega产品。o7$4k, 百拇医药
1.6 重组质粒PSV.NS3的大量扩增,PEG纯化及酶切鉴定 按常规方法进行[5]。o7$4k, 百拇医药
1.7 2型登革病毒的抗原制备 病变至+ + +白纹伊蚊细胞,冰融3次,8 000r/min 4°C离心20min。取上清加1/4体积的50% PEG-60000。 4°C搅拌过夜。9 000r/min 4°C离心1h,取沉淀加入5ml PBS (pH7.5)再用包被液稀释200倍作为ELISA抗原,包被40孔酶标板。
1.8 2型登革病毒的蛋白分离 上述浓缩的病毒沉淀悬于5ml Tris-HCl(pH7.4),加入SDS和二巯基乙醇,使它们的终浓度分别为1%~2%、5%。100°C加热2min,-20°C保存,SDS-PAGE分离病毒蛋白用于Western blot检测NS3抗体。jn?$!, 百拇医药
1.9 2型登革病毒核酸疫苗接种 3~4周龄Balb/c小鼠20只,随机分为两组、每组10只,接种前取尾静脉血0.5ml分离血清作阴性对照血清。经小鼠后肢股四头肌注射100μl PSV.NS3,间隔两周加强免疫1次。对照组小鼠同量、同法、同次数接种空质粒PSV.Sport1。jn?$!, 百拇医药
1.10 血清中IgM、IgG的测定 在核酸疫苗PSV.NS3接种后的不同时间,经小鼠尾静脉取血,分离血清后1∶500稀释作ELISA检测,HRP羊抗小鼠IgM、IgG 1∶1 000稀释,TMB显色。每次实验设正常细胞对照。小鼠DV2单克隆抗体作阳性对照,免疫前同只小鼠血清作阴性对照、PBS作空白对照。每个血清稀释度4孔,酶标仪测OD值,以
为阳性。相应抗体滴度经以10为底的对数转换,其转换值作统计分析。jn?$!, 百拇医药
1.11 Western blot检测血清中NS3特异性IgG抗体 用1.8法分离的DV2病毒蛋白样品30μl加样入SDS-PAGE凝胶中60V电泳,待样本入分离胶后将电压换成80V电泳4h(积层胶为4%,分离胶为13%);电泳完毕后,将胶贴在硝酸纤维素膜(NC)上,上、下各加3层与胶相等大小的滤纸,转入转印电泳槽中,电流0.19A转印5h,取出NC膜,标准蛋白Marr用氨基黑10B染色,其余条带放入平皿内加封闭液1h,37°C。加实验组和对照组小鼠血清(1∶20),37°C,1h,洗3次后,加入1∶1000 HRP羊抗鼠IgG,37°C 1h,加入新配制的DAB显色。jn?$!, 百拇医药
2 结果jn?$!, 百拇医药
2.1 PSV.NS3的酶切鉴定 选用PSV.NS3中NS3基因两侧多克隆位点KpnI、XbaI两个酶进行酶切鉴定,在3.53kb稍下和1.90kb处有两条带(见图1)与理论值3.112kb处和1.927kb相符,说明我们大量提取、纯化的质粒为PSV.NS3。
图 1PSV.NS3酶切鉴定e#6e9n, 百拇医药
Fig 1Restriction enzyme digestion of PSV.NS3e#6e9n, 百拇医药
Lane 1-2:KpnI and XbaI digestione#6e9n, 百拇医药
Lane 3:PSV.NS3 controle#6e9n, 百拇医药
Lane 4:λDNA/HindⅢ+EcoRI Marre#6e9n, 百拇医药
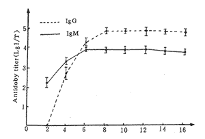
2.2 小鼠血清中IgM、IgG抗体的检测 用ELISA法检测不同时间内小鼠血清中IgM和IgG水平。在接种后2周即可检测出IgM,加强免疫后迅速升高,第6周至最高水平,至少维持2个月。IgG抗体在接种后第4周可检测出,在第8周升至最高水平,以后维持至少2个月(见图2)。对照小鼠检测不出特异性IgM、IgG。
e#6e9n, 百拇医药
图 2PSV.NS3接种小鼠不同时间IgM、IgG滴度e#6e9n, 百拇医药
Fig 2IgM、IgG titer of PSV.NS3 inoculated Balb/c mice in different timee#6e9n, 百拇医药
2.3 Western blot检测小鼠NS3特异性IgG 在NC膜上NS3蛋白抗原处(69KD)有一条阳性显色带,而PSV.Sport1空质粒对照小鼠血清中此处无带可见,这说明PSV.NS3接种小鼠的血清中有针对NS3蛋白的特异性IgG(见图3)。
e#6e9n, 百拇医药
图 3Western blot检测PSV.NS3接种小鼠NS3特异性IgG抗体
Fig 3Western blot detect the specific IgG of NS39, http://www.100md.com
3 讨论9, http://www.100md.com
本研究引进的PSV.NS3是一种多功能穿梭质粒,登革病毒的非结构蛋白NS3插入该表达质粒的多克隆位点SmalI处,在SV40早期启动子的驱动下可高效表达外源性基因。9, http://www.100md.com
我们用50μg/次PSV.NS3经Balb/c小鼠后肢股四头肌接种的方法免疫小鼠,在接种第2周即可检测出IgM,第4周可检测出IgG。用Western blot证实免疫小鼠血清中有特异性抗体IgG,这些结果与Churdboonchart等[7]用相同方法研究初次和再次感染登革出血热(DHF)患者血清的抗体反应的结果一致。这不仅说明了我们接种方法的正确,而且再次证实了核酸疫苗在诱导机体免疫应答方面有近似天然病原体感染的优点。目前,对核酸疫苗激活免疫系统的详细机理尚不十分清楚。肌细胞摄取和表达外源DNA的效率较高,这可能与肌细胞本身的结构有关[8],肌细胞可形成多核细胞,含有肌质网,骨髂肌和心肌还具有T小管系统,该系统含有细胞外液并能伸入到细胞内部将外源性质粒摄取。肌细胞可能作为一种中心成分直接参与免疫应答,另有一种观点是肌细胞的直接参与并非必需。核酸疫苗表达的外源性蛋白从肌细胞分泌出来后,被巨噬细胞/或树突状细胞吞噬、处理、提呈而诱导特异性免疫。我们将PSV.NS3直接注入小鼠肌肉组织中成功地诱导了特异性的体液免疫,该体液免疫的保护作用有待进一步研究。9, http://www.100md.com
中美医学会(CMB)资助项目,为作者在中山医科大学做访问学者时所做的部分工作9, http://www.100md.com
第一作者:男,35岁,硕士,讲师9, http://www.100md.com
参考文献9, http://www.100md.com
1 Ellen FF, Robert GW, Deborah H, et al. DNA vaccines: A novel approach to immunization. Int J Immunopharmac, 1995, 17(2):79
2 Ulmer JB, Deck RR, Dewitt CM, et al. Protective immunity by intramuscular injection of low dose of influenza virus DNA vaccine. Vaccine, 1994, 12:15410i%3, 百拇医药
3 Cuisinier AM, Mallet A, Meyer C, et al. DNA vaccination using expression vectors carrying FIV structural genes induce immune response against feline immunodeficiency virus. Vaccine, 1997, 15(10):10850i%3, 百拇医药
4 Masayuki Y, Jie Z, Whitton TL. DNA immunization confers protection against lethal lymphocytic choriomeningtits virus infection. J Virol, 1995, 69(4):26840i%3, 百拇医药
5 Keng FT, Peter JW. Internal proteolysis of the NS3 protein specified by dengue virus 2. J Gen Virol, 1997, 78:3370i%3, 百拇医药
6 Sambrook J, Fritsch EF, Maniatis T. Molecular Cloning:A laboratory manual. 2nd ed.NY: Cold Spring Harbor Laboratary Press, 19890i%3, 百拇医药
7 Churdboonchart V, Cellina HC, Gorcia G, et al. Antibodies against dengue viral protein in primary and se-condary hemorrhagic fever. Am J Trop Hyp, 1991, 44(5):4810i%3, 百拇医药
8 Wolff JA, Mallone RW, Williams P, et al. Direct gene transfer into mouse muscule in vivo. Science, 1990, 247:14560i%3, 百拇医药
(1998-11-02收稿;1999-02-26修回)(李向群 江丽芳 陈 元 方彤云 晏辉军 郭辉玉)
单位:李向群 湖北医科大学病毒所临床病毒室 武汉 430071;江丽芳 陈 元 方彤云 晏辉军 郭辉玉 中山医科大学微生物学教研室 广州 510089t;^v-, 百拇医药
关键词:2型登革病毒;核酸疫苗;体液免疫t;^v-, 百拇医药
免 疫 学 杂 志990305摘 要 为研究以2型登革病毒NS3基因构建的核酸疫苗能否诱导体液免疫,用表达2型登革病毒NS3的重组真核表达质粒PSV.NS3直接接种Balb/c小鼠。结果发现在接种后2周即可检测到IgM抗体,该抗体在加强接种后滴度显著升高,6周达最高水平至少维持2个月;IgG抗体在接种后4周可检测到,8周达最高水平至少维持2个月。Western blot证实了接种小鼠血清中有NS3特异性的IgG抗体。这些结果表明我们接种的PSV.NS3能诱导Balb/c小鼠的体液免疫。t;^v-, 百拇医药
中图号 R373.33t;^v-, 百拇医药
STUDY ON HUMORAL IMMUNITY INDUCED BY NUCLEIC ACID VACCINE OF DENGUE VIRUS TYPE 2t;^v-, 百拇医药
Li Xiangqun,Jiang Lifang, Chen Yuan, Fang Tongyun, Yan Huijun, Guo Huiyut;^v-, 百拇医药
(Department of Clinical Virology, Institute of Virology Research, Hubei Medical,University,Wuhan 340071)t;^v-, 百拇医药
Abstract In order to study if the nucleic acid vaccine of Dengue virus type 2 NS3 could inducing humoural immunity. A recombinant eucaryotic plasmid expressing the NS3 gene of Dengue virus type 2 was inoculated into the guadricep of Blab/c mice. The results show that the IgM antibody can be detected in 2 weeks and significantly increased with boost inoculation and reached the highest level in 6 weeks, then remained for at least 2 monthes; The IgG antibody can be detected in 4 weeks and reached the highest level in 8 weeks, then remained for at least 2 monthes. The western blot further proved that the IgG antibody was specifically against NS3 antigen. These results suggest that the inoculation with PSV. NS3 can induce humoral immunity in Blab/c mice.
Key words Dengue virus type 2, Nucleic acid vaccine, Humoral immunityo7$4k, 百拇医药
核酸疫苗(nucleic acid vaccine)又称DNA疫苗(DNA vaccine)或基因疫苗(genetic vaccine),是指将含有编码保护性抗原的基因的真核表达质粒直接接种体内,被体细胞摄取并表达相应抗原以刺激机体产生针对该抗原的免疫应答[1]。近几年来,核酸疫苗在传染病的预防方面研究十分活跃[2~4]。我们率先用表达2型登革病毒NS3蛋白的真核表达质粒PSV.NS3作为候选登革病毒的核酸疫苗来研究其诱导的体液免疫。o7$4k, 百拇医药
1 材料与方法o7$4k, 百拇医药
1.1 病毒与细胞 2型登革病毒新几内亚株(DV-2 NGC株)及白纹伊蚊细胞本室保存。o7$4k, 百拇医药
1.2 表达质粒 重组质粒PSV.NS3及空质粒PSV.Sport1由澳大利亚Monash大学微生物学系Peter J.Wright博士惠赠[5]。o7$4k, 百拇医药
1.3 细菌 大肠杆菌E.coli DH52本室保存。o7$4k, 百拇医药
1.4 动物 Balb/c小鼠购自中山医科大学动物中心。o7$4k, 百拇医药
1.5 试剂 HRP羊抗小鼠IgM、IgG、四甲基联苯胺(TMB)、二氨基联苯胺等均购自天象人生物工程公司,Promega产品。o7$4k, 百拇医药
1.6 重组质粒PSV.NS3的大量扩增,PEG纯化及酶切鉴定 按常规方法进行[5]。o7$4k, 百拇医药
1.7 2型登革病毒的抗原制备 病变至+ + +白纹伊蚊细胞,冰融3次,8 000r/min 4°C离心20min。取上清加1/4体积的50% PEG-60000。 4°C搅拌过夜。9 000r/min 4°C离心1h,取沉淀加入5ml PBS (pH7.5)再用包被液稀释200倍作为ELISA抗原,包被40孔酶标板。
1.8 2型登革病毒的蛋白分离 上述浓缩的病毒沉淀悬于5ml Tris-HCl(pH7.4),加入SDS和二巯基乙醇,使它们的终浓度分别为1%~2%、5%。100°C加热2min,-20°C保存,SDS-PAGE分离病毒蛋白用于Western blot检测NS3抗体。jn?$!, 百拇医药
1.9 2型登革病毒核酸疫苗接种 3~4周龄Balb/c小鼠20只,随机分为两组、每组10只,接种前取尾静脉血0.5ml分离血清作阴性对照血清。经小鼠后肢股四头肌注射100μl PSV.NS3,间隔两周加强免疫1次。对照组小鼠同量、同法、同次数接种空质粒PSV.Sport1。jn?$!, 百拇医药
1.10 血清中IgM、IgG的测定 在核酸疫苗PSV.NS3接种后的不同时间,经小鼠尾静脉取血,分离血清后1∶500稀释作ELISA检测,HRP羊抗小鼠IgM、IgG 1∶1 000稀释,TMB显色。每次实验设正常细胞对照。小鼠DV2单克隆抗体作阳性对照,免疫前同只小鼠血清作阴性对照、PBS作空白对照。每个血清稀释度4孔,酶标仪测OD值,以
1.11 Western blot检测血清中NS3特异性IgG抗体 用1.8法分离的DV2病毒蛋白样品30μl加样入SDS-PAGE凝胶中60V电泳,待样本入分离胶后将电压换成80V电泳4h(积层胶为4%,分离胶为13%);电泳完毕后,将胶贴在硝酸纤维素膜(NC)上,上、下各加3层与胶相等大小的滤纸,转入转印电泳槽中,电流0.19A转印5h,取出NC膜,标准蛋白Marr用氨基黑10B染色,其余条带放入平皿内加封闭液1h,37°C。加实验组和对照组小鼠血清(1∶20),37°C,1h,洗3次后,加入1∶1000 HRP羊抗鼠IgG,37°C 1h,加入新配制的DAB显色。jn?$!, 百拇医药
2 结果jn?$!, 百拇医药
2.1 PSV.NS3的酶切鉴定 选用PSV.NS3中NS3基因两侧多克隆位点KpnI、XbaI两个酶进行酶切鉴定,在3.53kb稍下和1.90kb处有两条带(见图1)与理论值3.112kb处和1.927kb相符,说明我们大量提取、纯化的质粒为PSV.NS3。
图 1PSV.NS3酶切鉴定e#6e9n, 百拇医药
Fig 1Restriction enzyme digestion of PSV.NS3e#6e9n, 百拇医药
Lane 1-2:KpnI and XbaI digestione#6e9n, 百拇医药
Lane 3:PSV.NS3 controle#6e9n, 百拇医药
Lane 4:λDNA/HindⅢ+EcoRI Marre#6e9n, 百拇医药
2.2 小鼠血清中IgM、IgG抗体的检测 用ELISA法检测不同时间内小鼠血清中IgM和IgG水平。在接种后2周即可检测出IgM,加强免疫后迅速升高,第6周至最高水平,至少维持2个月。IgG抗体在接种后第4周可检测出,在第8周升至最高水平,以后维持至少2个月(见图2)。对照小鼠检测不出特异性IgM、IgG。
图 2PSV.NS3接种小鼠不同时间IgM、IgG滴度e#6e9n, 百拇医药
Fig 2IgM、IgG titer of PSV.NS3 inoculated Balb/c mice in different timee#6e9n, 百拇医药
2.3 Western blot检测小鼠NS3特异性IgG 在NC膜上NS3蛋白抗原处(69KD)有一条阳性显色带,而PSV.Sport1空质粒对照小鼠血清中此处无带可见,这说明PSV.NS3接种小鼠的血清中有针对NS3蛋白的特异性IgG(见图3)。
图 3Western blot检测PSV.NS3接种小鼠NS3特异性IgG抗体
Fig 3Western blot detect the specific IgG of NS39, http://www.100md.com
3 讨论9, http://www.100md.com
本研究引进的PSV.NS3是一种多功能穿梭质粒,登革病毒的非结构蛋白NS3插入该表达质粒的多克隆位点SmalI处,在SV40早期启动子的驱动下可高效表达外源性基因。9, http://www.100md.com
我们用50μg/次PSV.NS3经Balb/c小鼠后肢股四头肌接种的方法免疫小鼠,在接种第2周即可检测出IgM,第4周可检测出IgG。用Western blot证实免疫小鼠血清中有特异性抗体IgG,这些结果与Churdboonchart等[7]用相同方法研究初次和再次感染登革出血热(DHF)患者血清的抗体反应的结果一致。这不仅说明了我们接种方法的正确,而且再次证实了核酸疫苗在诱导机体免疫应答方面有近似天然病原体感染的优点。目前,对核酸疫苗激活免疫系统的详细机理尚不十分清楚。肌细胞摄取和表达外源DNA的效率较高,这可能与肌细胞本身的结构有关[8],肌细胞可形成多核细胞,含有肌质网,骨髂肌和心肌还具有T小管系统,该系统含有细胞外液并能伸入到细胞内部将外源性质粒摄取。肌细胞可能作为一种中心成分直接参与免疫应答,另有一种观点是肌细胞的直接参与并非必需。核酸疫苗表达的外源性蛋白从肌细胞分泌出来后,被巨噬细胞/或树突状细胞吞噬、处理、提呈而诱导特异性免疫。我们将PSV.NS3直接注入小鼠肌肉组织中成功地诱导了特异性的体液免疫,该体液免疫的保护作用有待进一步研究。9, http://www.100md.com
中美医学会(CMB)资助项目,为作者在中山医科大学做访问学者时所做的部分工作9, http://www.100md.com
第一作者:男,35岁,硕士,讲师9, http://www.100md.com
参考文献9, http://www.100md.com
1 Ellen FF, Robert GW, Deborah H, et al. DNA vaccines: A novel approach to immunization. Int J Immunopharmac, 1995, 17(2):79
2 Ulmer JB, Deck RR, Dewitt CM, et al. Protective immunity by intramuscular injection of low dose of influenza virus DNA vaccine. Vaccine, 1994, 12:15410i%3, 百拇医药
3 Cuisinier AM, Mallet A, Meyer C, et al. DNA vaccination using expression vectors carrying FIV structural genes induce immune response against feline immunodeficiency virus. Vaccine, 1997, 15(10):10850i%3, 百拇医药
4 Masayuki Y, Jie Z, Whitton TL. DNA immunization confers protection against lethal lymphocytic choriomeningtits virus infection. J Virol, 1995, 69(4):26840i%3, 百拇医药
5 Keng FT, Peter JW. Internal proteolysis of the NS3 protein specified by dengue virus 2. J Gen Virol, 1997, 78:3370i%3, 百拇医药
6 Sambrook J, Fritsch EF, Maniatis T. Molecular Cloning:A laboratory manual. 2nd ed.NY: Cold Spring Harbor Laboratary Press, 19890i%3, 百拇医药
7 Churdboonchart V, Cellina HC, Gorcia G, et al. Antibodies against dengue viral protein in primary and se-condary hemorrhagic fever. Am J Trop Hyp, 1991, 44(5):4810i%3, 百拇医药
8 Wolff JA, Mallone RW, Williams P, et al. Direct gene transfer into mouse muscule in vivo. Science, 1990, 247:14560i%3, 百拇医药
(1998-11-02收稿;1999-02-26修回)(李向群 江丽芳 陈 元 方彤云 晏辉军 郭辉玉)