多波长线性回归分光光度法测定联磺甲氧苄啶片中三组分含量
作者:周明达 邓凯佳 李战辉 文莉
单位:周明达 邓凯佳 李战辉 文莉(湖南医科大学基础医学院 长沙 410078)
关键词:多波长线性回归;紫外分光光度法;联磺甲氧苄啶片;磺胺甲[ HT5,6K〗口 恶唑;磺胺嘧啶;甲氧苄啶
西北药学杂志000304 摘要 用改进的多波长线性回归分光光度法同时测定了联磺甲氧苄啶片中 三组分的含量,磺胺甲口 恶唑、磺胺嘧啶、甲氧苄啶的平 均回收率分别为100.23%,99.87%,100.58%,RSD分别为0.35%,0.38%,0.73%。
联磺甲氧苄啶片含量测定,中国药典〔1〕用双波长分光光度 法测定磺胺嘧啶,亚硝酸钠滴定法测定磺胺甲口 恶唑,提 取分光光度法测定甲氧苄啶,操作较繁琐。本文对传统的多波长线性回归分光光度法〔 2〕进行改进,实现了联磺甲氧苄啶片中三组分同时测定。
, http://www.100md.com
1 基本原理
对于三组分混合溶液,在波长i(=1,2,…n)处有:Ai/C=E1if1+E2if 2+E3if3=(E1i-E3i)f1+(E2i-E3i)f2+E 3i……(1)
式中:A1为混合溶液吸光度,C为总浓度,E1i,E2i,E3i分别为组分 1,2,3在波i处的吸收系数,f1,f2,f3分别为相应组分的浓度分数。经推导得:
……(2)
, http://www.100md.com
对(2)式回归,求出f1,f2,f3(=1-f1-f2),则C1=f1C, C2=f2C, C3=f3C。
2 实验部分
2.1 仪器 751G型分光光度计(上海分析仪器厂);7530 型分光光度计(上海惠普分析仪器有限公司)。
2.2 试药 磺胺甲口 恶 唑、磺胺嘧啶、甲氧苄啶原料药(湖南制药厂提供);联磺甲氧苄啶片(市售品)。
2.3 方法 称取磺胺甲口 恶[ HT〗唑(SMZ)、磺胺嘧啶(SD)、甲氧 苄啶(TMP)原料药,以0.1mol/L盐酸配成适宜浓度,0.1mol/L盐酸作参比,1cm比色皿,0 .2nm狭缝,波长间隔1nm,在210~250nm波长范围扫描测定吸光度。
, http://www.100md.com
3 结果与讨论
3.1 溶剂的选择 三组分均溶于乙醇、稀酸、稀碱。乙 醇易挥发且体积温度系数大。TMP乙醇溶液吸收值小,稳定性差,在碱性溶液中稳定 时间短。以0.1mol/L盐酸作溶剂,三者均有较大吸收,SMZ吸光度受酸度的影响〔3〕 可以忽略,吸光度10h内不变。
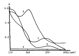
3.2 吸收光谱 10μg/ml SMZ,10μg/ml SD,4μg/ml TMP的收光谱如图1。在210~250nm内各组分都有较大的吸收系数,且各组分吸收系数的变 化与差值也较大。淀粉、硬脂酸镁辅料基本无吸收。
图1 紫外吸收光谱图
1-磺胺甲口恶唑 2-磺胺嘧啶 3-甲氧苄啶 4-辅料
, http://www.100md.com
3.3 线性范围和吸收度加和性 SMZ 0~15μg/ml,SD 0 ~15μg/ml,TMP 0~10μg/ml符合比耳定律,吸光度加和性良好,测定值与计算值之差不 大于3%。
3.4 吸收系数的确定 分取SMZ 8.0,9.0,10.0,11 .0,12.0μg/ml,SD 8.0,9.0,10.0,11.0,12.0μg/ml,TMP 3.2,3.6,4.0 ,4.4,4.8μg/ml溶液,在各波长点测定吸光度,分别计算吸收系数,取平均值作为各组 分在相应波长的吸收系数。
3.5 测定波长范围和波长点数的选择 为提高计算精度 ,测定波长范围选择在各组分吸收系数差值较大的部分。由计算考查,选择214,218,22 2,226,230,234,238,242,246nm 9个波长作为测定波长时结果最佳,测定数据由计算 机处理(QBASIC语言,自编)。
3.6 回收率及精密度试验 按处方比例并考虑20%的变化 幅度,按正交试验方案设计浓度比例,配制9份混合溶液,测定结果如表1。按处方配制模拟 样品,平行测定10次,SMZ,SD,TMP的RSD分别为0.35%,0.38%,0.73%。
, 百拇医药
3.7 样品分析 分别取三个批号的联磺甲氧苄啶片10片 ,称重,研细,称取相当于1/4片重药粉;以0.1mol/L盐酸,60℃水浴振摇下溶解,冷却后 转入100ml量瓶,0.1mol/L盐酸定容,摇匀;滤过,取续滤液1ml依法测定,结果如表2。
表1 回收率试验结果
磺胺甲口 恶唑
磺胺嘧啶
甲氧苄啶
加入量
(μg/ml)
测得量
(μg/ml)
回收率
, http://www.100md.com
(%)
加入量
( μg/ml)
测得量
(μg/ml)
回收率
(%)
加入量
(μg/ml)
测得量
(μg/ml)
回收率
(%)
, http://www.100md.com
8.00
8.10
101.25
8.00
7.98
99.75
3.20
3.14
98 .33
8.00
7.96
99.50
8.00
, 百拇医药
8.06
100.75
3. 20
3.17
98.13
8.00
8.06
100.75
8.00
8.00
100.00
3.2 0
3.18
, 百拇医药
99.38
10.00
10.06
100.06
10.00
9.93
99.93
4 .00
4.04
101.00
10.00
10.08
100.08
, 百拇医药
10.00
9.99
99.90
4 .00
4.05
101.25
10.00
9.93
99.30
10.00
10.07
100.70
4 .00
, http://www.100md.com
4.06
101.50
12.00
12.03
100.25
12.00
11.86
98.83
4 .80
4.73
99.54
12.00
11.93
, http://www.100md.com
99.42
12.00
11.94
99.50
4 .80
4.75
98.96
12.00
12.10
100.83
12.00
12.03
100.25
, 百拇医药
4.80
4.76
99.17
(RSD%)
100.16(0.68)
99.96(0.59)
99.58(1.31)
表2 联磺甲氧苄啶片含量测定结果(mg/片) 样 品
本 法
药典法
SMZ
SD
, 百拇医药
TMP
SMZ
SD
TMP
980321-1
202.8
208.0
81 .70
203.3
208.7
81.4
980321-4
188.8
, http://www.100md.com
200.3
74.05
188.0
201.0
73.2
981023-1
191.5
194.5
74.83
190.0
195.0
75.5
西安医科大学药学院1999年毕业
参考文献
〔1〕中国药典1995年版.二部.1995:843
〔2〕陈国珍,黄贤智,刘文远,等编著.紫外-可见分 光光度法(上册).北京:原子能出版社,1983:175
〔3〕刘承叶.三波长分光光度法测定复方新诺明片含量 .药物分析杂志,1986,6(4):213
(收稿:1999-09-04), 百拇医药
单位:周明达 邓凯佳 李战辉 文莉(湖南医科大学基础医学院 长沙 410078)
关键词:多波长线性回归;紫外分光光度法;联磺甲氧苄啶片;磺胺甲[ HT5,6K〗口 恶唑;磺胺嘧啶;甲氧苄啶
西北药学杂志000304 摘要 用改进的多波长线性回归分光光度法同时测定了联磺甲氧苄啶片中 三组分的含量,磺胺甲口 恶唑、磺胺嘧啶、甲氧苄啶的平 均回收率分别为100.23%,99.87%,100.58%,RSD分别为0.35%,0.38%,0.73%。
联磺甲氧苄啶片含量测定,中国药典〔1〕用双波长分光光度 法测定磺胺嘧啶,亚硝酸钠滴定法测定磺胺甲口 恶唑,提 取分光光度法测定甲氧苄啶,操作较繁琐。本文对传统的多波长线性回归分光光度法〔 2〕进行改进,实现了联磺甲氧苄啶片中三组分同时测定。
, http://www.100md.com
1 基本原理
对于三组分混合溶液,在波长i(=1,2,…n)处有:Ai/C=E1if1+E2if 2+E3if3=(E1i-E3i)f1+(E2i-E3i)f2+E 3i……(1)
式中:A1为混合溶液吸光度,C为总浓度,E1i,E2i,E3i分别为组分 1,2,3在波i处的吸收系数,f1,f2,f3分别为相应组分的浓度分数。经推导得:
, http://www.100md.com
对(2)式回归,求出f1,f2,f3(=1-f1-f2),则C1=f1C, C2=f2C, C3=f3C。
2 实验部分
2.1 仪器 751G型分光光度计(上海分析仪器厂);7530 型分光光度计(上海惠普分析仪器有限公司)。
2.2 试药 磺胺甲口 恶 唑、磺胺嘧啶、甲氧苄啶原料药(湖南制药厂提供);联磺甲氧苄啶片(市售品)。
2.3 方法 称取磺胺甲口 恶[ HT〗唑(SMZ)、磺胺嘧啶(SD)、甲氧 苄啶(TMP)原料药,以0.1mol/L盐酸配成适宜浓度,0.1mol/L盐酸作参比,1cm比色皿,0 .2nm狭缝,波长间隔1nm,在210~250nm波长范围扫描测定吸光度。
, http://www.100md.com
3 结果与讨论
3.1 溶剂的选择 三组分均溶于乙醇、稀酸、稀碱。乙 醇易挥发且体积温度系数大。TMP乙醇溶液吸收值小,稳定性差,在碱性溶液中稳定 时间短。以0.1mol/L盐酸作溶剂,三者均有较大吸收,SMZ吸光度受酸度的影响〔3〕 可以忽略,吸光度10h内不变。
3.2 吸收光谱 10μg/ml SMZ,10μg/ml SD,4μg/ml TMP的收光谱如图1。在210~250nm内各组分都有较大的吸收系数,且各组分吸收系数的变 化与差值也较大。淀粉、硬脂酸镁辅料基本无吸收。
图1 紫外吸收光谱图
1-磺胺甲口恶唑 2-磺胺嘧啶 3-甲氧苄啶 4-辅料
, http://www.100md.com
3.3 线性范围和吸收度加和性 SMZ 0~15μg/ml,SD 0 ~15μg/ml,TMP 0~10μg/ml符合比耳定律,吸光度加和性良好,测定值与计算值之差不 大于3%。
3.4 吸收系数的确定 分取SMZ 8.0,9.0,10.0,11 .0,12.0μg/ml,SD 8.0,9.0,10.0,11.0,12.0μg/ml,TMP 3.2,3.6,4.0 ,4.4,4.8μg/ml溶液,在各波长点测定吸光度,分别计算吸收系数,取平均值作为各组 分在相应波长的吸收系数。
3.5 测定波长范围和波长点数的选择 为提高计算精度 ,测定波长范围选择在各组分吸收系数差值较大的部分。由计算考查,选择214,218,22 2,226,230,234,238,242,246nm 9个波长作为测定波长时结果最佳,测定数据由计算 机处理(QBASIC语言,自编)。
3.6 回收率及精密度试验 按处方比例并考虑20%的变化 幅度,按正交试验方案设计浓度比例,配制9份混合溶液,测定结果如表1。按处方配制模拟 样品,平行测定10次,SMZ,SD,TMP的RSD分别为0.35%,0.38%,0.73%。
, 百拇医药
3.7 样品分析 分别取三个批号的联磺甲氧苄啶片10片 ,称重,研细,称取相当于1/4片重药粉;以0.1mol/L盐酸,60℃水浴振摇下溶解,冷却后 转入100ml量瓶,0.1mol/L盐酸定容,摇匀;滤过,取续滤液1ml依法测定,结果如表2。
表1 回收率试验结果
磺胺甲口 恶唑
磺胺嘧啶
甲氧苄啶
加入量
(μg/ml)
测得量
(μg/ml)
回收率
, http://www.100md.com
(%)
加入量
( μg/ml)
测得量
(μg/ml)
回收率
(%)
加入量
(μg/ml)
测得量
(μg/ml)
回收率
(%)
, http://www.100md.com
8.00
8.10
101.25
8.00
7.98
99.75
3.20
3.14
98 .33
8.00
7.96
99.50
8.00
, 百拇医药
8.06
100.75
3. 20
3.17
98.13
8.00
8.06
100.75
8.00
8.00
100.00
3.2 0
3.18
, 百拇医药
99.38
10.00
10.06
100.06
10.00
9.93
99.93
4 .00
4.04
101.00
10.00
10.08
100.08
, 百拇医药
10.00
9.99
99.90
4 .00
4.05
101.25
10.00
9.93
99.30
10.00
10.07
100.70
4 .00
, http://www.100md.com
4.06
101.50
12.00
12.03
100.25
12.00
11.86
98.83
4 .80
4.73
99.54
12.00
11.93
, http://www.100md.com
99.42
12.00
11.94
99.50
4 .80
4.75
98.96
12.00
12.10
100.83
12.00
12.03
100.25
, 百拇医药
4.80
4.76
99.17
100.16(0.68)
99.96(0.59)
99.58(1.31)
表2 联磺甲氧苄啶片含量测定结果(mg/片) 样 品
本 法
药典法
SMZ
SD
, 百拇医药
TMP
SMZ
SD
TMP
980321-1
202.8
208.0
81 .70
203.3
208.7
81.4
980321-4
188.8
, http://www.100md.com
200.3
74.05
188.0
201.0
73.2
981023-1
191.5
194.5
74.83
190.0
195.0
75.5
西安医科大学药学院1999年毕业
参考文献
〔1〕中国药典1995年版.二部.1995:843
〔2〕陈国珍,黄贤智,刘文远,等编著.紫外-可见分 光光度法(上册).北京:原子能出版社,1983:175
〔3〕刘承叶.三波长分光光度法测定复方新诺明片含量 .药物分析杂志,1986,6(4):213
(收稿:1999-09-04), 百拇医药