输血袋渗漏的预防和处理
作者:王凤莲 马桂玲
单位:白求恩医科大学第二临床学院血库,长春 130041
关键词:
护理学杂志990556
输血是较普遍的治疗手段,输血治疗的某些独特疗效不能为其他治疗所取代。但由于输血器材不配套,质量不好,护士操作不规范等原因,输血时使血液向血袋外渗漏的现象时有发生。1997~1998年本库发生血袋漏血13例,我们采用止血钳钳夹法,改变输血通道后,解决了漏血问题,报道如下。
1 漏血原因
护士操作不规范刺破血袋,输血器针头进入血袋过长,走向与血袋长轴未保持平行状态,输血器针头刺破血袋3例。
血袋属塑料制品,在低温状态下变硬,可塑性降低,使针头穿过保护管横隔部位后,导致横隔内孔与针头接触部位有间隙而渗血10例。
2 预防和处理
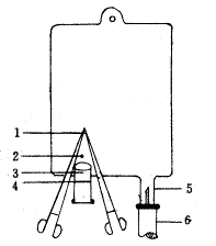
①输血时将输血器针头穿过保护管内横隔而针尖部留在保护管内;操作时始终将针头与血袋长轴保持平行状态,即使用力过大,针尖超出保护管也不会刺破血袋。②一旦刺破了血袋,迅速用无菌棉签擦掉渗出的血液,碘酒消毒破口周围,用一小块无菌棉片敷盖渗漏部位,并用胶布粘牢。然后将血袋倒立,用两把止血钳的钳尖相对地将漏洞夹在两钳中间,见附图。用碘酒棉签消毒血袋采血管顶端,用另一把止血钳夹住采血管根部靠近血袋1 cm处,用无菌剪刀剪掉其顶端,将输血器针头拔出,快速插入采血管,用胶布固定好接合部位,取下采血管端的止血钳,改变血袋输血通道,较好地解决了漏血问题。④非抢救性输血,库血取回后在室温下放置15 min左右,使血袋自然升温,可减少保护管内横隔部位渗漏现象的发生。
附图 血袋渗漏钳夹法示意图
1 止血钳 2 针尖刺破处 3 保护管 4 横隔 5 输血器 6 采血管
(1998-12-17 收稿), http://www.100md.com
单位:白求恩医科大学第二临床学院血库,长春 130041
关键词:
护理学杂志990556
输血是较普遍的治疗手段,输血治疗的某些独特疗效不能为其他治疗所取代。但由于输血器材不配套,质量不好,护士操作不规范等原因,输血时使血液向血袋外渗漏的现象时有发生。1997~1998年本库发生血袋漏血13例,我们采用止血钳钳夹法,改变输血通道后,解决了漏血问题,报道如下。
1 漏血原因
护士操作不规范刺破血袋,输血器针头进入血袋过长,走向与血袋长轴未保持平行状态,输血器针头刺破血袋3例。
血袋属塑料制品,在低温状态下变硬,可塑性降低,使针头穿过保护管横隔部位后,导致横隔内孔与针头接触部位有间隙而渗血10例。
2 预防和处理
①输血时将输血器针头穿过保护管内横隔而针尖部留在保护管内;操作时始终将针头与血袋长轴保持平行状态,即使用力过大,针尖超出保护管也不会刺破血袋。②一旦刺破了血袋,迅速用无菌棉签擦掉渗出的血液,碘酒消毒破口周围,用一小块无菌棉片敷盖渗漏部位,并用胶布粘牢。然后将血袋倒立,用两把止血钳的钳尖相对地将漏洞夹在两钳中间,见附图。用碘酒棉签消毒血袋采血管顶端,用另一把止血钳夹住采血管根部靠近血袋1 cm处,用无菌剪刀剪掉其顶端,将输血器针头拔出,快速插入采血管,用胶布固定好接合部位,取下采血管端的止血钳,改变血袋输血通道,较好地解决了漏血问题。④非抢救性输血,库血取回后在室温下放置15 min左右,使血袋自然升温,可减少保护管内横隔部位渗漏现象的发生。
附图 血袋渗漏钳夹法示意图
1 止血钳 2 针尖刺破处 3 保护管 4 横隔 5 输血器 6 采血管
(1998-12-17 收稿), http://www.100md.com