儿童脑结核瘤的CT与临床分析
作者:李贵平 冯东朦 石文吉 徐爱平 鲁宏茹
单位:李贵平(450053 河南省,郑 州市儿童医院放射科);冯东朦(450053 河南省,郑 州市儿童医院放射科);徐爱平(450053 河南省,郑 州市儿童医院放射科);鲁宏茹(450053 河南省,郑 州市儿童医院放射科);石文吉(030031 山西省,太原市武宿 飞机场门诊部)
关键词:脑结核瘤;CT
放射学实践000214 【摘要】 目的:提高对脑结核瘤的诊断和治疗水平。方法:对63例经CT扫描诊断并经6个月~1年抗痨的脑结核瘤患儿的头颅CT表现及临床特点分析。结果:63例患儿均获痊愈,脑结核瘤CT平扫为大片状水肿区,增强扫描为被水肿包绕的结节状或环状强化病灶,此为脑结核瘤的特征性改变。结论:CT是诊断脑结核瘤和判断内科治疗的依据。
, http://www.100md.com
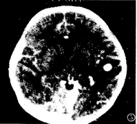
图1 右顶叶多结节病灶(不规则形强化),病灶周围水肿( 治疗前)。
图2 为图1病人治疗后,病灶呈小结节状强化,周围水肿消失。
图3 右额顶叶多环形强化病灶,病灶周围明显水肿。
图4 颅内多发结核瘤:右顶叶结节强化伴病灶周围明显水肿。
图5 颅内多发结核瘤:左颞叶结节状强化伴灶周水肿。
, http://www.100md.com
近年来由于结核感染率的回升及CT扫描的广泛应用,脑结核瘤的诊断率大大提高,儿童脑结核瘤并不少见。我院1996年1月~1998年12月经CT检查发现并经临床治疗追踪证实的脑 结核瘤63例,占同期头颅CT扫描的0.55%。为提高脑结核瘤的诊断和治疗水平,现总结63例 脑结核瘤的CT与临床特点,供同道参考。
材料与方法
1. 临床资料:男35例,女28例,年龄2~13岁,其中4~10岁48例,11~13岁13例,病程 1天~2年半,以突然抽搐、头痛、呕吐发病的多在1周内就诊占2/3,病情复杂的就诊较晚,1周~2年半占1/3。临床症状抽搐占74.6%,头痛27%,呕吐22%,头晕6.3%,肢体活动差、发麻、发软占6.3%,视物不清占4.1%,指鼻不稳、平衡失调者占1.6%,失神发作1.6%,失语1.6%,伴发热9.5%,咳嗽1.6%,咽痛1.6%,体检巴氏征阳性5例。脑脊液PCR-TB-DNA 阳性5例,PPD阳性2例,脑脊液生化均正常,ESR 20mm/h以上5例,EEG异常9例。胸片检查仅2例肺门淋巴结增大,均无传染病接触史。
, http://www.100md.com
2. CT表现:本组63例均采用SOMATOMDR型全身CT扫描机,以OM线为基线扫描,对感兴趣区 薄层扫描。本组病例均不伴结核性脑膜炎,其CT表现:平扫多数仅为大片状水肿区域,部分为被水肿包绕的等密度或略高密度病灶,但占位效应不明显或仅有轻微占位效应,增强后病灶呈环状(可为多环)或结节状明显强化,极少数无强化,为肉芽肿形成前期。4例环形强化的中心等密度内可见点状钙化(即靶征)。病灶直径多在0.5~2.0cm之间,多单发,好发于额 顶叶皮质或皮质下区,左右半球无明显区别。发病部位:左侧31例,右侧32例,顶叶 44例,额叶3例,颞叶6例,枕叶1例。多发9例,双顶叶4例,左颞叶、右顶叶2例,左颞叶、左顶叶1例,右枕叶、左顶叶1例,右颞叶、左顶叶1例。
3. 治疗结果:63例均采用保守治疗,即HSR常规抗痨治疗,并用抗癫痫、降颅压等对症治疗。25例住院治疗患儿中24例1个月内症状控制后出院,1例治疗52d症状控制后出院。其中1例在抗痨治疗4个月后自行停药而复发。在45例治疗1~3个月CT复查中40例水肿消失,23例3~ 5个月复查水肿全部消失。病灶消失多在4~8个月。2例2年后复查仅留有点状钙化。63例经 保守治疗全部好转,无死亡病例及后遗症存留。
, 百拇医药
讨论
脑结核瘤是结核杆菌随血液播散于脑实质内形成的慢性肉芽肿,多发于学龄前期及学龄期儿 童。临床上缺少特异性症状,多以癫痫起病,少数病人以颅高压症状起病,个别以头晕、共 济失调起病,病程长的,症状多变。本组病例中1例患儿以眨眼起病,发展到双眼凝视、颈 强直、四肢抽搐,最后右侧肢体抽搐、肌张力高及巴氏征阳性,长期被误诊为原发性癫痫。 此患儿2年前CT扫描无改变,本次呈大片状水肿包绕的结节强化病灶。极少伴有颅外结核及 结核性脑膜炎,结核中毒症状少见,少数发热的以上呼吸道感染、高热惊厥收治。本组病例 中仅2例肺门淋巴结增大,均误诊为高热惊厥。实验室检查多为阴性,在CT应用以前易误诊 [3]。
CT扫描广泛应用以来,CT已成为诊断脑结核瘤的主要手段。结核瘤病灶较小,一般在0.5~ 2.0cm之间,极少大于4.0cm,病灶多位于顶叶皮质区或皮质下区,可能与结核杆菌长期 少量的随血行播散聚集停留在脑浅表部位有关[1]。结核瘤在CT平扫多为大片状低 密度水肿,少数为被水肿包绕的等密度或略高密度病灶,增强扫描为结节状均匀强化或环形 强化,其中心为等密度或略高密度的干酪样变,环形强化为结核性肉芽组织,极少数增强后 无强化,为肉芽肿形成前期,此时应结合临床区别于其它炎性病变。多环(结节)状强化系数 个结核瘤融合而成。少数结核瘤治愈后留有点状钙化灶,部分病例在治疗中可见到环形病状 中点状钙化。有时结核瘤需与脑脓肿、胶质瘤、转移瘤等鉴别,脑脓肿多有明显的感染病史 ,环形强化的脓肿壁薄而光滑,中心低密度CT值为液体密度;胶质瘤强化的壁薄而不规则, 中间低密度为坏死液化区,灶周水肿较重;转移瘤多有原发肿瘤病史,好多发,转移瘤可伴 有广泛的水肿。
, 百拇医药
脑结核瘤过去多采取手术治疗,其死亡率、并发症及后遗症发生率很高[2],近年 来由于CT扫描已成为内科治疗效果考核的依据,故脑结核瘤多采取内科治疗并已取得满意疗 效。我院收治的63例患儿,除1例未正规治疗病情复发外均获痊愈,无死亡病例,无后遗症 存在。
从本组病例中我们总结并强调以下几点,以减少漏诊和误诊的发生:①对于大龄儿童以 癫痫或高热惊厥起病的要行CT检查,对于初次CT检查无改变而病情无缓解的应短期复查CT。 ②对于临床上不支持,仅CT符合脑结核瘤改变的可试用抗痨治疗1~3个月后复查CT。③脑 结核瘤一经确诊必须正规、足疗程治疗,以防复发和耐药性的产生。
参考文献
[1]王舜英,杨天德,汪铭,等.脑结核瘤的CT表现及治疗[J].中华结核和呼吸 杂志,1996,19(2)∶107.
[2]刘春生,黄楹,祖广智,等.颅内结核瘤的诊断及治疗[J].中华结核和呼吸杂志,199 6,19(3)∶155.
[3]罗毅男,付双林,褚克夫,等.颅内脑结核瘤20例临床与CT分析[J].中风与神经疾病 杂志,1996,13(1)∶42.
(1999-12-18 收稿), 百拇医药
单位:李贵平(450053 河南省,郑 州市儿童医院放射科);冯东朦(450053 河南省,郑 州市儿童医院放射科);徐爱平(450053 河南省,郑 州市儿童医院放射科);鲁宏茹(450053 河南省,郑 州市儿童医院放射科);石文吉(030031 山西省,太原市武宿 飞机场门诊部)
关键词:脑结核瘤;CT
放射学实践000214 【摘要】 目的:提高对脑结核瘤的诊断和治疗水平。方法:对63例经CT扫描诊断并经6个月~1年抗痨的脑结核瘤患儿的头颅CT表现及临床特点分析。结果:63例患儿均获痊愈,脑结核瘤CT平扫为大片状水肿区,增强扫描为被水肿包绕的结节状或环状强化病灶,此为脑结核瘤的特征性改变。结论:CT是诊断脑结核瘤和判断内科治疗的依据。
, http://www.100md.com
图1 右顶叶多结节病灶(不规则形强化),病灶周围水肿( 治疗前)。
图2 为图1病人治疗后,病灶呈小结节状强化,周围水肿消失。
图3 右额顶叶多环形强化病灶,病灶周围明显水肿。
图4 颅内多发结核瘤:右顶叶结节强化伴病灶周围明显水肿。
图5 颅内多发结核瘤:左颞叶结节状强化伴灶周水肿。
, http://www.100md.com
近年来由于结核感染率的回升及CT扫描的广泛应用,脑结核瘤的诊断率大大提高,儿童脑结核瘤并不少见。我院1996年1月~1998年12月经CT检查发现并经临床治疗追踪证实的脑 结核瘤63例,占同期头颅CT扫描的0.55%。为提高脑结核瘤的诊断和治疗水平,现总结63例 脑结核瘤的CT与临床特点,供同道参考。
材料与方法
1. 临床资料:男35例,女28例,年龄2~13岁,其中4~10岁48例,11~13岁13例,病程 1天~2年半,以突然抽搐、头痛、呕吐发病的多在1周内就诊占2/3,病情复杂的就诊较晚,1周~2年半占1/3。临床症状抽搐占74.6%,头痛27%,呕吐22%,头晕6.3%,肢体活动差、发麻、发软占6.3%,视物不清占4.1%,指鼻不稳、平衡失调者占1.6%,失神发作1.6%,失语1.6%,伴发热9.5%,咳嗽1.6%,咽痛1.6%,体检巴氏征阳性5例。脑脊液PCR-TB-DNA 阳性5例,PPD阳性2例,脑脊液生化均正常,ESR 20mm/h以上5例,EEG异常9例。胸片检查仅2例肺门淋巴结增大,均无传染病接触史。
, http://www.100md.com
2. CT表现:本组63例均采用SOMATOMDR型全身CT扫描机,以OM线为基线扫描,对感兴趣区 薄层扫描。本组病例均不伴结核性脑膜炎,其CT表现:平扫多数仅为大片状水肿区域,部分为被水肿包绕的等密度或略高密度病灶,但占位效应不明显或仅有轻微占位效应,增强后病灶呈环状(可为多环)或结节状明显强化,极少数无强化,为肉芽肿形成前期。4例环形强化的中心等密度内可见点状钙化(即靶征)。病灶直径多在0.5~2.0cm之间,多单发,好发于额 顶叶皮质或皮质下区,左右半球无明显区别。发病部位:左侧31例,右侧32例,顶叶 44例,额叶3例,颞叶6例,枕叶1例。多发9例,双顶叶4例,左颞叶、右顶叶2例,左颞叶、左顶叶1例,右枕叶、左顶叶1例,右颞叶、左顶叶1例。
3. 治疗结果:63例均采用保守治疗,即HSR常规抗痨治疗,并用抗癫痫、降颅压等对症治疗。25例住院治疗患儿中24例1个月内症状控制后出院,1例治疗52d症状控制后出院。其中1例在抗痨治疗4个月后自行停药而复发。在45例治疗1~3个月CT复查中40例水肿消失,23例3~ 5个月复查水肿全部消失。病灶消失多在4~8个月。2例2年后复查仅留有点状钙化。63例经 保守治疗全部好转,无死亡病例及后遗症存留。
, 百拇医药
讨论
脑结核瘤是结核杆菌随血液播散于脑实质内形成的慢性肉芽肿,多发于学龄前期及学龄期儿 童。临床上缺少特异性症状,多以癫痫起病,少数病人以颅高压症状起病,个别以头晕、共 济失调起病,病程长的,症状多变。本组病例中1例患儿以眨眼起病,发展到双眼凝视、颈 强直、四肢抽搐,最后右侧肢体抽搐、肌张力高及巴氏征阳性,长期被误诊为原发性癫痫。 此患儿2年前CT扫描无改变,本次呈大片状水肿包绕的结节强化病灶。极少伴有颅外结核及 结核性脑膜炎,结核中毒症状少见,少数发热的以上呼吸道感染、高热惊厥收治。本组病例 中仅2例肺门淋巴结增大,均误诊为高热惊厥。实验室检查多为阴性,在CT应用以前易误诊 [3]。
CT扫描广泛应用以来,CT已成为诊断脑结核瘤的主要手段。结核瘤病灶较小,一般在0.5~ 2.0cm之间,极少大于4.0cm,病灶多位于顶叶皮质区或皮质下区,可能与结核杆菌长期 少量的随血行播散聚集停留在脑浅表部位有关[1]。结核瘤在CT平扫多为大片状低 密度水肿,少数为被水肿包绕的等密度或略高密度病灶,增强扫描为结节状均匀强化或环形 强化,其中心为等密度或略高密度的干酪样变,环形强化为结核性肉芽组织,极少数增强后 无强化,为肉芽肿形成前期,此时应结合临床区别于其它炎性病变。多环(结节)状强化系数 个结核瘤融合而成。少数结核瘤治愈后留有点状钙化灶,部分病例在治疗中可见到环形病状 中点状钙化。有时结核瘤需与脑脓肿、胶质瘤、转移瘤等鉴别,脑脓肿多有明显的感染病史 ,环形强化的脓肿壁薄而光滑,中心低密度CT值为液体密度;胶质瘤强化的壁薄而不规则, 中间低密度为坏死液化区,灶周水肿较重;转移瘤多有原发肿瘤病史,好多发,转移瘤可伴 有广泛的水肿。
, 百拇医药
脑结核瘤过去多采取手术治疗,其死亡率、并发症及后遗症发生率很高[2],近年 来由于CT扫描已成为内科治疗效果考核的依据,故脑结核瘤多采取内科治疗并已取得满意疗 效。我院收治的63例患儿,除1例未正规治疗病情复发外均获痊愈,无死亡病例,无后遗症 存在。
从本组病例中我们总结并强调以下几点,以减少漏诊和误诊的发生:①对于大龄儿童以 癫痫或高热惊厥起病的要行CT检查,对于初次CT检查无改变而病情无缓解的应短期复查CT。 ②对于临床上不支持,仅CT符合脑结核瘤改变的可试用抗痨治疗1~3个月后复查CT。③脑 结核瘤一经确诊必须正规、足疗程治疗,以防复发和耐药性的产生。
参考文献
[1]王舜英,杨天德,汪铭,等.脑结核瘤的CT表现及治疗[J].中华结核和呼吸 杂志,1996,19(2)∶107.
[2]刘春生,黄楹,祖广智,等.颅内结核瘤的诊断及治疗[J].中华结核和呼吸杂志,199 6,19(3)∶155.
[3]罗毅男,付双林,褚克夫,等.颅内脑结核瘤20例临床与CT分析[J].中风与神经疾病 杂志,1996,13(1)∶42.
(1999-12-18 收稿), 百拇医药