增强型体外反搏对冠心病患者肾素血管紧张素系统的影响
作者:陆丽 吴伟康 张苗青 郑振声 谢焕娣 詹澄扬
单位:中山医科大学卫生部辅助循环重点实验室,广东 广州 510089
关键词:肾素血管紧张素系统;冠状动脉疾病;反搏动术
中山医科大学学报000303
摘 要:【目的】通过观察冠心病患者在增强型体外反搏(EECP)治疗前后循环血液中肾素血管紧张素系统的变化,探讨EECP防治冠心病的机制。【方法】20例1个月内发生心肌梗塞或心绞痛的患者进行EECP治疗,于第1次反搏前10 min内、第1次反搏后、3个疗程结束时采血。17例健康体检者为对照。用放免及紫外分光光度法检测血液中肾素活性、血管紧张素Ⅱ(AⅡ)浓度及血管紧张素转换酶(ACE)活性。【结果】冠心病患者血液中肾素活性、AⅡ水平及ACE活性均高于对照组水平。第一次反搏后三者均呈不同程度升高,随后持续下降,1个疗程后,ACE降至反搏前水平;2个疗程后,AⅡ降至反搏前水平;3个疗程后,肾素活性降至反搏前水平,ACE降至正常水平,AⅡ低于反搏前,但仍高于正常水平。【结论】体外反搏对肾素血管紧张素系统的不同环节起抑制作用,这可能是EECP保护缺血心肌的机制之一。
, 百拇医药
中图分类号:R 319.6;R 541.4 文献标识码:A
文章编号:1000-257X(2000)03-0168-03
The Effect of Enhanced External Counterpulsation on Circulating Renin-Angiotensin System of Patients with Coronary Heart Disease
Lu Li,WU Wei-kang,ZHENG Zhen-sheng,ZHAN Cheng-yang
(The Key Laboratory on Assisted Circulation,Ministry of Health)
ZHANG Miao-qing,XIE Huan-di
, 百拇医药
(Department of External Counterpulsation,First Affiliated Hospital,Sun Yat-sen University of Medical Sciences,Guangzhou 510089,China)
Abstract:【Objective】To investigate the effect of enhanced external counterpulsation(EECP) on circulating renin-angiotensin system(RAS) of patients with coronary heart disease(CHD).【Methods】20 patients with CHD and 17 health people were tested.Patients with CHD were treated with three courses of EECP.The circulating RAS,including plasma renin activity(PRA),angiotensin Ⅱ (AⅡ) level and serum angiotensin-converting enzyme(ACE) activity,were determined before EECP,after the first hour of EECP and at the end of three courses of EECP.【Results】PRA,AⅡ level and ACE activity in plasma of patients with CHD were higher than those of health people.Compared to the level before EECP,AⅡ increased two times after the first hour treatment of EECP and then kept dropping.At the end of the second course,AⅡ reduced to the level before EECP,then became lower than that before EECP.But it didn′t reach the normal level even at the end of treatment.ACE activity also showed a little increase with the treatment of first hour EECP.At the end of the first course,it reduced to the level before EECP,and dropped to normal level at the end of the third course of EECP.PRA also increased at the first hour EECP and showed decreasing tendency through three courses.After three courses of treatment it only reached the level before EECP.【Conclusion】Effects of EECP on ACE and renin lead to the reduce of AⅡlevel.These effects may be one mechanism of EECP protecting ischemic myocardium.
, 百拇医药
Key words:renin-angiotensin system; coronary disease; counterpulsation
肾素血管紧张素系统(renin-angiotensin system,RAS)最初被认为属于循环内分泌系统,主要是参与水、盐平衡及血压的调节。近年来,随着心血管局部RAS的发现,该系统被认为还参与心肌缺血、充血性心力衰竭等病理过程。增强型体外反搏(enhanced external counterpulsation,EECP)是一种新型无创性体外辅助循环装置,对冠心病的治疗已取得显著疗效,但其作用机制仍未完全明了。本实验通过观察增强型体外反搏对冠心病患者循环血液中RAS的影响及其动态变化过程,探讨EECP防治冠心病的机制。
1 研究对象与方法
1.1 对 象
根据1979年国际心脏病学会定义的诊断标准诊断为缺血性心脏病患者选用20例为反搏组,年龄(59±9)岁,男13例,女7例;患者均在月内发病而入院治疗,其中陈旧性心肌梗塞6例,稳定型心绞痛12例,不稳定型心绞痛2例,排除高血压病、糖尿病、心力衰竭及肝、肾疾患等其他疾病。采血前,停用血管紧张素转换酶抑制剂(angiotensin-converting enzyme inhibitor,ACEI)类药物3 d以上,对照组选用健康体检者17例,年龄(56±9)岁,男11例,女6例,年龄、性别与反搏组无明显差异。
, 百拇医药
1.2 研究方法
反搏组共接受3个疗程EECP治疗,每天反搏1次,每次1 h,12 d为1个疗程。用佛山分析仪器厂双山牌EECP装置(EECP-MC2),反搏气囊充气压力为0.035~0.040 MPa/cm,指脉波显示D/S(舒张波/收缩波)比值大于1.2。分别于第1次反搏前10 min内、第1次反搏后及3个疗程最后1次反搏后15 min内采血5 mL,分装于两管,一管内加入EDTA、8-羟基喹啉和2-巯基丙醇,以分离血浆,另一管不作任何处理,分离血清。20 min内4 ℃离心,-70 ℃保存。
1.3 RAS的检测
用放射免疫分析法检测血浆肾素活性(plasma renin activity,PRA)与血管紧张素Ⅱ(angiotensin Ⅱ,AⅡ)水平,按试剂盒说明进行,试剂盒由北方生物技术研究所提供。用紫外分光光度法测血清血管紧张素转换酶(angiotensin-converting enzyme,ACE)活性,试剂盒由海军总医院提供。所有样本在半年内分批测定完毕,批内变异系数CVW<5%,批间变异系数CVb<10%。
, http://www.100md.com
1.4 统计分析方法
所有数据采用平均数±标准差(
±s)表示,组间比较用成组t检验,组内比较用配对t检验。
2 结 果
2.1 反搏治疗过程中心率等指标的变化
患者的平均心率从第1个疗程的(79±4) min-1到第2个疗程的(76±4) min-1,再到第3个疗程的(74±5) min-1,呈下降趋势,第1个疗程和第2、3两个疗程之间有显著性差异。而整个反搏治疗过程中,所有病人不适(包括胸闷,心绞痛,早搏等)出现总次数从第一疗程的28次到第2疗程的12次再到最后1个疗程的5次,也呈下降趋势。
, 百拇医药
2.3 正常组与反搏组治疗前后循环RAS的比较
反搏组治疗前血浆肾素活性、AⅡ水平及ACE活性均高于正常组水平。经反搏3个疗程治疗后,肾素活性和治疗前无明显差异,但AⅡ及ACE已低于反搏前水平,其中AⅡ仍高于正常水平,ACE与正常无明显差异(见表1)。
表1 反搏3个疗程对CHD患者PRA、AⅡ、ACE的影响
Table 1 Effects of three courses of EECP on serum PRA,AⅡ,ACE in patients with CHD
(
±s) Group
n
, 百拇医药
ξ PRA/(ng。L-1。h-1)
ρAⅡ/(ng。L-1)
ξACE/(nmol。s-1)
Control
17
0.7±0.4
39±12
600±166
, 百拇医药
CHD
20
1.0±0.41)
90±291)
817±1331)
CHD+EECP
20
1.0±0.41)
67±251),2)
667±1832)
ξ(sign of activity; ρ:sign of concentration; 1) P<0.05 vs control; 2) P<0.05 ,vs CHD2.3 反搏治疗过程中RAS的动态变化
, http://www.100md.com
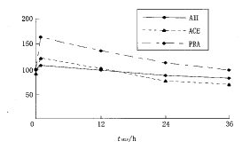
反搏治疗过程中RAS的动态变化(见图1)。第1次反搏后,RAS各指标均呈不同程度上升,随后持续下降。1个疗程结束时,肾素活性及AⅡ水平仍高于第1次反搏前,但ACE活性已降至反搏前水平;2个疗程结束时,AⅡ降至反搏前水平;到3个疗程结束时,肾素活性降至反搏前水平,而AⅡ水平及ACE活性已低于反搏前水平,其中AⅡ仍高于正常水平,但ACE与正常无显著性差异。
图1 冠心病患者反搏治疗过程中RAS的动态变化
Fig.1 Changes of circulating RAS in patients with CHD during EECP treatment
100 in y axis: 100 ng/L for AⅡ,1 000 nmol/s for serum ACE activity,1 μg/(L*h) for PRA
, http://www.100md.com
3 讨 论
3.1 EECP对RAS的抑制作用
近年来,有大量文献报道RAS与心肌缺血的关系,认为急性心肌缺血早期即能引起RAS的变化,且RAS在心肌梗塞的发生发展中起到不可忽视的作用[1]。RAS的主要活性物质AⅡ不仅能直接收缩血管,使心肌梗塞进一步发展,它还有正性肌力作用,加快心率,增加心脏耗氧[2]。在本实验中,也发现随着疗程的增加,患者心率呈下降趋势,与AⅡ下降一致,可能是因AⅡ的减少所致。
本实验发现EECP对转换酶活性和AⅡ有抑制作用,其中以对ACE的作用较明显,在3个疗程结束时降到正常水平。ACE能转换AⅠ为AⅡ,通过AⅡ起作用,另一方面它还是激肽酶Ⅱ,能降解激肽,使激肽分解加速。激肽的降解可使内皮舒血管物质NO生成减少,分解增快[3]。EECP对转换酶的抑制作用可使AⅡ产生减少,NO生成增多,从而抑制了AⅡ收缩血管、激活氧自由基以及舒血管活性物质失衡而最终损伤内皮的作用。而内皮损伤可导致心肌缺血进一步恶化和再次产生[4]。临床上ACEI的大量应用及其带来的心肌梗塞发生率及死亡率的下降,从另一方面说明了ACE在心肌缺血中的作用[5]。本实验中可看到EECP对肾素也有抑制趋势,从而从不同环节抑制了RAS,对缺血心肌起到综合保护效应。
, 百拇医药
3.2 EECP治疗需2个以上疗程
本实验中EECP单一疗程对患者RAS并无太大影响。第1次反搏时RAS各系统包括PRA、AⅡ水平、ACE活性均有不同程度升高。作用机理可能和运动相似,运动时机体处于生理应激状态,RAS被激活[6,7]。反搏时也可能因生理应激使RAS激活。2个疗程结束时,ACE活性已受到抑制。3个疗程后,RAS中除受生理应激影响较大的肾素外,均低于反搏前,更接近生理状态。我们认为,冠心病患者需接受2~3个疗程的治疗才能达到较好的治疗效果。
3.3 EECP抑制RAS的机制
有文献报道,EECP能降低后负荷,增加肾脏有效循环血量,理论上可使肾素分泌减少。这与本实验所观察到的EECP有抑制肾素趋势相矛盾。原因可能和机体在反搏作用下,处于应激状态有关。对ACE的作用可能是EECP能增加血管剪切力,提高的剪切力抑制了ACE的产生[8]。
, 百拇医药
一般认为,循环RAS主要对血压起作用,而RAS对心肌缺血的作用则主要是通过心肌组织中存在的与循环RAS相对独立的局部RAS[2]。由于心肌缺血患者心肌标本获得的局限性,在本实验中未能进行EECP对局部RAS作用的观察。这方面的研究可在下一步利用动物实验来进行。
基金项目:中美辅助循环基金资助
作者简介:陆 丽(1972-),女,安徽利辛人,博士生,主要从事肾素血管紧张素系统与体外反搏关系的研究
郑振声,课题负责人.
参考文献:
[1]Mcalpine H M.Neuroendocrine mechanisms in acute myocardial infarction[J].Br Heart J,1996,55(3):503.
, 百拇医药
[2]Ikram H.The renin-angiotensin-aldosterone system and cardiac ischemia[J].Heart,1996,76(1):60.
[3]孙 峰,顾东风.血管紧张素转换酶与冠心病关系的研究[J].心血管病学进展, 1998,19(5):298.
[4]Gibbons G H.Endothelial function as a determinant of vascular function and structure: a new therapeutic target[J].Am J Cardiol,1997,79(5A):3.
[5]Penine C J.Potential role of angiotensin-converting enzyme inhibition in myocardial ischemia and current clinical trials[J].Clin Cardiol,1997,20(Ⅱsupply 2):Ⅱ-58.
, 百拇医药
[6]杨 纲主编.内分泌生理与病理生理学[M].天津:天津科学技术出版社.1996.711.
[7]Shephrd R J.Exercise for patients with congestive heart failure[J].Sports Med, 1997,23(2):75.
[8]Rieder,M R,Carmona J E,Krieger K A,et al.Suppression of angiotensin-converting enzyme expression and activity by shear stress[J].Circ Res,1997,80(2):312.
收稿日期:1999-08-19, http://www.100md.com
单位:中山医科大学卫生部辅助循环重点实验室,广东 广州 510089
关键词:肾素血管紧张素系统;冠状动脉疾病;反搏动术
中山医科大学学报000303
摘 要:【目的】通过观察冠心病患者在增强型体外反搏(EECP)治疗前后循环血液中肾素血管紧张素系统的变化,探讨EECP防治冠心病的机制。【方法】20例1个月内发生心肌梗塞或心绞痛的患者进行EECP治疗,于第1次反搏前10 min内、第1次反搏后、3个疗程结束时采血。17例健康体检者为对照。用放免及紫外分光光度法检测血液中肾素活性、血管紧张素Ⅱ(AⅡ)浓度及血管紧张素转换酶(ACE)活性。【结果】冠心病患者血液中肾素活性、AⅡ水平及ACE活性均高于对照组水平。第一次反搏后三者均呈不同程度升高,随后持续下降,1个疗程后,ACE降至反搏前水平;2个疗程后,AⅡ降至反搏前水平;3个疗程后,肾素活性降至反搏前水平,ACE降至正常水平,AⅡ低于反搏前,但仍高于正常水平。【结论】体外反搏对肾素血管紧张素系统的不同环节起抑制作用,这可能是EECP保护缺血心肌的机制之一。
, 百拇医药
中图分类号:R 319.6;R 541.4 文献标识码:A
文章编号:1000-257X(2000)03-0168-03
The Effect of Enhanced External Counterpulsation on Circulating Renin-Angiotensin System of Patients with Coronary Heart Disease
Lu Li,WU Wei-kang,ZHENG Zhen-sheng,ZHAN Cheng-yang
(The Key Laboratory on Assisted Circulation,Ministry of Health)
ZHANG Miao-qing,XIE Huan-di
, 百拇医药
(Department of External Counterpulsation,First Affiliated Hospital,Sun Yat-sen University of Medical Sciences,Guangzhou 510089,China)
Abstract:【Objective】To investigate the effect of enhanced external counterpulsation(EECP) on circulating renin-angiotensin system(RAS) of patients with coronary heart disease(CHD).【Methods】20 patients with CHD and 17 health people were tested.Patients with CHD were treated with three courses of EECP.The circulating RAS,including plasma renin activity(PRA),angiotensin Ⅱ (AⅡ) level and serum angiotensin-converting enzyme(ACE) activity,were determined before EECP,after the first hour of EECP and at the end of three courses of EECP.【Results】PRA,AⅡ level and ACE activity in plasma of patients with CHD were higher than those of health people.Compared to the level before EECP,AⅡ increased two times after the first hour treatment of EECP and then kept dropping.At the end of the second course,AⅡ reduced to the level before EECP,then became lower than that before EECP.But it didn′t reach the normal level even at the end of treatment.ACE activity also showed a little increase with the treatment of first hour EECP.At the end of the first course,it reduced to the level before EECP,and dropped to normal level at the end of the third course of EECP.PRA also increased at the first hour EECP and showed decreasing tendency through three courses.After three courses of treatment it only reached the level before EECP.【Conclusion】Effects of EECP on ACE and renin lead to the reduce of AⅡlevel.These effects may be one mechanism of EECP protecting ischemic myocardium.
, 百拇医药
Key words:renin-angiotensin system; coronary disease; counterpulsation
肾素血管紧张素系统(renin-angiotensin system,RAS)最初被认为属于循环内分泌系统,主要是参与水、盐平衡及血压的调节。近年来,随着心血管局部RAS的发现,该系统被认为还参与心肌缺血、充血性心力衰竭等病理过程。增强型体外反搏(enhanced external counterpulsation,EECP)是一种新型无创性体外辅助循环装置,对冠心病的治疗已取得显著疗效,但其作用机制仍未完全明了。本实验通过观察增强型体外反搏对冠心病患者循环血液中RAS的影响及其动态变化过程,探讨EECP防治冠心病的机制。
1 研究对象与方法
1.1 对 象
根据1979年国际心脏病学会定义的诊断标准诊断为缺血性心脏病患者选用20例为反搏组,年龄(59±9)岁,男13例,女7例;患者均在月内发病而入院治疗,其中陈旧性心肌梗塞6例,稳定型心绞痛12例,不稳定型心绞痛2例,排除高血压病、糖尿病、心力衰竭及肝、肾疾患等其他疾病。采血前,停用血管紧张素转换酶抑制剂(angiotensin-converting enzyme inhibitor,ACEI)类药物3 d以上,对照组选用健康体检者17例,年龄(56±9)岁,男11例,女6例,年龄、性别与反搏组无明显差异。
, 百拇医药
1.2 研究方法
反搏组共接受3个疗程EECP治疗,每天反搏1次,每次1 h,12 d为1个疗程。用佛山分析仪器厂双山牌EECP装置(EECP-MC2),反搏气囊充气压力为0.035~0.040 MPa/cm,指脉波显示D/S(舒张波/收缩波)比值大于1.2。分别于第1次反搏前10 min内、第1次反搏后及3个疗程最后1次反搏后15 min内采血5 mL,分装于两管,一管内加入EDTA、8-羟基喹啉和2-巯基丙醇,以分离血浆,另一管不作任何处理,分离血清。20 min内4 ℃离心,-70 ℃保存。
1.3 RAS的检测
用放射免疫分析法检测血浆肾素活性(plasma renin activity,PRA)与血管紧张素Ⅱ(angiotensin Ⅱ,AⅡ)水平,按试剂盒说明进行,试剂盒由北方生物技术研究所提供。用紫外分光光度法测血清血管紧张素转换酶(angiotensin-converting enzyme,ACE)活性,试剂盒由海军总医院提供。所有样本在半年内分批测定完毕,批内变异系数CVW<5%,批间变异系数CVb<10%。
, http://www.100md.com
1.4 统计分析方法
所有数据采用平均数±标准差(
2 结 果
2.1 反搏治疗过程中心率等指标的变化
患者的平均心率从第1个疗程的(79±4) min-1到第2个疗程的(76±4) min-1,再到第3个疗程的(74±5) min-1,呈下降趋势,第1个疗程和第2、3两个疗程之间有显著性差异。而整个反搏治疗过程中,所有病人不适(包括胸闷,心绞痛,早搏等)出现总次数从第一疗程的28次到第2疗程的12次再到最后1个疗程的5次,也呈下降趋势。
, 百拇医药
2.3 正常组与反搏组治疗前后循环RAS的比较
反搏组治疗前血浆肾素活性、AⅡ水平及ACE活性均高于正常组水平。经反搏3个疗程治疗后,肾素活性和治疗前无明显差异,但AⅡ及ACE已低于反搏前水平,其中AⅡ仍高于正常水平,ACE与正常无明显差异(见表1)。
表1 反搏3个疗程对CHD患者PRA、AⅡ、ACE的影响
Table 1 Effects of three courses of EECP on serum PRA,AⅡ,ACE in patients with CHD
(
n
, 百拇医药
ξ PRA/(ng。L-1。h-1)
ρAⅡ/(ng。L-1)
ξACE/(nmol。s-1)
Control
17
0.7±0.4
39±12
600±166
, 百拇医药
CHD
20
1.0±0.41)
90±291)
817±1331)
CHD+EECP
20
1.0±0.41)
67±251),2)
667±1832)
ξ(sign of activity; ρ:sign of concentration; 1) P<0.05 vs control; 2) P<0.05 ,vs CHD2.3 反搏治疗过程中RAS的动态变化
, http://www.100md.com
反搏治疗过程中RAS的动态变化(见图1)。第1次反搏后,RAS各指标均呈不同程度上升,随后持续下降。1个疗程结束时,肾素活性及AⅡ水平仍高于第1次反搏前,但ACE活性已降至反搏前水平;2个疗程结束时,AⅡ降至反搏前水平;到3个疗程结束时,肾素活性降至反搏前水平,而AⅡ水平及ACE活性已低于反搏前水平,其中AⅡ仍高于正常水平,但ACE与正常无显著性差异。
图1 冠心病患者反搏治疗过程中RAS的动态变化
Fig.1 Changes of circulating RAS in patients with CHD during EECP treatment
100 in y axis: 100 ng/L for AⅡ,1 000 nmol/s for serum ACE activity,1 μg/(L*h) for PRA
, http://www.100md.com
3 讨 论
3.1 EECP对RAS的抑制作用
近年来,有大量文献报道RAS与心肌缺血的关系,认为急性心肌缺血早期即能引起RAS的变化,且RAS在心肌梗塞的发生发展中起到不可忽视的作用[1]。RAS的主要活性物质AⅡ不仅能直接收缩血管,使心肌梗塞进一步发展,它还有正性肌力作用,加快心率,增加心脏耗氧[2]。在本实验中,也发现随着疗程的增加,患者心率呈下降趋势,与AⅡ下降一致,可能是因AⅡ的减少所致。
本实验发现EECP对转换酶活性和AⅡ有抑制作用,其中以对ACE的作用较明显,在3个疗程结束时降到正常水平。ACE能转换AⅠ为AⅡ,通过AⅡ起作用,另一方面它还是激肽酶Ⅱ,能降解激肽,使激肽分解加速。激肽的降解可使内皮舒血管物质NO生成减少,分解增快[3]。EECP对转换酶的抑制作用可使AⅡ产生减少,NO生成增多,从而抑制了AⅡ收缩血管、激活氧自由基以及舒血管活性物质失衡而最终损伤内皮的作用。而内皮损伤可导致心肌缺血进一步恶化和再次产生[4]。临床上ACEI的大量应用及其带来的心肌梗塞发生率及死亡率的下降,从另一方面说明了ACE在心肌缺血中的作用[5]。本实验中可看到EECP对肾素也有抑制趋势,从而从不同环节抑制了RAS,对缺血心肌起到综合保护效应。
, 百拇医药
3.2 EECP治疗需2个以上疗程
本实验中EECP单一疗程对患者RAS并无太大影响。第1次反搏时RAS各系统包括PRA、AⅡ水平、ACE活性均有不同程度升高。作用机理可能和运动相似,运动时机体处于生理应激状态,RAS被激活[6,7]。反搏时也可能因生理应激使RAS激活。2个疗程结束时,ACE活性已受到抑制。3个疗程后,RAS中除受生理应激影响较大的肾素外,均低于反搏前,更接近生理状态。我们认为,冠心病患者需接受2~3个疗程的治疗才能达到较好的治疗效果。
3.3 EECP抑制RAS的机制
有文献报道,EECP能降低后负荷,增加肾脏有效循环血量,理论上可使肾素分泌减少。这与本实验所观察到的EECP有抑制肾素趋势相矛盾。原因可能和机体在反搏作用下,处于应激状态有关。对ACE的作用可能是EECP能增加血管剪切力,提高的剪切力抑制了ACE的产生[8]。
, 百拇医药
一般认为,循环RAS主要对血压起作用,而RAS对心肌缺血的作用则主要是通过心肌组织中存在的与循环RAS相对独立的局部RAS[2]。由于心肌缺血患者心肌标本获得的局限性,在本实验中未能进行EECP对局部RAS作用的观察。这方面的研究可在下一步利用动物实验来进行。
基金项目:中美辅助循环基金资助
作者简介:陆 丽(1972-),女,安徽利辛人,博士生,主要从事肾素血管紧张素系统与体外反搏关系的研究
郑振声,课题负责人.
参考文献:
[1]Mcalpine H M.Neuroendocrine mechanisms in acute myocardial infarction[J].Br Heart J,1996,55(3):503.
, 百拇医药
[2]Ikram H.The renin-angiotensin-aldosterone system and cardiac ischemia[J].Heart,1996,76(1):60.
[3]孙 峰,顾东风.血管紧张素转换酶与冠心病关系的研究[J].心血管病学进展, 1998,19(5):298.
[4]Gibbons G H.Endothelial function as a determinant of vascular function and structure: a new therapeutic target[J].Am J Cardiol,1997,79(5A):3.
[5]Penine C J.Potential role of angiotensin-converting enzyme inhibition in myocardial ischemia and current clinical trials[J].Clin Cardiol,1997,20(Ⅱsupply 2):Ⅱ-58.
, 百拇医药
[6]杨 纲主编.内分泌生理与病理生理学[M].天津:天津科学技术出版社.1996.711.
[7]Shephrd R J.Exercise for patients with congestive heart failure[J].Sports Med, 1997,23(2):75.
[8]Rieder,M R,Carmona J E,Krieger K A,et al.Suppression of angiotensin-converting enzyme expression and activity by shear stress[J].Circ Res,1997,80(2):312.
收稿日期:1999-08-19, http://www.100md.com