肿瘤坏死因子诱导的U937细胞凋亡与Bcl-2基因表达的关系
作者:王媛 陈惠英 刘文虎
单位:解放军八一医院实验科(安徽医科大学八一临床学院),南京 210002
关键词:肿瘤坏死因子;转染;脱噬作用;原癌基因
安徽医科大学学报990208
摘要 目的 探讨肿瘤坏死因子(TNF)诱导的U937细胞凋亡与Bcl-2基因表达的关系。方法 首先用TNF处理U937细胞,提取小片段DNA进行DNA断裂分析,并通过RT-PCR检测细胞的Bcl-2基因mRNA表达;继而以磷酸钙沉淀法将Bcl-2基因转染到U937细胞,用G418筛选稳定转染子,然后用不同剂量TNF处理后观察转染与未转染细胞的存活率。 结果 TNF诱导的U937细胞Bcl-2基因的mRNA表达下调;用Bcl-2稳定转染的U937细胞经TNF处理,存活率明显高于未转染细胞。结论 Bcl-2基因增强表达阻抑TNF诱导的U937细胞凋亡。
, http://www.100md.com
自由词 Bcl-2基因
中国图书资料分类法分类号 R73-351
Relationship of TNF-induced apoptosis
in U937 cell and Bcl-2 expression
Wang Yuan, Chen Huiying, Liu Wenhu
(Clinical Laboratory, The 81st Hospital of PLA, Nanjing 210002)
Abstract Objective To study the relationship of tumor necrosis factor(TNF)-induced apoptosis in U937 cell and Bcl-2 gene expression. Methods U937 cells were treated by TNF and the low-molecular-weight DNA was abstracted for analysis, the Bcl-2 expression was also measured through RT-PCR. Then with calcium phosphate transfection, Bcl-2 expression vector was transfected into U937 cell. Positive cells were obtained by the G418 selection. The transfected and untransfected cells were treated by TNF, Then, cell viability was assayed. Results The Bcl-2 gene mRNA expression was down-regulated in U937 cell treated by TNF. The survival of Bcl-2 transfectant was far higher than the untransfected cells treated by TNF. Conclusion Overexpression of Bcl-2 protects U937 cell from apoptosis induced by TNF.
, 百拇医药
MeSH tumor necrosis factor; transfection; apoptosis; proto-oncogenes
Free words Bcl-2 gene
细胞凋亡(apoptosis)即程序性细胞死亡(programmed cell death,PCD), 是细胞通过激活其内在死亡程序而发生的一种具有选择性、可控性及遗传性的细胞自杀现象,细胞凋亡调控基因的发现将凋亡的研究真正推向了现代分子生物学的研究前沿。在这个庞大的基因家族中,Bcl-2不失为重要一员。该基因最初是在某些B细胞淋巴瘤病人细胞内发生的t(14;18)染色体易位中发现,其表达产物是一种膜粘附蛋白,相对分子质量为26 000〔1〕,过量的Bcl-2蛋白可抑制许多因素诱发的凋亡〔2〕。本研究以白血病U937细胞为对象,首先用肿瘤坏死因子(Tumor Necrosis Factor,TNF)诱发U937细胞凋亡,并检测Bcl-2基因的mRNA表达,继而将Bcl-2基因转染入U937细胞,以探讨其对TNF诱导的U937细胞凋亡的效应。
, http://www.100md.com
1 材料与方法
1.1 材料 哺乳动物细胞表达载体pXJ41-neo和pBCL-2-s来自厦门大学肿瘤细胞工程国家重点实验室(pBCL-2-s是含有编码人Bcl-2蛋白全长cDNA的顺义表达质粒);JM109菌株、U937细胞由南京铁道医学院科研所保存;RPMI1640培养基购自GIBCO公司;寡核苷酸引物由中科院上海细胞生物研究所合成;rhTNF和AMV逆转录酶为Promega产品;G418、酶标HRP抗体、Bcl-2抗体等购自上海华美公司。
1.2 方法
1.2.1 U937细胞培养及药物处理 采用RPMI 1640完全培养基培养细胞,当细胞生长至对数期加药处理。
1.2.2 细胞存活测定 台盼蓝拒染法(trypan blue exclusion)。
, 百拇医药
1.2.3 DNA断裂分析 2×106~5×106细胞用PBS洗涤后,加入500 μl细胞裂解液〔10 mmol.L-1 Tris-HCl,pH 7.5, 20 mmol.L-1 EDTA, 0.2%(体积分数,下同) Triton X-100〕,离心取上清,加100 mg.L-1无Dnase活性的RNase A, 37℃保温1 h,加入200 mg.L-1蛋白酶K,55℃保温2 h, 用酚∶氯仿∶异戊醇(25∶24∶1)和氯仿∶异戊醇(24∶1)分别抽提1次,上清加1/10体积3 mol.L-1 NaAc(pH 5.2)及2倍体积无水乙醇于-20℃ 放置1 h,离心去上清,加80%的乙醇洗涤沉淀后真空干燥,TE(pH 8.0)溶解,取20 μl样品做2 g.L-1琼脂糖凝胶电泳。
, http://www.100md.com
1.2.4 逆转录PCR cDNA合成体系为:1 μg总RNA、20 U AMV酶、2 μl dNTP(10 mmol.L-1)、4 μl AMV RT 5×反应缓冲液、 1 μl Bcl-2反义引物,共20 μl。25℃ 20 min,42℃ 45 min,反应完毕后以对照组(未经TNF处理组)cDNA为标准进行PCR反应:Bcl-2上下游引物各0.5 mmol.L-1,10 mmol.L-1 Tris-HCl(pH 9.0),50 mmol.L-1 KCl,1.5 mmol.L-1 MgCl2, 0.2 mmol.L-1 dNTP,cDNA 2.5 μl,Taq DNA 聚合酶2.5 U, 用于扩增的引物序列为:上游 5′-GACTTCGCCGAGATGTCGC-3′;下游5′-GTCTTGAGAGACAGCCAGCT-3′,扩增片段为326 bp。
, http://www.100md.com
1.2.5 质粒DNA制备、酶切和转化,细胞RNA提取等 见文献〔3〕。
1.2.6 U937细胞转染及筛选 将质粒pXJ41-neo和pBCL-2-s分别转染U937细胞,用含300 μg.L-1 G418的RPMI1640培养液筛选转染子〔4〕。
1.2.7 SDS-PAGE电泳与Western杂交 10 μg细胞蛋白抽提液经聚丙烯酰胺凝胶(12%分离胶,5%浓缩胶),电泳后用Pharmacia公司半干电转移槽转移至硝酸纤维膜上,经封闭液(10% g.L-1脱脂奶粉,0.3% Tween-20,PBS)封闭后依次与一抗(anti-Bcl-2单抗)、二抗(酶标HRP抗体)反应后用显色液(1 g.L-1 DAB,0.06% H2O2,PBS)显色,水洗拍照。
, 百拇医药
2 结果
2.1 TNF诱导白血病U937细胞凋亡 用10 μg.L-1和20 μg.L-1 TNF分别处理U937细胞4 h后,提取小片段DNA作琼脂糖凝胶电泳,结果如图1。同未处理细胞相比,处理细胞的DNA呈现显著的凋亡特征,即形成约200 bp及其倍数的梯形分布。用较高浓度TNF处理的U937细胞凋亡更明显。见图1。
图1 DNA断裂分析
1. Control
2. 10 μg.L-1
3. 20 μg.L-1
, http://www.100md.com
4. PCR marker
2.2 TNF诱导U937细胞Bcl-2基因mRNA表达下调 等量的细胞经药物处理4 h后RT-PCR结果见图2。与未经TNF处理组相比,TNF处理后的U937细胞Bcl-2 mRNA表达量减少。
图2 RT-PCR结果
1. PCR marker
2. 未处理组
3. 20 μg.L-1 TNF处理组
2.3 表达质粒的酶切分析 pXJ41-neo(约5.6 kb)含有HCMV病毒启动子和选择标记基因neo,pBCL-2-s(约7.4 kb)是含有人Bcl-2全长cDNA(约1.8 kb)的顺义表达质粒。两种质粒用限制性内切酶BamH Ⅰ消化,后者被切成两条片段,较小片段约为1.3 kb,结果如图3。
, 百拇医药
图3 酶切电泳图
1. PCR marker
2. pXJ41-neo
3. pXJ41-neo+BamHI
4. pBCL-2-s
5. pBCL-2-s+BamHI
2.4 Bcl-2表达产物的检测 图4为细胞Bcl-2的Western印迹图谱。pXJ41-neo转染子和空白对照组Bcl-2表达差异无显著性,pBCL-2-s转染子Bcl-2表达量较高。
图4 Bcl-2免疫印迹图谱
, http://www.100md.com
1. PBCL-2-s转染子
2. pXJ41-neo转染子
3. Control
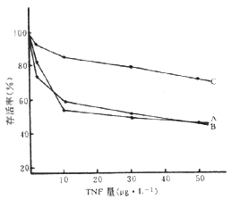
2.5 转染细胞对TNF的敏感性 转染细胞在形态学方面与未转染细胞无明显差异,但其生长速度缓慢。这与其它实验室在异种细胞中所得结果相符,进一步证实了Bcl-2基因并非通常意义上的癌基因。用不同浓度的TNF处理24 h后所得细胞存活计数结果表明,空载转染细胞与对照细胞对TNF的敏感性基本相同,而顺义转染子中增强表达的Bcl-2显著抑制TNF诱发的U937细胞凋亡。见图5。
图5 细胞存活计数
A. Control
, 百拇医药
B. pXJ41-neo转染子
C. Bcl-2-s转染子
3 讨论
TNF是由活化的巨噬细胞或单核细胞分泌的具有多种生物学效应的多肽物质,对许多细胞具有生物毒性作用。TNF既可诱发细胞坏死,又可诱发细胞凋亡,因细胞类型或剂量而异〔4〕。本实验用10,20 μg.L-1的TNF均可成功地诱导U937细胞凋亡,20 μg.L-1的TNF作用更明显。
自1985年Tsujimoto在Science杂志上提出Bcl-2基因以来,对Bcl-2基因的研究工作已深入开展。Bcl-2的过量表达已在淋巴细胞、胸腺细胞、神经细胞乃至昆虫细胞中证明可抑制多种因素造成的细胞凋亡。目前,一致认为Bcl-2对许多因素引发的PCD有抑制或延缓作用。这些因素包括:生长因子、放射线、糖皮质激素、佛波酯、钙离子及细胞毒药物等〔5~7〕。本研究发现Bcl-2增强表达可抑制TNF诱导的U937细胞凋亡,与上述观点吻合。此外,我们还发现TNF诱导U937细胞Bcl-2在mRNA水平上表达降低,同时又有其他研究表明Bcl-2的抑制剂可诱导多种肿瘤细胞的凋亡,这些情况说明许多肿瘤细胞需要依赖于Bcl-2或相应基因表达产物以阻止肿瘤细胞死亡,Bcl-2处于细胞凋亡过程中一个重要调控点,可以阻断细胞死亡途径。
, 百拇医药
Bcl-2是一种膜结合蛋白,主要位于核膜内质网与线粒体膜上,有人〔8〕认为它可能通过改变线粒体功能而清除活性氧自由基,减少氧化损伤引起的细胞凋亡。
作者简介:王 媛,女,25岁,硕士,技师
刘文虎,男,60岁,主任技师
参考文献
1 Tsujimoto Y, Croce M. Analysis of the structure, transcripts, and protein products of Bcl-2, the gene involved in human follicular lymphoma. Proc Natl Acad Sci USA, 1986;83(14):5 214~5 218
2 Alnemri E. Overexpressed full-length human Bcl-2 extends the survival of baculovivus-infected sf9 insect cells. Proc Natl Acad Sci USA, 1992;89(16):7 295~7 297
, 百拇医药
3 Sambrook J, Fritsch EF, Maniaatis T et al. Molecular cloning, A laboratory mannual. 2nd ed, NewYork: Cold Spring Harbor, 1995:26~28,55~57,345~347
4 Laster SM, Good JG,Gooding LR et al. Tumor necrosis factor can induce both apoptic and necrotic forms of cell lysis. J Immunol, 1988;141(8):2 629~ 2634
5 Allsopp TE, Wvatt S, Paterson HF et al. The proto-oncogene Bcl-2 can selectively rescue neurotrophic factor-dependent neurons from apoptosis. Cell,1993;73(2):295~307
, 百拇医药
6 Garrcia I, Martinou I, Tsujimoto Y et al. Prevention of programmed cell death of sympat-hetic neurons by the bcl-2 proto-oncogene. Science, 1992;258(5 080):302~304
7 Bissonnette RP, Echeverri F, Mahboubi A et al. Apoptosis cell death induced by c-myc is inhibited by Bcl-2. Nature,1992;359(4):552~557
8 Hockenbery DM, Oltval ZN, Yin XM et al. Bcl-2 function in an antioxidant pathway to prevent apoptosis. Cell, 1993;75(2):241~251
1999-01-13收稿,1999-03-10修回, 百拇医药
单位:解放军八一医院实验科(安徽医科大学八一临床学院),南京 210002
关键词:肿瘤坏死因子;转染;脱噬作用;原癌基因
安徽医科大学学报990208
摘要 目的 探讨肿瘤坏死因子(TNF)诱导的U937细胞凋亡与Bcl-2基因表达的关系。方法 首先用TNF处理U937细胞,提取小片段DNA进行DNA断裂分析,并通过RT-PCR检测细胞的Bcl-2基因mRNA表达;继而以磷酸钙沉淀法将Bcl-2基因转染到U937细胞,用G418筛选稳定转染子,然后用不同剂量TNF处理后观察转染与未转染细胞的存活率。 结果 TNF诱导的U937细胞Bcl-2基因的mRNA表达下调;用Bcl-2稳定转染的U937细胞经TNF处理,存活率明显高于未转染细胞。结论 Bcl-2基因增强表达阻抑TNF诱导的U937细胞凋亡。
, http://www.100md.com
自由词 Bcl-2基因
中国图书资料分类法分类号 R73-351
Relationship of TNF-induced apoptosis
in U937 cell and Bcl-2 expression
Wang Yuan, Chen Huiying, Liu Wenhu
(Clinical Laboratory, The 81st Hospital of PLA, Nanjing 210002)
Abstract Objective To study the relationship of tumor necrosis factor(TNF)-induced apoptosis in U937 cell and Bcl-2 gene expression. Methods U937 cells were treated by TNF and the low-molecular-weight DNA was abstracted for analysis, the Bcl-2 expression was also measured through RT-PCR. Then with calcium phosphate transfection, Bcl-2 expression vector was transfected into U937 cell. Positive cells were obtained by the G418 selection. The transfected and untransfected cells were treated by TNF, Then, cell viability was assayed. Results The Bcl-2 gene mRNA expression was down-regulated in U937 cell treated by TNF. The survival of Bcl-2 transfectant was far higher than the untransfected cells treated by TNF. Conclusion Overexpression of Bcl-2 protects U937 cell from apoptosis induced by TNF.
, 百拇医药
MeSH tumor necrosis factor; transfection; apoptosis; proto-oncogenes
Free words Bcl-2 gene
细胞凋亡(apoptosis)即程序性细胞死亡(programmed cell death,PCD), 是细胞通过激活其内在死亡程序而发生的一种具有选择性、可控性及遗传性的细胞自杀现象,细胞凋亡调控基因的发现将凋亡的研究真正推向了现代分子生物学的研究前沿。在这个庞大的基因家族中,Bcl-2不失为重要一员。该基因最初是在某些B细胞淋巴瘤病人细胞内发生的t(14;18)染色体易位中发现,其表达产物是一种膜粘附蛋白,相对分子质量为26 000〔1〕,过量的Bcl-2蛋白可抑制许多因素诱发的凋亡〔2〕。本研究以白血病U937细胞为对象,首先用肿瘤坏死因子(Tumor Necrosis Factor,TNF)诱发U937细胞凋亡,并检测Bcl-2基因的mRNA表达,继而将Bcl-2基因转染入U937细胞,以探讨其对TNF诱导的U937细胞凋亡的效应。
, http://www.100md.com
1 材料与方法
1.1 材料 哺乳动物细胞表达载体pXJ41-neo和pBCL-2-s来自厦门大学肿瘤细胞工程国家重点实验室(pBCL-2-s是含有编码人Bcl-2蛋白全长cDNA的顺义表达质粒);JM109菌株、U937细胞由南京铁道医学院科研所保存;RPMI1640培养基购自GIBCO公司;寡核苷酸引物由中科院上海细胞生物研究所合成;rhTNF和AMV逆转录酶为Promega产品;G418、酶标HRP抗体、Bcl-2抗体等购自上海华美公司。
1.2 方法
1.2.1 U937细胞培养及药物处理 采用RPMI 1640完全培养基培养细胞,当细胞生长至对数期加药处理。
1.2.2 细胞存活测定 台盼蓝拒染法(trypan blue exclusion)。
, 百拇医药
1.2.3 DNA断裂分析 2×106~5×106细胞用PBS洗涤后,加入500 μl细胞裂解液〔10 mmol.L-1 Tris-HCl,pH 7.5, 20 mmol.L-1 EDTA, 0.2%(体积分数,下同) Triton X-100〕,离心取上清,加100 mg.L-1无Dnase活性的RNase A, 37℃保温1 h,加入200 mg.L-1蛋白酶K,55℃保温2 h, 用酚∶氯仿∶异戊醇(25∶24∶1)和氯仿∶异戊醇(24∶1)分别抽提1次,上清加1/10体积3 mol.L-1 NaAc(pH 5.2)及2倍体积无水乙醇于-20℃ 放置1 h,离心去上清,加80%的乙醇洗涤沉淀后真空干燥,TE(pH 8.0)溶解,取20 μl样品做2 g.L-1琼脂糖凝胶电泳。
, http://www.100md.com
1.2.4 逆转录PCR cDNA合成体系为:1 μg总RNA、20 U AMV酶、2 μl dNTP(10 mmol.L-1)、4 μl AMV RT 5×反应缓冲液、 1 μl Bcl-2反义引物,共20 μl。25℃ 20 min,42℃ 45 min,反应完毕后以对照组(未经TNF处理组)cDNA为标准进行PCR反应:Bcl-2上下游引物各0.5 mmol.L-1,10 mmol.L-1 Tris-HCl(pH 9.0),50 mmol.L-1 KCl,1.5 mmol.L-1 MgCl2, 0.2 mmol.L-1 dNTP,cDNA 2.5 μl,Taq DNA 聚合酶2.5 U, 用于扩增的引物序列为:上游 5′-GACTTCGCCGAGATGTCGC-3′;下游5′-GTCTTGAGAGACAGCCAGCT-3′,扩增片段为326 bp。
, http://www.100md.com
1.2.5 质粒DNA制备、酶切和转化,细胞RNA提取等 见文献〔3〕。
1.2.6 U937细胞转染及筛选 将质粒pXJ41-neo和pBCL-2-s分别转染U937细胞,用含300 μg.L-1 G418的RPMI1640培养液筛选转染子〔4〕。
1.2.7 SDS-PAGE电泳与Western杂交 10 μg细胞蛋白抽提液经聚丙烯酰胺凝胶(12%分离胶,5%浓缩胶),电泳后用Pharmacia公司半干电转移槽转移至硝酸纤维膜上,经封闭液(10% g.L-1脱脂奶粉,0.3% Tween-20,PBS)封闭后依次与一抗(anti-Bcl-2单抗)、二抗(酶标HRP抗体)反应后用显色液(1 g.L-1 DAB,0.06% H2O2,PBS)显色,水洗拍照。
, 百拇医药
2 结果
2.1 TNF诱导白血病U937细胞凋亡 用10 μg.L-1和20 μg.L-1 TNF分别处理U937细胞4 h后,提取小片段DNA作琼脂糖凝胶电泳,结果如图1。同未处理细胞相比,处理细胞的DNA呈现显著的凋亡特征,即形成约200 bp及其倍数的梯形分布。用较高浓度TNF处理的U937细胞凋亡更明显。见图1。
图1 DNA断裂分析
1. Control
2. 10 μg.L-1
3. 20 μg.L-1
, http://www.100md.com
4. PCR marker
2.2 TNF诱导U937细胞Bcl-2基因mRNA表达下调 等量的细胞经药物处理4 h后RT-PCR结果见图2。与未经TNF处理组相比,TNF处理后的U937细胞Bcl-2 mRNA表达量减少。
图2 RT-PCR结果
1. PCR marker
2. 未处理组
3. 20 μg.L-1 TNF处理组
2.3 表达质粒的酶切分析 pXJ41-neo(约5.6 kb)含有HCMV病毒启动子和选择标记基因neo,pBCL-2-s(约7.4 kb)是含有人Bcl-2全长cDNA(约1.8 kb)的顺义表达质粒。两种质粒用限制性内切酶BamH Ⅰ消化,后者被切成两条片段,较小片段约为1.3 kb,结果如图3。
, 百拇医药
图3 酶切电泳图
1. PCR marker
2. pXJ41-neo
3. pXJ41-neo+BamHI
4. pBCL-2-s
5. pBCL-2-s+BamHI
2.4 Bcl-2表达产物的检测 图4为细胞Bcl-2的Western印迹图谱。pXJ41-neo转染子和空白对照组Bcl-2表达差异无显著性,pBCL-2-s转染子Bcl-2表达量较高。
图4 Bcl-2免疫印迹图谱
, http://www.100md.com
1. PBCL-2-s转染子
2. pXJ41-neo转染子
3. Control
2.5 转染细胞对TNF的敏感性 转染细胞在形态学方面与未转染细胞无明显差异,但其生长速度缓慢。这与其它实验室在异种细胞中所得结果相符,进一步证实了Bcl-2基因并非通常意义上的癌基因。用不同浓度的TNF处理24 h后所得细胞存活计数结果表明,空载转染细胞与对照细胞对TNF的敏感性基本相同,而顺义转染子中增强表达的Bcl-2显著抑制TNF诱发的U937细胞凋亡。见图5。
图5 细胞存活计数
A. Control
, 百拇医药
B. pXJ41-neo转染子
C. Bcl-2-s转染子
3 讨论
TNF是由活化的巨噬细胞或单核细胞分泌的具有多种生物学效应的多肽物质,对许多细胞具有生物毒性作用。TNF既可诱发细胞坏死,又可诱发细胞凋亡,因细胞类型或剂量而异〔4〕。本实验用10,20 μg.L-1的TNF均可成功地诱导U937细胞凋亡,20 μg.L-1的TNF作用更明显。
自1985年Tsujimoto在Science杂志上提出Bcl-2基因以来,对Bcl-2基因的研究工作已深入开展。Bcl-2的过量表达已在淋巴细胞、胸腺细胞、神经细胞乃至昆虫细胞中证明可抑制多种因素造成的细胞凋亡。目前,一致认为Bcl-2对许多因素引发的PCD有抑制或延缓作用。这些因素包括:生长因子、放射线、糖皮质激素、佛波酯、钙离子及细胞毒药物等〔5~7〕。本研究发现Bcl-2增强表达可抑制TNF诱导的U937细胞凋亡,与上述观点吻合。此外,我们还发现TNF诱导U937细胞Bcl-2在mRNA水平上表达降低,同时又有其他研究表明Bcl-2的抑制剂可诱导多种肿瘤细胞的凋亡,这些情况说明许多肿瘤细胞需要依赖于Bcl-2或相应基因表达产物以阻止肿瘤细胞死亡,Bcl-2处于细胞凋亡过程中一个重要调控点,可以阻断细胞死亡途径。
, 百拇医药
Bcl-2是一种膜结合蛋白,主要位于核膜内质网与线粒体膜上,有人〔8〕认为它可能通过改变线粒体功能而清除活性氧自由基,减少氧化损伤引起的细胞凋亡。
作者简介:王 媛,女,25岁,硕士,技师
刘文虎,男,60岁,主任技师
参考文献
1 Tsujimoto Y, Croce M. Analysis of the structure, transcripts, and protein products of Bcl-2, the gene involved in human follicular lymphoma. Proc Natl Acad Sci USA, 1986;83(14):5 214~5 218
2 Alnemri E. Overexpressed full-length human Bcl-2 extends the survival of baculovivus-infected sf9 insect cells. Proc Natl Acad Sci USA, 1992;89(16):7 295~7 297
, 百拇医药
3 Sambrook J, Fritsch EF, Maniaatis T et al. Molecular cloning, A laboratory mannual. 2nd ed, NewYork: Cold Spring Harbor, 1995:26~28,55~57,345~347
4 Laster SM, Good JG,Gooding LR et al. Tumor necrosis factor can induce both apoptic and necrotic forms of cell lysis. J Immunol, 1988;141(8):2 629~ 2634
5 Allsopp TE, Wvatt S, Paterson HF et al. The proto-oncogene Bcl-2 can selectively rescue neurotrophic factor-dependent neurons from apoptosis. Cell,1993;73(2):295~307
, 百拇医药
6 Garrcia I, Martinou I, Tsujimoto Y et al. Prevention of programmed cell death of sympat-hetic neurons by the bcl-2 proto-oncogene. Science, 1992;258(5 080):302~304
7 Bissonnette RP, Echeverri F, Mahboubi A et al. Apoptosis cell death induced by c-myc is inhibited by Bcl-2. Nature,1992;359(4):552~557
8 Hockenbery DM, Oltval ZN, Yin XM et al. Bcl-2 function in an antioxidant pathway to prevent apoptosis. Cell, 1993;75(2):241~251
1999-01-13收稿,1999-03-10修回, 百拇医药