顺铂缓释剂局部植入药代动力学的实验研究
作者:岑德意 宋必卫 王瑜 陈志武 方明 江勤
单位:安徽医科大学药理学教研室,合肥 230032
关键词:顺铂;药代动力学;迟效制剂;大鼠;狗
安徽医科大学学报000212
摘要 目的 研究局部植入顺铂缓释剂(DDPSRP)在大鼠和狗体内的药代动力学。方法 用原子吸收分光光度法(灯电流12.5 mA,波长265.9 nm)测定血浆顺铂(DDP)的浓度。 结果 大鼠皮下植入DDPSRP后,DDP可持续缓慢释放;狗静脉注射DDP 4 mg.kg-1,其时间-浓度曲线呈二室模型;狗肌肉植入2 mg.kg-1 DDPSRP后,其有效血浆浓度-时间曲线呈一室模型特点,但其维持有效血浆浓度时间(0.1 mg.L-1)长达168~264 h。结论 DDPSRP有显著的缓释作用。
, http://www.100md.com
中图书分类号 R 979.19
文献标识码 A 文章编号 1000-1492(2000)02-0116-03
Experimental study on the pharmacokinetics of cisplatin
sustained-release pellet by local embedding
Cen Deyi, Song Biwei,Wang Yu et al
(Dept of Pharmacology, Anhui Medical University, Hefei 230032)
Abstract Objective To study the pharmacokinetics of cisplatin sustained-release pellet (DDPSRP) in rats and dogs. Methods The concentration of cisplatin (DDP) in plasma was measured by atomic absorption spectrophotometer.Results DDP could release slowly and last after subcutaneous embedding of DDPSRP in rats; After intramuscular embedding (ime) of DDPSRP in dogs, the plasma drug concentration-time curve showed the characteristics of one compartment model, but the time of effective plasma concentration (0.1 mg.L-1) was 164~264 h.Conclusion DDPSRP possesses significant sustained-release effect.
, 百拇医药
MeSH cisplatin/pharmacokinetics; delayed-action preparations; rats; dogs
顺铂(Cisplatin, DDP)是一周期非特异性抗肿瘤药物〔1〕。为延长其在体内有效抗肿瘤时间,更好符合临床上多数敏感实体瘤的治疗要求,合肥工业大学控释药物研究室研制了新型的顺铂缓释制剂(DDP sustained-release pellet,DDPSRP),从而使药物在局部组织缓慢释放,达到长效减毒的目的。为深入了解该制剂在体内释药特点、血药浓度-时间关系等规律,笔者对其药代动力学进行了研究。
1 材料与方法
1.1 材料 DDPSRP:合肥工业大学控释药物研究室研制,批号,961114; DDP注射剂:锦州制药一厂生产,批号:980301;Wistar大鼠(体重230 g±20 g,合格证号:皖医实动准第02号)和杂种狗(体重10 kg±2.0 kg)均由安徽医科大学实验动物中心提供。
, http://www.100md.com
1.2 方法
1.2.1 大鼠肌肉植入DDPSRP后释药的测定 大鼠40只,随机分成10个组,每组4只(♀♂各半),用特制植入针在大鼠背部肌肉植入DDPSRP,每鼠8.10 mg(每粒2.7 mg)。按表1中时间段分别处死动物,局部解剖取出植入剂,蒸馏水洗去表面污染物(血迹),80℃,24 h烘干,用原子吸收分光光度法(灯电流12.5 mA,波长265.9 nm)测定残留药量,根据时间残留药量(净含量)不同,计算出不同累计释放药百分率。
表1 DDP(8.10 mg)植入大鼠体内的残留药量(mg)和累计释药率(%) 时间(h)
n
残留药量
累计释药率(%)
1
, 百拇医药
4
7.8±0.2
4.01±2.11
2
4
7.6±0.1
6.17±1.75
6
4
7.4±0.2
8.95±2.11
12
4
, 百拇医药
7.1±0.2
12.96±2.36
24
4
6.5±0.5
19.44±5.91
48
4
5.8±0.4
28.70±5.46
72
4
4.9±0.4
, http://www.100md.com
39.51±4.62
96
4
4.5±0.5
45.06±5.57
144
4
3.0±0.4
62.96±5.04
240
4
2.3±0.3
71.91±3.69
, http://www.100md.com
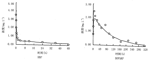
1.2.2 DDP iv或肌肉植入DDPSRP后血中DDP浓度的测定 狗8只,随机分成2组,每组4只,♀♂各半,分别iv DDP注射液4 mg.kg-1和肌肉植入DDPSRP 2 mg.kg-1。各组分别股动脉取血2~3 ml,用原子吸收分光光度法(灯电流12.5 mA, 波长265.9 nm)测定DDP浓度(见图1),并用皖南医学院药理教研室编制的3p87药代动力学程序计算药代动力学参数。
2 结果
2.1 DDPSRP植入的释药情况 结果如表1所示,DDPSRP大鼠肌肉植入后,其释药量随时间延长渐减,植入后10天累计释药率为71.9%。
2.2 狗iv DDP和肌肉植入DDPSRP后血药浓度-时间的关系 狗iv 4 mg.kg-1 DDP可维持0.1 mg.L-1(有效抗肿瘤浓度〔2〕)以上的时间约为36 h左右,在体内的分布呈二室模型,时间-浓度曲线方程为C(t)=Aeαt+Beβt,其药动学主要参数见表2。而肌肉植入2 mg.kg-1 DDPSRP后,其血DDP浓度在0.1 mg.L-1以上可维持达168~264 h,其体内过程符合具有缓释的一室模型,时间-浓度曲线方程为:C(t)=Aee-kett+Are-krt-(Ae+Ar)e-kat ,其中Ae=DoKaKr/V1(Kr-Ke) (Ka-Kr), Ar=DoKaKr/V1(Kr-Ke)(Ka-Kr)。Ke为消除速率常数,Kr为缓释速率常数,Ka为吸收速率常数,其它药动学
, http://www.100md.com
图1 狗iv DDP (4 mg.kg-1)和肌肉植入DDPSRP(2 mg.kg-1)血药浓度-时间曲线
○平均血药浓度,—拟合曲线
表2 狗iv DDP(4 mg.kg-1)和im DDPSRP(2 mg.kg-1)药代动力学参数(n=4,
±s) iv DDP
im DDPSRP
参数名称
, http://www.100md.com
参数值
参数名称
参数值
A(mg.L-1)
3.518 2±1.819 2
A(mg*L-1)
3.148±2.089
α(h-1)
2.653 2±1.647 0
K(h-1)
, http://www.100md.com
0.728±1.230
B(mg.L-1)
0.687 5±0.312 8
Ar(mg*L-1)
2.216±0.879
β(h-1)
0.048 0±0.019 1
Kr(h-1)
0.010±0.004
, 百拇医药
t0.5(α)(h)
0.315 9±0.161 0
Ka(h-1)
0.467±0.260
tβ5(α)(h)
17.452±10.335
t0.5e(h)
18.181±26.115
K21(h-1)
0.493 8±0.315 4
, 百拇医药
t0.5r(h)
73.538±23.935
K10(h-1)
0.242 8±0.050 5
T0.5(h)
3.936±3.326
K12(h-1)
1.964 7±1.353 7
V1(L.kg-1)
, http://www.100md.com
2.043±2.820
V1(L.kg-1)
0.573 3±0.272 1
CL(L.h-1.kg-1)
0.092±0.017
CL(L.h-1.kg-1)
0.141 1±0.071 4
, 百拇医药
AUC0-n(m.h-1.L-1)
213.375±22.727
AUC0~n(mg.h-1.L-1)
17.051 0±8.046 7
AUC0~∞(m.h-1.L-1)
222.929±40.391
, 百拇医药
AUC0~∞(mg.h-1.L-1)
18.090 0±9.505 8
Tpeak(h)
9.301±4.817
Cmax(mg.L-1)
2.311±0.716
参数见表2。
3 讨论
, 百拇医药
缓释制剂是一种新型制剂,可延长药效时间减少用药次数,方便临床用药及降低药物毒副反应,因此,受到广泛的欢迎。迄今尚未见到国内文献有关DDP缓释制剂的研究报道,本实验对DDP缓释制剂DDPSRP的药动学进行了研究。结果大鼠皮下植入DDPSRP后,DDP可逐渐释放,10天累计释药率达71.9%,其释药量随时间延长而减少。
狗血DDP测定结果表明,iv DDP后,其时间-浓度曲线呈二室模型,与文献报道〔2〕一致;但DDPSRP肌肉植入后,其时间-浓度曲线呈一室模型,植入DDPSRP 2 mg.kg-1后,维持有效抗瘤浓度(0.1 mg.L-1)长达168~264 h,而iv DDP有效浓度维持36 h以上,至48 h已降至无效浓度。im DDP SRP消除半衰期与 iv DDP相当,但有一长达73.5 h±23.9 h的缓释半衰期,证明其确有缓释作用,肌肉植入抗瘤时间大大延长〔2〕。由此可见DDPSRP确有很好的缓释作用,因此,可大大减少临床用药次数,方便临床治疗,并且可降低全身毒副反应的发生。
, http://www.100md.com
综上所述,DDPSRP有优良的缓释药动学特点,是一很好的抗肿瘤新制剂。
岑德意,女, 46岁,主管技师
宋必卫, 男, 42岁, 教授, 硕士生导师
参考文献
1,金有豫. 抗恶性肿瘤药. 见:江明性主编.药理学,第4版, 北京:人民卫生出版社,1996:336~350
2,韩 锐.抗癌药物研究与实验技术. 北京:北京医科大学、中国协和医科大学联合出版社,1997:447~451
2000-02-02收稿,2000-04-11修回, 百拇医药
单位:安徽医科大学药理学教研室,合肥 230032
关键词:顺铂;药代动力学;迟效制剂;大鼠;狗
安徽医科大学学报000212
摘要 目的 研究局部植入顺铂缓释剂(DDPSRP)在大鼠和狗体内的药代动力学。方法 用原子吸收分光光度法(灯电流12.5 mA,波长265.9 nm)测定血浆顺铂(DDP)的浓度。 结果 大鼠皮下植入DDPSRP后,DDP可持续缓慢释放;狗静脉注射DDP 4 mg.kg-1,其时间-浓度曲线呈二室模型;狗肌肉植入2 mg.kg-1 DDPSRP后,其有效血浆浓度-时间曲线呈一室模型特点,但其维持有效血浆浓度时间(0.1 mg.L-1)长达168~264 h。结论 DDPSRP有显著的缓释作用。
, http://www.100md.com
中图书分类号 R 979.19
文献标识码 A 文章编号 1000-1492(2000)02-0116-03
Experimental study on the pharmacokinetics of cisplatin
sustained-release pellet by local embedding
Cen Deyi, Song Biwei,Wang Yu et al
(Dept of Pharmacology, Anhui Medical University, Hefei 230032)
Abstract Objective To study the pharmacokinetics of cisplatin sustained-release pellet (DDPSRP) in rats and dogs. Methods The concentration of cisplatin (DDP) in plasma was measured by atomic absorption spectrophotometer.Results DDP could release slowly and last after subcutaneous embedding of DDPSRP in rats; After intramuscular embedding (ime) of DDPSRP in dogs, the plasma drug concentration-time curve showed the characteristics of one compartment model, but the time of effective plasma concentration (0.1 mg.L-1) was 164~264 h.Conclusion DDPSRP possesses significant sustained-release effect.
, 百拇医药
MeSH cisplatin/pharmacokinetics; delayed-action preparations; rats; dogs
顺铂(Cisplatin, DDP)是一周期非特异性抗肿瘤药物〔1〕。为延长其在体内有效抗肿瘤时间,更好符合临床上多数敏感实体瘤的治疗要求,合肥工业大学控释药物研究室研制了新型的顺铂缓释制剂(DDP sustained-release pellet,DDPSRP),从而使药物在局部组织缓慢释放,达到长效减毒的目的。为深入了解该制剂在体内释药特点、血药浓度-时间关系等规律,笔者对其药代动力学进行了研究。
1 材料与方法
1.1 材料 DDPSRP:合肥工业大学控释药物研究室研制,批号,961114; DDP注射剂:锦州制药一厂生产,批号:980301;Wistar大鼠(体重230 g±20 g,合格证号:皖医实动准第02号)和杂种狗(体重10 kg±2.0 kg)均由安徽医科大学实验动物中心提供。
, http://www.100md.com
1.2 方法
1.2.1 大鼠肌肉植入DDPSRP后释药的测定 大鼠40只,随机分成10个组,每组4只(♀♂各半),用特制植入针在大鼠背部肌肉植入DDPSRP,每鼠8.10 mg(每粒2.7 mg)。按表1中时间段分别处死动物,局部解剖取出植入剂,蒸馏水洗去表面污染物(血迹),80℃,24 h烘干,用原子吸收分光光度法(灯电流12.5 mA,波长265.9 nm)测定残留药量,根据时间残留药量(净含量)不同,计算出不同累计释放药百分率。
表1 DDP(8.10 mg)植入大鼠体内的残留药量(mg)和累计释药率(%) 时间(h)
n
残留药量
累计释药率(%)
1
, 百拇医药
4
7.8±0.2
4.01±2.11
2
4
7.6±0.1
6.17±1.75
6
4
7.4±0.2
8.95±2.11
12
4
, 百拇医药
7.1±0.2
12.96±2.36
24
4
6.5±0.5
19.44±5.91
48
4
5.8±0.4
28.70±5.46
72
4
4.9±0.4
, http://www.100md.com
39.51±4.62
96
4
4.5±0.5
45.06±5.57
144
4
3.0±0.4
62.96±5.04
240
4
2.3±0.3
71.91±3.69
, http://www.100md.com
1.2.2 DDP iv或肌肉植入DDPSRP后血中DDP浓度的测定 狗8只,随机分成2组,每组4只,♀♂各半,分别iv DDP注射液4 mg.kg-1和肌肉植入DDPSRP 2 mg.kg-1。各组分别股动脉取血2~3 ml,用原子吸收分光光度法(灯电流12.5 mA, 波长265.9 nm)测定DDP浓度(见图1),并用皖南医学院药理教研室编制的3p87药代动力学程序计算药代动力学参数。
2 结果
2.1 DDPSRP植入的释药情况 结果如表1所示,DDPSRP大鼠肌肉植入后,其释药量随时间延长渐减,植入后10天累计释药率为71.9%。
2.2 狗iv DDP和肌肉植入DDPSRP后血药浓度-时间的关系 狗iv 4 mg.kg-1 DDP可维持0.1 mg.L-1(有效抗肿瘤浓度〔2〕)以上的时间约为36 h左右,在体内的分布呈二室模型,时间-浓度曲线方程为C(t)=Aeαt+Beβt,其药动学主要参数见表2。而肌肉植入2 mg.kg-1 DDPSRP后,其血DDP浓度在0.1 mg.L-1以上可维持达168~264 h,其体内过程符合具有缓释的一室模型,时间-浓度曲线方程为:C(t)=Aee-kett+Are-krt-(Ae+Ar)e-kat ,其中Ae=DoKaKr/V1(Kr-Ke) (Ka-Kr), Ar=DoKaKr/V1(Kr-Ke)(Ka-Kr)。Ke为消除速率常数,Kr为缓释速率常数,Ka为吸收速率常数,其它药动学
, http://www.100md.com
图1 狗iv DDP (4 mg.kg-1)和肌肉植入DDPSRP(2 mg.kg-1)血药浓度-时间曲线
○平均血药浓度,—拟合曲线
表2 狗iv DDP(4 mg.kg-1)和im DDPSRP(2 mg.kg-1)药代动力学参数(n=4,
im DDPSRP
参数名称
, http://www.100md.com
参数值
参数名称
参数值
A(mg.L-1)
3.518 2±1.819 2
A(mg*L-1)
3.148±2.089
α(h-1)
2.653 2±1.647 0
K(h-1)
, http://www.100md.com
0.728±1.230
B(mg.L-1)
0.687 5±0.312 8
Ar(mg*L-1)
2.216±0.879
β(h-1)
0.048 0±0.019 1
Kr(h-1)
0.010±0.004
, 百拇医药
t0.5(α)(h)
0.315 9±0.161 0
Ka(h-1)
0.467±0.260
tβ5(α)(h)
17.452±10.335
t0.5e(h)
18.181±26.115
K21(h-1)
0.493 8±0.315 4
, 百拇医药
t0.5r(h)
73.538±23.935
K10(h-1)
0.242 8±0.050 5
T0.5(h)
3.936±3.326
K12(h-1)
1.964 7±1.353 7
V1(L.kg-1)
, http://www.100md.com
2.043±2.820
V1(L.kg-1)
0.573 3±0.272 1
CL(L.h-1.kg-1)
0.092±0.017
CL(L.h-1.kg-1)
0.141 1±0.071 4
, 百拇医药
AUC0-n(m.h-1.L-1)
213.375±22.727
AUC0~n(mg.h-1.L-1)
17.051 0±8.046 7
AUC0~∞(m.h-1.L-1)
222.929±40.391
, 百拇医药
AUC0~∞(mg.h-1.L-1)
18.090 0±9.505 8
Tpeak(h)
9.301±4.817
Cmax(mg.L-1)
2.311±0.716
参数见表2。
3 讨论
, 百拇医药
缓释制剂是一种新型制剂,可延长药效时间减少用药次数,方便临床用药及降低药物毒副反应,因此,受到广泛的欢迎。迄今尚未见到国内文献有关DDP缓释制剂的研究报道,本实验对DDP缓释制剂DDPSRP的药动学进行了研究。结果大鼠皮下植入DDPSRP后,DDP可逐渐释放,10天累计释药率达71.9%,其释药量随时间延长而减少。
狗血DDP测定结果表明,iv DDP后,其时间-浓度曲线呈二室模型,与文献报道〔2〕一致;但DDPSRP肌肉植入后,其时间-浓度曲线呈一室模型,植入DDPSRP 2 mg.kg-1后,维持有效抗瘤浓度(0.1 mg.L-1)长达168~264 h,而iv DDP有效浓度维持36 h以上,至48 h已降至无效浓度。im DDP SRP消除半衰期与 iv DDP相当,但有一长达73.5 h±23.9 h的缓释半衰期,证明其确有缓释作用,肌肉植入抗瘤时间大大延长〔2〕。由此可见DDPSRP确有很好的缓释作用,因此,可大大减少临床用药次数,方便临床治疗,并且可降低全身毒副反应的发生。
, http://www.100md.com
综上所述,DDPSRP有优良的缓释药动学特点,是一很好的抗肿瘤新制剂。
岑德意,女, 46岁,主管技师
宋必卫, 男, 42岁, 教授, 硕士生导师
参考文献
1,金有豫. 抗恶性肿瘤药. 见:江明性主编.药理学,第4版, 北京:人民卫生出版社,1996:336~350
2,韩 锐.抗癌药物研究与实验技术. 北京:北京医科大学、中国协和医科大学联合出版社,1997:447~451
2000-02-02收稿,2000-04-11修回, 百拇医药