双侧钩槽式骨延长器
作者:刘国平 朱通伯
单位:刘国平 深圳市中心医院 (518036);朱通伯 广东佛山市中医院 (528000)
关键词:截骨术;骨延长术;骨延长器
中国医疗器械杂志990608 提要 介绍了一种可持续进行骨延升的新型双侧钩槽式骨延长 器系列,主要用于治疗肢体短缩和不等长,它主要由槽式连接杆、延长螺杆、钩式螺栓、压 紧螺母和固定针构成。可根据骨延长术的需要进行各个方向和各种角度的调节,以随时调整 肢体长轴线。固定针尚可固定在连接杆前后两面,形成稳定的三角构形。轻便、价廉,功能 多样,操作简单、方便,也适合基层医院应用。
The Development of A Bilateral Groove Lengthener
Liu Guoping Zhu Tongbe
, 百拇医药
ABSTRACT A new series of bilater al groove external fixator are introduced in the article, which are mainy used to treat limb crispation. These apparatuses are composed of the groove frame thr eaded rod, hooked bolts, nuts and pins. They can be adjusted in several directio ns to correct the axis of limb in limb lengthening. The pins can be fixed on th e anterior and posterior sides of the frame, with a stable angle structure. The devices are light and practical, with multiple functions, low price, simple and convenient operation. It can apply to all kinds of hospitals.
, 百拇医药
KEY WORDS Osteotomy Skeletal lengthening Skeletal lengthener
自1969年Ilizarov成功地将全环式外固定器应用于肢体延长以来[1] ,世界各 国愈来愈广泛地采用外固定器治疗各种肢体不等长,骨延长器的样式和功能也不断得到改进 和提高,并打破了一次性骨延长术只能延长3~5cm的限制,使胫骨延长最长的长度达到了 13cm,股骨和胫骨同时干骺端截骨延长最长长度达到了26cm[2],减少了过去骨延 长治疗中的并发症。
1 问题的提出和设想
早在1969年Ilizarov就首先利用全环式外固定器将骨骺牵伸延长应用于临床,对49例短 缩下肢成功地进行了2~11cm的延长,并报告了51只小狗的动物实验观察报告。利用全环 式外固定器进行骨延长,稳定可靠。但其全环弓环由不锈钢制成,比较笨重,操作比较复杂 ,且不便于肢体活动锻炼。1984年李起鸿[3]等人设计出一种半环槽式外固定器, 并用于肢体延长,半环弓环由铝合金制成,较Ilizarov的全环弓环更易于安装和拆卸,也 更为轻便。但该外固定器构造仍比较复杂,半环弓环的操作不易掌握。
, http://www.100md.com
针对以上问题,我们在钩槽式外固定器[4]的基础上,设计和研制了一种构造 简单,功能多样,能够克服上述弊端的双侧钩槽式骨延长器。
2 双侧钩槽式骨延长器的结构及特点
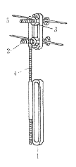
双侧钩槽式骨延长器由两根延长螺杆2、每侧各两个槽式连接杆1、数枚钩式螺 栓3、压 紧螺母4、垫圈和固定针5构成,见图1。槽式连接杆由铝合金铸成,质量轻,硬度和韧度均 好,中央有一条长槽沟,两端呈弧形,螺栓可在其中自由移动和转动;连接杆厚约0.5~1c m,可夹持直径2~4mm的固定针。延长螺杆、固定针、垫圈、螺栓和螺母由不锈钢制成, 以满足固定强度。双侧延长螺杆各旋转一圈,骨延长器可沿纵轴延长1mm。
图1 双侧钩槽式骨延长器结构图
, http://www.100md.com 由于骨延长术的截骨部位多选在长骨的干骺端,关节一侧的截骨段较短,固 定针间距较小,骨干侧截骨段较长,固定针间距较大,因此固定针进针部位、进针方向以及 针与针之间的距离不恒定。股骨骨延长术时,为了使大腿内侧骨延长器连接杆尽量远离会阴 部,以方便患者的髋关节屈伸活动和大小便,固定针往往需从大腿外上斜向大腿内下穿经股 骨干进行固定,固定针之间形成了较大的夹角。如果要用一个简单、轻便的外固定器来解决 所有这些问题,则困难较大。以前的外固定器都显得过于笨重,构造过于复杂,且不能解决 全部问题。而钩槽式骨延长器通过钩槽式设计,使结构简化,部件减少,重量减轻,并使上 述诸多问题得到了较好的解决。
首先槽式连接杆、钩式螺栓和螺母对固定针构成三点式嵌合固定,稳定性好 ,患者可以早期进行患肢关节活动锻炼。螺栓可在连接杆沟槽中自由移动,即使很短的截骨 段也可通过固定针得到固定(图2),且进针点和进针方向不受限制;有时为了稳定固定双侧 截骨段,固定针可多达6~7根。若数根固定针不在同一平面,可选用不同厚度的平垫圈或不 同坡度的斜形垫圈进行固定,也可将固定针分别固定在连接杆的前面和后面。尤其在固定近 关节端截骨段时,可借助多根细针从连接杆前后两面多处进针,即可以构成稳定的三角构形 ,又可以在两固定针距离较近时拉开它们之间的距离,以达到稳定固定截骨段的目的。同时 斜形垫圈的使用还可矫正截骨段的旋转移位。螺栓的钩槽可夹持直径2.0~4.0mm的固定 针,通过螺栓的自由转动可随骨折固定的需要进行各个方向(360°旋转)和各种角度的调节 ,以矫正两截骨段的成角移位,调整肢体长轴力线。对于股骨骨延长术,近会阴部的一固定 针可由大腿外上斜向内下,以使大腿内侧连接杆尽量远离会阴部,方便患者大小便。此时虽 然固定针之间形成了较大的夹角,但通过旋转螺栓也可进行良好的固定。连接杆有大、小两 种型号,各重约0.45~0.5kg,可分别用于胫腓骨和股骨骨延长术。
, http://www.100md.com
图2 双侧钩槽式骨延长器用于胫骨骨延长
自1991年以来,我们用双侧钩槽式骨延长器进行下肢肢体延长共39例,均获得满意疗效 ,双侧钩槽式骨延长器的功能已满足了人体下肢骨延长术的需要。
3 讨论
随着Ilizarov全环外固定器和半环槽式外固定器在肢体延长术中的广范应用,人们对骨 延长器的优点有了愈来愈多的认识。但由于肢体肌腱、神经、血管的结构特点所限,骨延长 的长度也各不相同,骨延长术中所需牵伸时间较长,需要较大的牵伸力,肢体活动锻炼时还 要承受各种折弯、旋转等载荷,因此人们在骨延长器的设计中一直借助粗大、复杂的结构, 来获得稳定的固定和牵伸功能,以致于骨延长器构造笨重,且不便于操作。
我们认为骨延长器在满足截骨段固定、稳定逐步牵伸的功能和生物力学性能要求的前提 下,构造越简单,部件越少,性能越稳定,操作越方便,越有利于人体功能锻炼和康复。双 侧钩槽式骨延长器的钩槽设计正是基于上述出发点,对骨延长器进行的优化设计。其结构简 化为一个钩和一个槽,安装和拆卸的操作十分简单,它们既能牢固地嵌合固定,又能为固定 针提供较大的应用范围,使骨延长器重量大大减轻,稳定性增加,且有多种功能,其用途也 更为广泛。
, 百拇医药
从生物力学方面来看,迄今的骨延长器多选用全环式和半环槽式两种基本类型。其中半 环槽式较全环式更轻便一些,操作也更简单、容易、方便一些。而这些环式骨延长器均在肢 体上环绕一圈或大半圈,给患肢保暖、护理及功能锻炼带来一定困难。双侧钩槽式骨延长器 为平行双平面双侧骨延长器,它仅分别在患肢两侧各有一根连接杆,夹持位于平行双平面的 固定针形成三角构形,可加大固定针的间距以增加稳定性。
Weber[4]认为,固定针距离骨折端越近,同一骨折段的固定针之间的距离越远 ,骨折固定就越稳定。双侧钩槽式骨延长器的进针点不受限制,可根据上述原则选择进针点 ,以达到稳定的固定。由于其固定针布局合理,因此仅选用直径4mm固定针就已达到肢体延 长所需的力学性能要求。
当然,钩槽式骨延长器也还存在一些问题,如:针眼感染和穿针处的皮肤及软组织疼痛 ,近关节固定对关节活动范围的影响,尚不能用于同一肢体双骨段截骨延长术等。为了提高 肢体延长的治疗质量,提高我国医疗水平,希望能有更多同道与我们一起研究和探讨,提出 意见和建议,使其更加完善。
, 百拇医药
参考文献
1 Ilizarov GA. Clinical application of the t ensionstress effect for limb lengthening. Clin Orthop.1990;250 8
2 李起鸿等.胫骨干骺端截骨延长术.中华外科杂志.1986;24:109
3 刘国平等.单侧多针平行双平面骨外固定器的研制.中国医疗器械杂志.199 6;20:22
4 Weber BG et al. The external fixator. AO/ASIF-threaded ro d system. Berlin: Springer-Verlag, 1985
(1999年3月12日收稿), http://www.100md.com
单位:刘国平 深圳市中心医院 (518036);朱通伯 广东佛山市中医院 (528000)
关键词:截骨术;骨延长术;骨延长器
中国医疗器械杂志990608 提要 介绍了一种可持续进行骨延升的新型双侧钩槽式骨延长 器系列,主要用于治疗肢体短缩和不等长,它主要由槽式连接杆、延长螺杆、钩式螺栓、压 紧螺母和固定针构成。可根据骨延长术的需要进行各个方向和各种角度的调节,以随时调整 肢体长轴线。固定针尚可固定在连接杆前后两面,形成稳定的三角构形。轻便、价廉,功能 多样,操作简单、方便,也适合基层医院应用。
The Development of A Bilateral Groove Lengthener
Liu Guoping Zhu Tongbe
, 百拇医药
ABSTRACT A new series of bilater al groove external fixator are introduced in the article, which are mainy used to treat limb crispation. These apparatuses are composed of the groove frame thr eaded rod, hooked bolts, nuts and pins. They can be adjusted in several directio ns to correct the axis of limb in limb lengthening. The pins can be fixed on th e anterior and posterior sides of the frame, with a stable angle structure. The devices are light and practical, with multiple functions, low price, simple and convenient operation. It can apply to all kinds of hospitals.
, 百拇医药
KEY WORDS Osteotomy Skeletal lengthening Skeletal lengthener
自1969年Ilizarov成功地将全环式外固定器应用于肢体延长以来[1] ,世界各 国愈来愈广泛地采用外固定器治疗各种肢体不等长,骨延长器的样式和功能也不断得到改进 和提高,并打破了一次性骨延长术只能延长3~5cm的限制,使胫骨延长最长的长度达到了 13cm,股骨和胫骨同时干骺端截骨延长最长长度达到了26cm[2],减少了过去骨延 长治疗中的并发症。
1 问题的提出和设想
早在1969年Ilizarov就首先利用全环式外固定器将骨骺牵伸延长应用于临床,对49例短 缩下肢成功地进行了2~11cm的延长,并报告了51只小狗的动物实验观察报告。利用全环 式外固定器进行骨延长,稳定可靠。但其全环弓环由不锈钢制成,比较笨重,操作比较复杂 ,且不便于肢体活动锻炼。1984年李起鸿[3]等人设计出一种半环槽式外固定器, 并用于肢体延长,半环弓环由铝合金制成,较Ilizarov的全环弓环更易于安装和拆卸,也 更为轻便。但该外固定器构造仍比较复杂,半环弓环的操作不易掌握。
, http://www.100md.com
针对以上问题,我们在钩槽式外固定器[4]的基础上,设计和研制了一种构造 简单,功能多样,能够克服上述弊端的双侧钩槽式骨延长器。
2 双侧钩槽式骨延长器的结构及特点
双侧钩槽式骨延长器由两根延长螺杆2、每侧各两个槽式连接杆1、数枚钩式螺 栓3、压 紧螺母4、垫圈和固定针5构成,见图1。槽式连接杆由铝合金铸成,质量轻,硬度和韧度均 好,中央有一条长槽沟,两端呈弧形,螺栓可在其中自由移动和转动;连接杆厚约0.5~1c m,可夹持直径2~4mm的固定针。延长螺杆、固定针、垫圈、螺栓和螺母由不锈钢制成, 以满足固定强度。双侧延长螺杆各旋转一圈,骨延长器可沿纵轴延长1mm。
图1 双侧钩槽式骨延长器结构图
, http://www.100md.com 由于骨延长术的截骨部位多选在长骨的干骺端,关节一侧的截骨段较短,固 定针间距较小,骨干侧截骨段较长,固定针间距较大,因此固定针进针部位、进针方向以及 针与针之间的距离不恒定。股骨骨延长术时,为了使大腿内侧骨延长器连接杆尽量远离会阴 部,以方便患者的髋关节屈伸活动和大小便,固定针往往需从大腿外上斜向大腿内下穿经股 骨干进行固定,固定针之间形成了较大的夹角。如果要用一个简单、轻便的外固定器来解决 所有这些问题,则困难较大。以前的外固定器都显得过于笨重,构造过于复杂,且不能解决 全部问题。而钩槽式骨延长器通过钩槽式设计,使结构简化,部件减少,重量减轻,并使上 述诸多问题得到了较好的解决。
首先槽式连接杆、钩式螺栓和螺母对固定针构成三点式嵌合固定,稳定性好 ,患者可以早期进行患肢关节活动锻炼。螺栓可在连接杆沟槽中自由移动,即使很短的截骨 段也可通过固定针得到固定(图2),且进针点和进针方向不受限制;有时为了稳定固定双侧 截骨段,固定针可多达6~7根。若数根固定针不在同一平面,可选用不同厚度的平垫圈或不 同坡度的斜形垫圈进行固定,也可将固定针分别固定在连接杆的前面和后面。尤其在固定近 关节端截骨段时,可借助多根细针从连接杆前后两面多处进针,即可以构成稳定的三角构形 ,又可以在两固定针距离较近时拉开它们之间的距离,以达到稳定固定截骨段的目的。同时 斜形垫圈的使用还可矫正截骨段的旋转移位。螺栓的钩槽可夹持直径2.0~4.0mm的固定 针,通过螺栓的自由转动可随骨折固定的需要进行各个方向(360°旋转)和各种角度的调节 ,以矫正两截骨段的成角移位,调整肢体长轴力线。对于股骨骨延长术,近会阴部的一固定 针可由大腿外上斜向内下,以使大腿内侧连接杆尽量远离会阴部,方便患者大小便。此时虽 然固定针之间形成了较大的夹角,但通过旋转螺栓也可进行良好的固定。连接杆有大、小两 种型号,各重约0.45~0.5kg,可分别用于胫腓骨和股骨骨延长术。
, http://www.100md.com
图2 双侧钩槽式骨延长器用于胫骨骨延长
自1991年以来,我们用双侧钩槽式骨延长器进行下肢肢体延长共39例,均获得满意疗效 ,双侧钩槽式骨延长器的功能已满足了人体下肢骨延长术的需要。
3 讨论
随着Ilizarov全环外固定器和半环槽式外固定器在肢体延长术中的广范应用,人们对骨 延长器的优点有了愈来愈多的认识。但由于肢体肌腱、神经、血管的结构特点所限,骨延长 的长度也各不相同,骨延长术中所需牵伸时间较长,需要较大的牵伸力,肢体活动锻炼时还 要承受各种折弯、旋转等载荷,因此人们在骨延长器的设计中一直借助粗大、复杂的结构, 来获得稳定的固定和牵伸功能,以致于骨延长器构造笨重,且不便于操作。
我们认为骨延长器在满足截骨段固定、稳定逐步牵伸的功能和生物力学性能要求的前提 下,构造越简单,部件越少,性能越稳定,操作越方便,越有利于人体功能锻炼和康复。双 侧钩槽式骨延长器的钩槽设计正是基于上述出发点,对骨延长器进行的优化设计。其结构简 化为一个钩和一个槽,安装和拆卸的操作十分简单,它们既能牢固地嵌合固定,又能为固定 针提供较大的应用范围,使骨延长器重量大大减轻,稳定性增加,且有多种功能,其用途也 更为广泛。
, 百拇医药
从生物力学方面来看,迄今的骨延长器多选用全环式和半环槽式两种基本类型。其中半 环槽式较全环式更轻便一些,操作也更简单、容易、方便一些。而这些环式骨延长器均在肢 体上环绕一圈或大半圈,给患肢保暖、护理及功能锻炼带来一定困难。双侧钩槽式骨延长器 为平行双平面双侧骨延长器,它仅分别在患肢两侧各有一根连接杆,夹持位于平行双平面的 固定针形成三角构形,可加大固定针的间距以增加稳定性。
Weber[4]认为,固定针距离骨折端越近,同一骨折段的固定针之间的距离越远 ,骨折固定就越稳定。双侧钩槽式骨延长器的进针点不受限制,可根据上述原则选择进针点 ,以达到稳定的固定。由于其固定针布局合理,因此仅选用直径4mm固定针就已达到肢体延 长所需的力学性能要求。
当然,钩槽式骨延长器也还存在一些问题,如:针眼感染和穿针处的皮肤及软组织疼痛 ,近关节固定对关节活动范围的影响,尚不能用于同一肢体双骨段截骨延长术等。为了提高 肢体延长的治疗质量,提高我国医疗水平,希望能有更多同道与我们一起研究和探讨,提出 意见和建议,使其更加完善。
, 百拇医药
参考文献
1 Ilizarov GA. Clinical application of the t ensionstress effect for limb lengthening. Clin Orthop.1990;250 8
2 李起鸿等.胫骨干骺端截骨延长术.中华外科杂志.1986;24:109
3 刘国平等.单侧多针平行双平面骨外固定器的研制.中国医疗器械杂志.199 6;20:22
4 Weber BG et al. The external fixator. AO/ASIF-threaded ro d system. Berlin: Springer-Verlag, 1985
(1999年3月12日收稿), http://www.100md.com