双探头复合式中医脉象传感器的研究
作者:汤伟昌
单位:汤伟昌(上海中医药大学 上海 200032)
关键词:中医脉象;双探头脉象传感器
中国医疗器械杂志000105
提 要:介绍双探头复合式脉象传感器的研究设计。该传感器有别于单探头脉象传感器,它能测取中医脉象信号中有关力学参数指标,有助于对中医脉象作更深层次的定量分析。文章还对该传感器的临床意义作了探讨。
中图分类号:TP212.3 文献标识码:A
文章编号:1000-6974(2000)01-0016-04
The Development of a Double Point Sensor for the Pulse
, 百拇医药
TANG Wei-chang
(Shanghai University of Traditional Chinese Medicine)
Abstract:This article has introduced the research and design on a double point sensor for the comprehensive pulse.The difference of this sensor from the single point sensor is that it is able to obtain a mechanics parameter from the pulse signals of the traditional Chinese medicine.This would be a great help for the more detailed quantitative analysis of the pulse signals of the traditional Chinese medicine. It has also explored the contribution of the double point sensor to the clinical medicine.
, 百拇医药
Key words:Pulse of T.C.M; Double point sensor for the pulse▲
脉象是反映人体生理状态和病理变化的一项灵敏的综合信息。因此,实现脉诊客观化、研究脉象的检测方法以及在此基础上进行的机理研究,已成为国内外学者共同关注的课题。现有检测人体中医脉象信息的装置,主要是带有一个单点式脉象换能器的脉象仪。人们利用这类仪器已能初步识别十几种常见中医脉象。这些仪器的深入应用推动了我国中医脉象客观化的研究。然而经我们多年研究发现,单探头脉象传感器反映的信息尚比较局限。这是因为单点式脉象传感器的结构特点,限制了更多脉搏信息及血管力学参数的测定,主要体现在下列几方面:
(1) 单头传感器工作时,探头感受到的反压力(即“取脉压力”)来自于二个方向,其一是垂直于探头方向,其二为切向张力。而切向张力不但与受压组织的变形程度有关,还与探头下的“皮肤—软组织—血管系统”的力学性质(弹性、硬度等)有关。现有的单探头换能器无法区分这二个力,也就无法区分软组织变形程度及软组织固有的弹性、硬度等力学参数对切脉压力的影响程度。往往依据传感器输出的总的直流分量的大小来评价脉象的浮、中、沉,这显然是不合理的,对脉象作更精确的定性、定量分析有一定困难。
, 百拇医药
(2) 传感器工作时,在输出直流分量的同时还输出一个随脉搏跳动而变化的周期性交变信号。这个信号是由探头下血管轴向张力和径向搏动力以及血管位移运动的综合作用而产生的。而轴向张力将随探头加压程度的大小而变化。单探头传感器无法区分血管轴向张力和径向搏动力。
针对上述几个主要问题,我们进行了双探头脉象传感器的研究,以使中医脉象客观化的研究能更加深层次地进行下去。
1 双探头脉象传感器的研究
1.1 双探头脉象传感器物理模型的建立
为了解决上面所提的二个问题,我们建立了图1所示的双探头脉象检测系统的物理模型。由二个独立的测力传感器组成双探头脉象传感器,1为外围传感器,2为中心传感器。二个传感器的测量面调整在同一平面内。当传感器向下加压时,外围传感器弹性梁K1所测得的是挠动脉及周围软组织对探头形成的反作用力F、脉搏搏动力△F、探头边缘皮肤-软组织切向张力T、血管轴向张力TA以及随脉搏跳动而变化的血管轴向牵张力△T等力的作用而产生的综合力。根据理论力学原理可知,切向力对探头的影响产生在探头边缘区域,中心处应为零。因此,当二个传感器探头间隙足够小时(忽略不计),中心传感器弹性梁K2所测得的信号单纯反映垂直方向的力。利用这样一种双路组合的传感器,将它们的信号进行不同方式的相关运算,就能区分出血管径向搏动力、轴向张力、血管等效硬度等许多单探头传感器无法测取的力学指标。这对中医脉象作更深一步定性、定量的客观化研究有着十分重要的意义。
, 百拇医药
图 1 双探头脉象检测系统物理模型
1 外围传感器. 2 中心传感器.
3 皮肤软组织. 4 血管.
1.2 传感器的结构设计及性能特点
根据上述物理模型的要求,我们设计了如图2所示的双路组合式传感器。二个传感器平行地安装在同一固定架上,从而保证其同步地上下移动。2为外围传感器,探头为5.5mm见方的矩形面。3为中心传感器,探头为1×2.5mm的扁圆杆。二个传感器的探头同心安放。其间隙约为0.2~0.25mm左右。并使二探头的工作面调正在同一水平面上。外围传感器的结构设计采用带副梁的复式悬臂梁结构[1]。这种结构较好地解决了传感器的重复性、稳定性等技术难点。
, 百拇医药
图 2 双探头传感器结构示意图
1 固定架 2 外围传感器
3 中心传感器 4 工作平面
图3是外围传感器结构示意图。点处的应变可用下式计算:
ε=6Fl′/Ebh
图 3 外围传感器结构
式中:F是被测力;l′是探头中心到应变片中心的距离;E是悬臂梁材料的弹性模量;b为梁宽;h为梁厚。如考虑副梁及探头自重M和主梁本身质量m,其固有谐振频率为:
, 百拇医药
(2)
式中:k=Ebh/4l
根据上面的基本公式,结合需要的灵敏度、线性范围和固有谐振频率等参数,可进行具体选材和设计。我们根据掌握的资料和以往脉象检测的实际情况,将传感器的灵敏度定为50mV/N;线性范围为0~3N;固有谐振频率大于1kHz。并选用性能较好的铍青铜作为弹性梁材料(弹性模量E=1.31×10kg/mm)。应变-电压转换元件选用美国Entran公司生产的半导体应变计,其性能稳定、灵敏度高。根据这些条件,可算出主梁的具体长度为l=20mm;宽度b=5.5mm;厚度h=0.65mm。当最大压力F=3N时,最大应变为ε=591×10。根据半导体应变片的性能,使用时的最佳应变应在500×10-6~1000×10-6之间。因此,所设计的尺寸符合要求。在设计副梁尺寸时,一般要求其厚度c约为主梁厚度h的3~5倍即可。另一方面要在结构上保证主、副梁之间的刚性联接。
, 百拇医药
中心传感器的结构采用一般等截面悬臂梁结构。因其探头面积很小,所引起的重复性误差可以忽略不计。故不必考虑太复杂的结构。图4是中心传感器的结构示意图。梁的尺寸也按前述(1)、(2)公式计算。为使中心传感器具有足够的灵敏度,在梁上贴有四片半导体应变片(上下各二片),组成全桥电路,以满足使用要求。
图4 中心传感器的结构
1,2,3,4应变片. 5 弹性梁. 6 固定压片. 7 探杆. 8 固定架.
1.3 传感器电原理图及参数确定方法
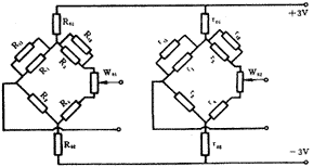
双探头传感器的电原理如图5所示。二组传感器采用同一组±3V电源。图中R1~R4为外围传感器中的应变片组成的全桥电路。r1~r4为中心传感器的应变片组成的全桥电路。Rt1、Rt2、rt1、rt2为温度补偿电阻。W01、W02为二电桥初始调零电位器。R01、R02和r01、r02为灵敏度调正电阻。
, 百拇医药
图5 双探头脉象换能器电原理图
1.3.1 灵敏度电阻的确定
由图5看出,二组传感器都是采用全桥电路。即把四个应变片接成差动形式。这样,既能使电路达到最高的灵敏度;又能降低电桥的非线性误差;还能起到温度自补偿作用。未调正前,传感器输出灵敏度的理论值可用下式计算:
Usc=Uk0ε
式中,U为电桥电压绝对值(6V);k0为半导体应变片灵敏系数(k0=100);ε为一定压力作用下弹性梁产生的应变。
由于传感器悬臂梁尺寸的加工误差和应变片粘贴位置的不一致性以及应变片本身灵敏系数的离散性等原因,一般情况下,理论计算出的原始灵敏度不确定性很大。必须对其规范标定。外围传感器的标定方法比较简单。即把标准砝码垂直加载到探头上,然后调整R01、R02的阻值(R01、R02同时调,保持R01=R02,使电路对称),使输出达到规定的指标即可。
, http://www.100md.com
中心传感器的标定比较麻烦,因为探头面很小,且在外围探头的中心,不能直接加砝码。我们设计了图6所示的方法来进行标定。图中用了一个已标定过的压力传感器来进行加载。并加工一个特殊的尖探杆,以便能与中心探头的表面接触。这样通过标准压力传感器显示的数值,可知加载的压力。再调整r01、r02的电阻,使中心换能器的输出达到规定的要求。
图 6 中心传感器标定
1 标准压力传感器.
2 尖形探杆.
3 外围传感器.
4 中心传感器.
1.3.2 温度补偿电阻的确定
, 百拇医药
温度补偿电阻主要用于解决传感器使用时热冲击所产生的温漂问题。冬季时,室温可能在0℃左右,而人体的皮肤温度约为30℃左右,如果没有温度补偿电路,电桥就会产生很大漂移,影响测试结果。确定温度补偿电阻时,将标定好的传感器放入0℃的冰箱中充分冷却(约20min左右)。调节W01、W02,使二电桥输出为零。然后迅速放入40℃的烘箱中,观察电桥的输出变化。经过反复试验后确定温补电阻的阻值。使之恰到好处。我们一般将零漂控制在小于2%F.S(0℃~40℃)。温补电阻的阻值一般选在10KΩ~100MΩ之间。是根据电桥漂移程度,结合具体调试决定的。
2 传感器整体结构
为了模拟中医手指按脉手法,减少由于受试者身体和手臂振动而产生的干扰信号,传感器整体结构采用表式固定装置,如图7。当转动旋帽1时,由轴套2和螺杆4组成的调节机构使传感器核心部分连同探头5自由地上下移动。即相当于中医切脉时的浮、中、沉压力连续可调。传感器核心5的内部是个封闭的腔体。里面紧密地排列着外围传感器和中心传感器的弹性梁以及纵横交错的接线。表架6是根据人体手腕的弧度设计的,由二个不同直径的圆弧相接而成。传感器总高为40mm,重量约为50g。使用起来十分方便灵活。
, 百拇医药
图 7 传感器整体结构
1 旋帽. 2 轴套. 3 外壳.
4 螺杆. 5 核心. 6 表架.
3 双探头传感器临床意义的讨论
我们利用双探头传感器作了一些临床试验,得到了一些很有意义的结果(限于篇幅,本文侧重于双探头传感器研究设计的论述,有关临床应用的详细结果另行发表文章)。我们认为,利用双探头传感器检测脉象至少有以下几方面临床意义:
(1) 目前国内对弦、平、滑等脉象的现行判别标准,由于受到单探头脉象检测仪器功能上的限制,只能根据波形形态来分析计算。双探头传感器所能测取的脉象力学指标已为进一步定量区分脉象特征提供了依据。大量临床实验发现,单一的脉搏波形态分析方法存在一定的局限性。例如对于不同年龄组中出现的同一类脉象的判别可能出现混淆。老年高血压的弦脉和年青人由于疲劳而出现的弦脉在脉图形态上同属一类,但是在包括脉象的力学性质和形成机理上可能有显著差别(指感也不同)。利用双探头传感器检测的脉象数据,有可能作出深刻的揭示。
, 百拇医药
(2) 中医手指切脉,在论述脉管的物理性质方面,例如脉管的弦硬、柔和的概念时,尚无法定量表达及区分。双探头传感器所能测取的脉象力学指标有可能为判断有关脉管的固有弹性、硬度等力学性质提供客观指标。
(3) 利用双探头传感器在无损检测血压、心血管功能状态以及建立中医脉象的力学指标、补充脉象的判断标准等方面都可以进行深入的研究。■
参考文献:
[1]汤伟昌、孙汉钧.ZMH-Ⅰ型中医脉象传感器的研究设计.传感器技术.1990;(1)
[2]费兆馥.中国脉诊研究.上海中医学院出版社.1991.8
[3]中国实用新型专利C N862,08967U
[4]张福学.实用传感器手册.电子工业出版社.1988.2
[5]陈鹏万等.大学物理手册.山东科技出版社.1985.9
收稿日期:1999-7-2, 百拇医药
单位:汤伟昌(上海中医药大学 上海 200032)
关键词:中医脉象;双探头脉象传感器
中国医疗器械杂志000105
提 要:介绍双探头复合式脉象传感器的研究设计。该传感器有别于单探头脉象传感器,它能测取中医脉象信号中有关力学参数指标,有助于对中医脉象作更深层次的定量分析。文章还对该传感器的临床意义作了探讨。
中图分类号:TP212.3 文献标识码:A
文章编号:1000-6974(2000)01-0016-04
The Development of a Double Point Sensor for the Pulse
, 百拇医药
TANG Wei-chang
(Shanghai University of Traditional Chinese Medicine)
Abstract:This article has introduced the research and design on a double point sensor for the comprehensive pulse.The difference of this sensor from the single point sensor is that it is able to obtain a mechanics parameter from the pulse signals of the traditional Chinese medicine.This would be a great help for the more detailed quantitative analysis of the pulse signals of the traditional Chinese medicine. It has also explored the contribution of the double point sensor to the clinical medicine.
, 百拇医药
Key words:Pulse of T.C.M; Double point sensor for the pulse▲
脉象是反映人体生理状态和病理变化的一项灵敏的综合信息。因此,实现脉诊客观化、研究脉象的检测方法以及在此基础上进行的机理研究,已成为国内外学者共同关注的课题。现有检测人体中医脉象信息的装置,主要是带有一个单点式脉象换能器的脉象仪。人们利用这类仪器已能初步识别十几种常见中医脉象。这些仪器的深入应用推动了我国中医脉象客观化的研究。然而经我们多年研究发现,单探头脉象传感器反映的信息尚比较局限。这是因为单点式脉象传感器的结构特点,限制了更多脉搏信息及血管力学参数的测定,主要体现在下列几方面:
(1) 单头传感器工作时,探头感受到的反压力(即“取脉压力”)来自于二个方向,其一是垂直于探头方向,其二为切向张力。而切向张力不但与受压组织的变形程度有关,还与探头下的“皮肤—软组织—血管系统”的力学性质(弹性、硬度等)有关。现有的单探头换能器无法区分这二个力,也就无法区分软组织变形程度及软组织固有的弹性、硬度等力学参数对切脉压力的影响程度。往往依据传感器输出的总的直流分量的大小来评价脉象的浮、中、沉,这显然是不合理的,对脉象作更精确的定性、定量分析有一定困难。
, 百拇医药
(2) 传感器工作时,在输出直流分量的同时还输出一个随脉搏跳动而变化的周期性交变信号。这个信号是由探头下血管轴向张力和径向搏动力以及血管位移运动的综合作用而产生的。而轴向张力将随探头加压程度的大小而变化。单探头传感器无法区分血管轴向张力和径向搏动力。
针对上述几个主要问题,我们进行了双探头脉象传感器的研究,以使中医脉象客观化的研究能更加深层次地进行下去。
1 双探头脉象传感器的研究
1.1 双探头脉象传感器物理模型的建立
为了解决上面所提的二个问题,我们建立了图1所示的双探头脉象检测系统的物理模型。由二个独立的测力传感器组成双探头脉象传感器,1为外围传感器,2为中心传感器。二个传感器的测量面调整在同一平面内。当传感器向下加压时,外围传感器弹性梁K1所测得的是挠动脉及周围软组织对探头形成的反作用力F、脉搏搏动力△F、探头边缘皮肤-软组织切向张力T、血管轴向张力TA以及随脉搏跳动而变化的血管轴向牵张力△T等力的作用而产生的综合力。根据理论力学原理可知,切向力对探头的影响产生在探头边缘区域,中心处应为零。因此,当二个传感器探头间隙足够小时(忽略不计),中心传感器弹性梁K2所测得的信号单纯反映垂直方向的力。利用这样一种双路组合的传感器,将它们的信号进行不同方式的相关运算,就能区分出血管径向搏动力、轴向张力、血管等效硬度等许多单探头传感器无法测取的力学指标。这对中医脉象作更深一步定性、定量的客观化研究有着十分重要的意义。
, 百拇医药
图 1 双探头脉象检测系统物理模型
1 外围传感器. 2 中心传感器.
3 皮肤软组织. 4 血管.
1.2 传感器的结构设计及性能特点
根据上述物理模型的要求,我们设计了如图2所示的双路组合式传感器。二个传感器平行地安装在同一固定架上,从而保证其同步地上下移动。2为外围传感器,探头为5.5mm见方的矩形面。3为中心传感器,探头为1×2.5mm的扁圆杆。二个传感器的探头同心安放。其间隙约为0.2~0.25mm左右。并使二探头的工作面调正在同一水平面上。外围传感器的结构设计采用带副梁的复式悬臂梁结构[1]。这种结构较好地解决了传感器的重复性、稳定性等技术难点。
, 百拇医药
图 2 双探头传感器结构示意图
1 固定架 2 外围传感器
3 中心传感器 4 工作平面
图3是外围传感器结构示意图。点处的应变可用下式计算:
ε=6Fl′/Ebh
图 3 外围传感器结构
式中:F是被测力;l′是探头中心到应变片中心的距离;E是悬臂梁材料的弹性模量;b为梁宽;h为梁厚。如考虑副梁及探头自重M和主梁本身质量m,其固有谐振频率为:
, 百拇医药
(2)
式中:k=Ebh/4l
根据上面的基本公式,结合需要的灵敏度、线性范围和固有谐振频率等参数,可进行具体选材和设计。我们根据掌握的资料和以往脉象检测的实际情况,将传感器的灵敏度定为50mV/N;线性范围为0~3N;固有谐振频率大于1kHz。并选用性能较好的铍青铜作为弹性梁材料(弹性模量E=1.31×10kg/mm)。应变-电压转换元件选用美国Entran公司生产的半导体应变计,其性能稳定、灵敏度高。根据这些条件,可算出主梁的具体长度为l=20mm;宽度b=5.5mm;厚度h=0.65mm。当最大压力F=3N时,最大应变为ε=591×10。根据半导体应变片的性能,使用时的最佳应变应在500×10-6~1000×10-6之间。因此,所设计的尺寸符合要求。在设计副梁尺寸时,一般要求其厚度c约为主梁厚度h的3~5倍即可。另一方面要在结构上保证主、副梁之间的刚性联接。
, 百拇医药
中心传感器的结构采用一般等截面悬臂梁结构。因其探头面积很小,所引起的重复性误差可以忽略不计。故不必考虑太复杂的结构。图4是中心传感器的结构示意图。梁的尺寸也按前述(1)、(2)公式计算。为使中心传感器具有足够的灵敏度,在梁上贴有四片半导体应变片(上下各二片),组成全桥电路,以满足使用要求。
图4 中心传感器的结构
1,2,3,4应变片. 5 弹性梁. 6 固定压片. 7 探杆. 8 固定架.
1.3 传感器电原理图及参数确定方法
双探头传感器的电原理如图5所示。二组传感器采用同一组±3V电源。图中R1~R4为外围传感器中的应变片组成的全桥电路。r1~r4为中心传感器的应变片组成的全桥电路。Rt1、Rt2、rt1、rt2为温度补偿电阻。W01、W02为二电桥初始调零电位器。R01、R02和r01、r02为灵敏度调正电阻。
, 百拇医药
图5 双探头脉象换能器电原理图
1.3.1 灵敏度电阻的确定
由图5看出,二组传感器都是采用全桥电路。即把四个应变片接成差动形式。这样,既能使电路达到最高的灵敏度;又能降低电桥的非线性误差;还能起到温度自补偿作用。未调正前,传感器输出灵敏度的理论值可用下式计算:
Usc=Uk0ε
式中,U为电桥电压绝对值(6V);k0为半导体应变片灵敏系数(k0=100);ε为一定压力作用下弹性梁产生的应变。
由于传感器悬臂梁尺寸的加工误差和应变片粘贴位置的不一致性以及应变片本身灵敏系数的离散性等原因,一般情况下,理论计算出的原始灵敏度不确定性很大。必须对其规范标定。外围传感器的标定方法比较简单。即把标准砝码垂直加载到探头上,然后调整R01、R02的阻值(R01、R02同时调,保持R01=R02,使电路对称),使输出达到规定的指标即可。
, http://www.100md.com
中心传感器的标定比较麻烦,因为探头面很小,且在外围探头的中心,不能直接加砝码。我们设计了图6所示的方法来进行标定。图中用了一个已标定过的压力传感器来进行加载。并加工一个特殊的尖探杆,以便能与中心探头的表面接触。这样通过标准压力传感器显示的数值,可知加载的压力。再调整r01、r02的电阻,使中心换能器的输出达到规定的要求。
图 6 中心传感器标定
1 标准压力传感器.
2 尖形探杆.
3 外围传感器.
4 中心传感器.
1.3.2 温度补偿电阻的确定
, 百拇医药
温度补偿电阻主要用于解决传感器使用时热冲击所产生的温漂问题。冬季时,室温可能在0℃左右,而人体的皮肤温度约为30℃左右,如果没有温度补偿电路,电桥就会产生很大漂移,影响测试结果。确定温度补偿电阻时,将标定好的传感器放入0℃的冰箱中充分冷却(约20min左右)。调节W01、W02,使二电桥输出为零。然后迅速放入40℃的烘箱中,观察电桥的输出变化。经过反复试验后确定温补电阻的阻值。使之恰到好处。我们一般将零漂控制在小于2%F.S(0℃~40℃)。温补电阻的阻值一般选在10KΩ~100MΩ之间。是根据电桥漂移程度,结合具体调试决定的。
2 传感器整体结构
为了模拟中医手指按脉手法,减少由于受试者身体和手臂振动而产生的干扰信号,传感器整体结构采用表式固定装置,如图7。当转动旋帽1时,由轴套2和螺杆4组成的调节机构使传感器核心部分连同探头5自由地上下移动。即相当于中医切脉时的浮、中、沉压力连续可调。传感器核心5的内部是个封闭的腔体。里面紧密地排列着外围传感器和中心传感器的弹性梁以及纵横交错的接线。表架6是根据人体手腕的弧度设计的,由二个不同直径的圆弧相接而成。传感器总高为40mm,重量约为50g。使用起来十分方便灵活。
, 百拇医药
图 7 传感器整体结构
1 旋帽. 2 轴套. 3 外壳.
4 螺杆. 5 核心. 6 表架.
3 双探头传感器临床意义的讨论
我们利用双探头传感器作了一些临床试验,得到了一些很有意义的结果(限于篇幅,本文侧重于双探头传感器研究设计的论述,有关临床应用的详细结果另行发表文章)。我们认为,利用双探头传感器检测脉象至少有以下几方面临床意义:
(1) 目前国内对弦、平、滑等脉象的现行判别标准,由于受到单探头脉象检测仪器功能上的限制,只能根据波形形态来分析计算。双探头传感器所能测取的脉象力学指标已为进一步定量区分脉象特征提供了依据。大量临床实验发现,单一的脉搏波形态分析方法存在一定的局限性。例如对于不同年龄组中出现的同一类脉象的判别可能出现混淆。老年高血压的弦脉和年青人由于疲劳而出现的弦脉在脉图形态上同属一类,但是在包括脉象的力学性质和形成机理上可能有显著差别(指感也不同)。利用双探头传感器检测的脉象数据,有可能作出深刻的揭示。
, 百拇医药
(2) 中医手指切脉,在论述脉管的物理性质方面,例如脉管的弦硬、柔和的概念时,尚无法定量表达及区分。双探头传感器所能测取的脉象力学指标有可能为判断有关脉管的固有弹性、硬度等力学性质提供客观指标。
(3) 利用双探头传感器在无损检测血压、心血管功能状态以及建立中医脉象的力学指标、补充脉象的判断标准等方面都可以进行深入的研究。■
参考文献:
[1]汤伟昌、孙汉钧.ZMH-Ⅰ型中医脉象传感器的研究设计.传感器技术.1990;(1)
[2]费兆馥.中国脉诊研究.上海中医学院出版社.1991.8
[3]中国实用新型专利C N862,08967U
[4]张福学.实用传感器手册.电子工业出版社.1988.2
[5]陈鹏万等.大学物理手册.山东科技出版社.1985.9
收稿日期:1999-7-2, 百拇医药