金属大环配合物与咪唑类化合物轴向配位快速反应动力学研究1
作者:延 玺2 邵 迎3 朱守荣 林华宽 朱志昂 陈荣悌
单位:南开大学化学系,天津 300071
关键词:大环配合物;反应机理;平衡常数;动力学
中国药物化学杂志/990207 摘 要 模拟维生素B12,合成了水溶性的高氯酸二氯合5,7,7,12,14,14-六甲基-1,4,8,11-四氮杂环十四-4,11-二烯钴(Ⅲ)配合物,用先进的Union Giken RA-401停流分光光度计首次对甲硝唑等四种咪唑类化合物与该配合物的轴向配位快速反应动力学性质进行了研究,探讨了它们的反应机理,对实验数据进行了拟合处理,得到预平衡步的平衡常数K和速控步的速率常数k,并算出了预平衡步的Δr
,Δr
以及速控步的活化参数ΔrH≠m,ΔrS≠m.
, 百拇医药
The Kinetic Study on the Axial Coordination Faster Reaction of the Metal Acrocyclic Complexes on Imidazole Compounds
Yan Xi,Shao Ying,Zhu Shourong,Lin Huakuan,Zhu Zhi′ang,Chen Rongti
Department of Chemistry,Nankai University,Tianjin 300071
Abstract The dichloro(5,7,7,12,14,14-hexamethyl-1,4,8,11-tetraazacyclotetradeca-4,11,diene)cobalt(Ⅲ)perchlorate[Co(C16H32N4)Cl2]ClO4 was prepared by imitating vitamin B12.The kinetic study on axial coordination faster reaction of [Co(C16C32N4)Cl2]ClO4 of four imidazolates compounds at different temperatures by means of the union Giken RA-401 stopped-flow was reported.The mechanism of the reaction was postulated.The equilibrium constants K of the pre-equilibrium step and the rate constants k of rate-determing step were evaluated.The ΔrH0 —m,ΔrS0 —m of a pre-equilibrium step and ΔrH≠m,ΔrS≠m of a rate-determining step were also calculated.
, 百拇医药
Key words macrocyclic complex;reaction mechanism;equilibrium constant;dynamics
许多药物都含有咪唑环结构,如氟马西尼、甲硝唑、酮康唑、雷可唑、速效肠虫净等.这些药物都含有氮,而氮是较好的配位原子,特别容易与金属或其配合物形成配键,如金属卟啉、大环多胺金属配合物等等.探讨这类反应的动力学过程,对于进一步了解咪唑类药物的药理反应是十分必要的.咪唑类药物在医治疾病的同时会引起患者的贫血症,目前其原因还有待于进一步研究.本文采用生物配位化学模拟研究法,从动力学的角度首次提出:咪唑类药物引起患者贫血症的原因可能是其破坏了人体中维生素B12的生物功能所致.
维生素B12是一类大环金属配合物〔1,2〕,该物质不仅分子量大,结构复杂而且空间位阻也较大,因而采用了结构与其相似,但分子量较小的模拟物,模拟它的性质,用快速反应动力学的研究手段,深入探讨了它与咪唑类化合物的相互作用机理,对于药物的改性研究具有一定的意义.
, http://www.100md.com
1 实验部分
高氯酸二氯合5,7,7,12,14,14-六甲基-1,4,8,11-四氮杂环-4,11-二烯钴(Ⅲ)(简称CoAL2,其中L2表示络合物中轴向配位的两个氮原子)参照文献〔3〕方法合成.元素分析,实验值(%):C 37.9,H 6.7,N 11.4;计算值(%):C 37.7,H 6.3,N 11.0.其余试剂都为分析纯试剂(包括咪唑类化合物配体).其中咪唑、2-甲基咪唑、硝酸钾在使用前进行重结晶.
测试波长选择在日本UV-240紫外分光光度计上进行.快速反应动力学表观反应速率常数在日本Union Giken RA-401停流分光光度计上测试.
在实验中采用轴向配体大过量,对金属大环配合物为假一级反应的条件,金属大环配合物的浓度为10-4 mol/L,轴向配体的浓度为2×10-3~2×10-1 mol/L.表观速率常数由Union Giken RA-401停流分光光度计的微机计算后自动给出.所有的表观速率常数kobs至少测量三次,误差在±0.5%以内,实验温度为(25±0.1)~(40±0.1)℃.溶剂采用二次蒸馏水,用0.1 mol/L硝酸钾控制离子强度,为了增加轴向配体的溶解度,在二次水中加入30%(v/v)的二甲基甲酰胺.
, 百拇医药
2 结果与讨论
2.1 轴向单取代配位反应
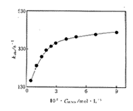
在大环配合物与轴向配体反应的过程中,大环配合物CoAL2与甲硝唑(MND)相互作用时,实验中测得的kobs随配体[MND]的浓度变化关系曲线如图1所示,将实验数据1/kobs~1/[MDN]作图,得到很好的直线关系,如图2所示.其直线关系可表示为:
1/kobs=a+b/[MND] (1)
Fig.1 Plot of kobs vs.[MND] at 25°
, 百拇医药
Fig.2 Plot of kobs vs.1/[MND] at 25°
在对金属大环配合物为假一级反应的条件下,轴向单取代配位反应的实验动力学方程为:
(2)
(2)式中的[B]为实验过程中轴向配体的初始浓度,因此提出如下反应机理〔4~5〕:
CoAL2+B
CoAL2B (3)
CoAL2B
[CoAL2B]+L (4)
, http://www.100md.com
根据提出的机理,在金属大环配合物为假一级反应的条件下,采用平衡态近似方法,推得理论动力学方程为:
1/kobs=
(5)
第(5)式与第(2)式相一致.对比(5)式与(1)式可知:K=
,k=
整理(5)式得: kobs=
(6)
, 百拇医药
从(6)式可看出,当[MND]较小时,kobs将正比于[MND],即kobs与[MND]成直线关系,如果[MND]逐步增大,则kobs与[MND]将变为曲线关系,图1证实了这一点,从另一侧面说明该机理的合理性.
2.2 轴向双配位取代反应
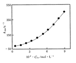
轴向配体咪唑(Im)、2-甲基咪唑(MIm)、2-乙基-4-甲基咪唑(EMIm)与金属大环配合物发生轴向取代配位反应,图3表示kobs随咪唑浓度的变化曲线.
Fig.3 Plot of kobs vs.[lm]at 25°
将实验数据[B]/kobs对1/[B]作图,得到很好的直线关系,其图形类似图2所示.该直线可表示为:
, 百拇医药
[B]/kobs=a+b/[B] (7)
在对金属大环配合物为假一级反应的条件下,得到实验动力学方程为:
[B]/kobs=
(8)
据此,提出如下反应机理:CoAL2+B
CoAL2B (9)
CoAL2B+B
CoAB2+2L (10)
, http://www.100md.com
据此机理,在对金属大环配合物为假一级反应的条件下,采用平衡态近似法,推得理论动力学方程为:
[B]/kobs=
(11)
(11)式与(8)式相一致.对比(11)式与(7)式可知:K=
,k=
整理(11)式得: kobs=
(12)
, 百拇医药
从(12)式可以看出,随着配体浓度的增大,kobs呈现曲线增长,这与图4中所反映出的情况一致.说明该机理也是合理的.
从实验中可见,金属大环配合物CoAL2可发生单轴向配位取代或者双轴向配位取代反应,其关键取决于轴向药物配体的空间位阻和取代基效应.空间位阻越小,取代基的供电子效应越大,则有利于大环配合物发生轴向双取代配位反应,反之则大环配合物仅能发生轴向单取代配位反应.
2.3 Δr
m,Δr
,ΔrH≠m,ΔrS≠m的求算
, http://www.100md.com
对比实验动力学方程与理论动力学方程可得预平衡步的平衡常数K和速控步的速率常数k,见表1.以lnk对1/T线性回归可求得反应(3)和(9)的ΔrH0 —m,ΔrS0 —m,,根据Eyring公式:
(13)
以ln(k/T)对1/T线性回归,可求得反应(4)和(10)的ΔrH≠m和ΔrS≠m,见表(2),在所有线性回归过程中,它们的相关系数均在0.9960以上.
Tab.1 Parameter of the reaction of CoAL2 on imidazole compounds Compd.
, 百拇医药
298.15 K
303.15 K
308.15 K
313.15 K
k
K
k
K
k
K
k
K
Im
, http://www.100md.com
546.75
99.40
576.30
65.72
606.00
48.35
640.00
37.00
MIm
540.00
89.00
566.60
61.70
, 百拇医药
593.50
45.70
625.40
34.20
EMIm
526.30
83.00
555.90
56.40
585.80
44.31
614.60
33.90
, http://www.100md.com
MND
480.00
103.50
496.00
85.40
518.00
68.41
543.00
52.20
从表1的数据可以看出,配体的空间位阻和取代基效应直接影响着速控步的速率常数k,空间位阻大且有拉电子效应的配体其轴配取代反应速控步的速率常数小,也就是说配体的空间位阻和取代基效应直接影响该轴配取代反应的快慢.随着配体空间位阻和取代基效应的不同会引起轴向配位取代反应机理的差异,空间位阻小且有供电子效应的配体可发生轴向双取代配位反应,这是由于大环配体的孔径允许轴向配体嵌入其中与中心离子有效成键.然而,空间位阻大且有拉电子效应的配体,只可发生轴向单取代配位反应,主要原因在于大环的孔径和大环上的取代基及配体体积和碱性不利于配体与中心离子有效成键,要想发生反应,大环的中心离子必须离开大环平面中心凸向一方与配体成键,由于大环空间结构的变化,使得第二个配体分子很难再与大环的中心离子发生反应,造成轴向双取代配位反应无法进行.Tab.2 ΔrH0 —m,ΔrS0 —m and ΔrH≠m,ΔrS≠m of the reaction of CoAL2 on imidazolate compounds Compd.
, http://www.100md.com
-Δr
(kJ/mol)
-Δr
(J/mol.K)
ΔrH≠m(J/mol)
-ΔrS≠m(J/mol·K)
Im
50.00
130.00
, http://www.100md.com
5.60
173.00
MIm
47.18
120.00
4.39
174.30
EMIm
44.35
112.40
5.22
175.00
MND
, 百拇医药
38.44
89.70
4.23
179.00
从表2的数据可以看出,反应(3)和(9)是一种熵减小的放热反应,而反应(4)和(10)是一种熵减小的吸热反应.反应(3)和(9)是大环配合物与亲核性的配体发生轴向取代配位反应生成更稳定的新的配合物,反应后体系的能量降低,有序度增加,因而是一个放热的熵减小反应,即Δr
为负值,Δr
为负值.反应(4)和(10)是预平衡配合物直接分解为产物或者是进一步与配体反应生成最终产物,在这两个过程中都需要经过一个过渡态,然后由过渡态转变成产物,因为在过渡态的形成过程中要吸收能量,所以ΔrH≠m为正值,同时体系要损失平动和转动自由度,增加振动自由度,由于平动对熵的贡献较大,而振动对熵的贡献较小,因而ΔrS≠m为负值. 综上所述,影响配合物的因素很多,但在快速轴向取代配位反应过程中,就本研究体系而言,空间位阻起了主导作用.从实验结果可看出咪唑类配体的空间位阻越小,取代基供电子效应越大,咪唑类化合物药用时它的副作用也会相对增加.从理论上讲,如果对药用的咪唑类化合物引入大的取代基团和吸电子官能团,可能会减小该类药物副作用,特别是引发药源性贫血症的可能性.有关生物学实验仍在进行之中.从配位化学的角度研究药物与模拟生物配体的相互作用是一个十分有意义的课题,它有利于人们从根本上了解某些药物的作用机理,为新药的开发和原有药物的改性提供理论指导.
, 百拇医药
1国家自然科学基金资助项目 No.29771020 2通讯联系人 现址:沈阳药科大学34信箱,沈阳 110015 3天津医科大学药学院,天津 300203
参 考 文 献
1.Bonnett R.The chemistry of the vitamin B12 group.Chem Rev,1963,63(6):573~589
2.Halpern J,Macher JP.Pentacyanobenzylcobaltate(Ⅲ).J Am Chem Soc,1964,86(11):2311
3.Sadasivan N,Endicott JF.The synthesis and chemistry of novel macrocyclic schiff base dihydrogen perchlorate by condensation of Fe(en)2+3 with acetone. J Am Chem Soc,1966,88(23):5468~5472
4.Sweigart DA,Doeff MM.Hydrogen bonding in metalloporphyrin reactions.Inorg Chem,1982,21(10):3699~3705
5.Jones JG,Tondreau JO,Edwards JO,et al.Kinetic study of the reaction of ferric porphyrin fluorides and imidazole.Inorg Chem,1985,24(3):296~300
收稿日期:1999-01-08, 百拇医药(延 玺2 邵 迎3 朱守荣 林华宽 朱志昂 陈荣悌)
单位:南开大学化学系,天津 300071
关键词:大环配合物;反应机理;平衡常数;动力学
中国药物化学杂志/990207 摘 要 模拟维生素B12,合成了水溶性的高氯酸二氯合5,7,7,12,14,14-六甲基-1,4,8,11-四氮杂环十四-4,11-二烯钴(Ⅲ)配合物,用先进的Union Giken RA-401停流分光光度计首次对甲硝唑等四种咪唑类化合物与该配合物的轴向配位快速反应动力学性质进行了研究,探讨了它们的反应机理,对实验数据进行了拟合处理,得到预平衡步的平衡常数K和速控步的速率常数k,并算出了预平衡步的Δr
, 百拇医药
The Kinetic Study on the Axial Coordination Faster Reaction of the Metal Acrocyclic Complexes on Imidazole Compounds
Yan Xi,Shao Ying,Zhu Shourong,Lin Huakuan,Zhu Zhi′ang,Chen Rongti
Department of Chemistry,Nankai University,Tianjin 300071
Abstract The dichloro(5,7,7,12,14,14-hexamethyl-1,4,8,11-tetraazacyclotetradeca-4,11,diene)cobalt(Ⅲ)perchlorate[Co(C16H32N4)Cl2]ClO4 was prepared by imitating vitamin B12.The kinetic study on axial coordination faster reaction of [Co(C16C32N4)Cl2]ClO4 of four imidazolates compounds at different temperatures by means of the union Giken RA-401 stopped-flow was reported.The mechanism of the reaction was postulated.The equilibrium constants K of the pre-equilibrium step and the rate constants k of rate-determing step were evaluated.The ΔrH0 —m,ΔrS0 —m of a pre-equilibrium step and ΔrH≠m,ΔrS≠m of a rate-determining step were also calculated.
, 百拇医药
Key words macrocyclic complex;reaction mechanism;equilibrium constant;dynamics
许多药物都含有咪唑环结构,如氟马西尼、甲硝唑、酮康唑、雷可唑、速效肠虫净等.这些药物都含有氮,而氮是较好的配位原子,特别容易与金属或其配合物形成配键,如金属卟啉、大环多胺金属配合物等等.探讨这类反应的动力学过程,对于进一步了解咪唑类药物的药理反应是十分必要的.咪唑类药物在医治疾病的同时会引起患者的贫血症,目前其原因还有待于进一步研究.本文采用生物配位化学模拟研究法,从动力学的角度首次提出:咪唑类药物引起患者贫血症的原因可能是其破坏了人体中维生素B12的生物功能所致.
维生素B12是一类大环金属配合物〔1,2〕,该物质不仅分子量大,结构复杂而且空间位阻也较大,因而采用了结构与其相似,但分子量较小的模拟物,模拟它的性质,用快速反应动力学的研究手段,深入探讨了它与咪唑类化合物的相互作用机理,对于药物的改性研究具有一定的意义.
, http://www.100md.com
1 实验部分
高氯酸二氯合5,7,7,12,14,14-六甲基-1,4,8,11-四氮杂环-4,11-二烯钴(Ⅲ)(简称CoAL2,其中L2表示络合物中轴向配位的两个氮原子)参照文献〔3〕方法合成.元素分析,实验值(%):C 37.9,H 6.7,N 11.4;计算值(%):C 37.7,H 6.3,N 11.0.其余试剂都为分析纯试剂(包括咪唑类化合物配体).其中咪唑、2-甲基咪唑、硝酸钾在使用前进行重结晶.
测试波长选择在日本UV-240紫外分光光度计上进行.快速反应动力学表观反应速率常数在日本Union Giken RA-401停流分光光度计上测试.
在实验中采用轴向配体大过量,对金属大环配合物为假一级反应的条件,金属大环配合物的浓度为10-4 mol/L,轴向配体的浓度为2×10-3~2×10-1 mol/L.表观速率常数由Union Giken RA-401停流分光光度计的微机计算后自动给出.所有的表观速率常数kobs至少测量三次,误差在±0.5%以内,实验温度为(25±0.1)~(40±0.1)℃.溶剂采用二次蒸馏水,用0.1 mol/L硝酸钾控制离子强度,为了增加轴向配体的溶解度,在二次水中加入30%(v/v)的二甲基甲酰胺.
, 百拇医药
2 结果与讨论
2.1 轴向单取代配位反应
在大环配合物与轴向配体反应的过程中,大环配合物CoAL2与甲硝唑(MND)相互作用时,实验中测得的kobs随配体[MND]的浓度变化关系曲线如图1所示,将实验数据1/kobs~1/[MDN]作图,得到很好的直线关系,如图2所示.其直线关系可表示为:
1/kobs=a+b/[MND] (1)
Fig.1 Plot of kobs vs.[MND] at 25°
, 百拇医药
Fig.2 Plot of kobs vs.1/[MND] at 25°
在对金属大环配合物为假一级反应的条件下,轴向单取代配位反应的实验动力学方程为:
(2)
(2)式中的[B]为实验过程中轴向配体的初始浓度,因此提出如下反应机理〔4~5〕:
CoAL2+B
CoAL2B
, http://www.100md.com
根据提出的机理,在金属大环配合物为假一级反应的条件下,采用平衡态近似方法,推得理论动力学方程为:
1/kobs=
第(5)式与第(2)式相一致.对比(5)式与(1)式可知:K=
整理(5)式得: kobs=
, 百拇医药
从(6)式可看出,当[MND]较小时,kobs将正比于[MND],即kobs与[MND]成直线关系,如果[MND]逐步增大,则kobs与[MND]将变为曲线关系,图1证实了这一点,从另一侧面说明该机理的合理性.
2.2 轴向双配位取代反应
轴向配体咪唑(Im)、2-甲基咪唑(MIm)、2-乙基-4-甲基咪唑(EMIm)与金属大环配合物发生轴向取代配位反应,图3表示kobs随咪唑浓度的变化曲线.
Fig.3 Plot of kobs vs.[lm]at 25°
将实验数据[B]/kobs对1/[B]作图,得到很好的直线关系,其图形类似图2所示.该直线可表示为:
, 百拇医药
[B]/kobs=a+b/[B] (7)
在对金属大环配合物为假一级反应的条件下,得到实验动力学方程为:
[B]/kobs=
据此,提出如下反应机理:CoAL2+B
CoAL2B+B
, http://www.100md.com
据此机理,在对金属大环配合物为假一级反应的条件下,采用平衡态近似法,推得理论动力学方程为:
[B]/kobs=
(11)式与(8)式相一致.对比(11)式与(7)式可知:K=
整理(11)式得: kobs=
, 百拇医药
从(12)式可以看出,随着配体浓度的增大,kobs呈现曲线增长,这与图4中所反映出的情况一致.说明该机理也是合理的.
从实验中可见,金属大环配合物CoAL2可发生单轴向配位取代或者双轴向配位取代反应,其关键取决于轴向药物配体的空间位阻和取代基效应.空间位阻越小,取代基的供电子效应越大,则有利于大环配合物发生轴向双取代配位反应,反之则大环配合物仅能发生轴向单取代配位反应.
2.3 Δr
, http://www.100md.com
对比实验动力学方程与理论动力学方程可得预平衡步的平衡常数K和速控步的速率常数k,见表1.以lnk对1/T线性回归可求得反应(3)和(9)的ΔrH0 —m,ΔrS0 —m,,根据Eyring公式:
以ln(k/T)对1/T线性回归,可求得反应(4)和(10)的ΔrH≠m和ΔrS≠m,见表(2),在所有线性回归过程中,它们的相关系数均在0.9960以上.
Tab.1 Parameter of the reaction of CoAL2 on imidazole compounds Compd.
, 百拇医药
298.15 K
303.15 K
308.15 K
313.15 K
k
K
k
K
k
K
k
K
Im
, http://www.100md.com
546.75
99.40
576.30
65.72
606.00
48.35
640.00
37.00
MIm
540.00
89.00
566.60
61.70
, 百拇医药
593.50
45.70
625.40
34.20
EMIm
526.30
83.00
555.90
56.40
585.80
44.31
614.60
33.90
, http://www.100md.com
MND
480.00
103.50
496.00
85.40
518.00
68.41
543.00
52.20
从表1的数据可以看出,配体的空间位阻和取代基效应直接影响着速控步的速率常数k,空间位阻大且有拉电子效应的配体其轴配取代反应速控步的速率常数小,也就是说配体的空间位阻和取代基效应直接影响该轴配取代反应的快慢.随着配体空间位阻和取代基效应的不同会引起轴向配位取代反应机理的差异,空间位阻小且有供电子效应的配体可发生轴向双取代配位反应,这是由于大环配体的孔径允许轴向配体嵌入其中与中心离子有效成键.然而,空间位阻大且有拉电子效应的配体,只可发生轴向单取代配位反应,主要原因在于大环的孔径和大环上的取代基及配体体积和碱性不利于配体与中心离子有效成键,要想发生反应,大环的中心离子必须离开大环平面中心凸向一方与配体成键,由于大环空间结构的变化,使得第二个配体分子很难再与大环的中心离子发生反应,造成轴向双取代配位反应无法进行.Tab.2 ΔrH0 —m,ΔrS0 —m and ΔrH≠m,ΔrS≠m of the reaction of CoAL2 on imidazolate compounds Compd.
, http://www.100md.com
-Δr
-Δr
ΔrH≠m(J/mol)
-ΔrS≠m(J/mol·K)
Im
50.00
130.00
, http://www.100md.com
5.60
173.00
MIm
47.18
120.00
4.39
174.30
EMIm
44.35
112.40
5.22
175.00
MND
, 百拇医药
38.44
89.70
4.23
179.00
从表2的数据可以看出,反应(3)和(9)是一种熵减小的放热反应,而反应(4)和(10)是一种熵减小的吸热反应.反应(3)和(9)是大环配合物与亲核性的配体发生轴向取代配位反应生成更稳定的新的配合物,反应后体系的能量降低,有序度增加,因而是一个放热的熵减小反应,即Δr
, 百拇医药
1国家自然科学基金资助项目 No.29771020 2通讯联系人 现址:沈阳药科大学34信箱,沈阳 110015 3天津医科大学药学院,天津 300203
参 考 文 献
1.Bonnett R.The chemistry of the vitamin B12 group.Chem Rev,1963,63(6):573~589
2.Halpern J,Macher JP.Pentacyanobenzylcobaltate(Ⅲ).J Am Chem Soc,1964,86(11):2311
3.Sadasivan N,Endicott JF.The synthesis and chemistry of novel macrocyclic schiff base dihydrogen perchlorate by condensation of Fe(en)2+3 with acetone. J Am Chem Soc,1966,88(23):5468~5472
4.Sweigart DA,Doeff MM.Hydrogen bonding in metalloporphyrin reactions.Inorg Chem,1982,21(10):3699~3705
5.Jones JG,Tondreau JO,Edwards JO,et al.Kinetic study of the reaction of ferric porphyrin fluorides and imidazole.Inorg Chem,1985,24(3):296~300
收稿日期:1999-01-08, 百拇医药(延 玺2 邵 迎3 朱守荣 林华宽 朱志昂 陈荣悌)