缺血区心肌血流时相分布及其灌注压依赖性的建模与仿真研究
作者:王怀阳 郑振声 周少春 刘 琼 黄小红
单位:(王怀阳 郑振声 周少春 黄小红)中山医科大学 辅助循环实验室,广州 510089;(刘琼)国防科技大学 自动控制学博士后流动站,长沙 410073
关键词:血流动力学;冠脉循环;缺血;侧支循环;数学模型;体外反搏
生物医学工程学杂志990221 摘要 为了研究缺血心肌在侧支循环不同形成阶段的血流分布模式,建立了一个左心室壁血流灌注计算机仿真模型。模型中左心室壁正常心肌和缺血心肌中血管网都分为三层,每层血管网用一时变阻容网络来代表。以六条雄性犬的左心室压和主动脉压的实测数据作为输入进行仿真。结果表明,用体外反搏的方法提高冠脉灌注压对缺血心肌的血流灌注有明显改善。
A Study of Time-dependent Blood Flow Distribution in Ischemic
, 百拇医药
Myocardium and Its Dependence on Perfusion Pressure
with Modeling and Emulation
Wang Huaiyang Zheng Zhensheng Zhou Shaochun Liu Qiong Huang Xiaohong
Assistant Circulation Laboratory, Sun Yat-sen University of Medical Sciences, Guangzhou 510089
Post-doctoral Program on Automatic Control, Department Automatic Control, Ntional University
, 百拇医药
of Defence Technology, Changsha 410073
Abstract A mathematical model was proposed for studying the time-dependent blood flow distribution in ischemic myocardium with different developments of collateral circulation. The model includes the blood perfusion of normal myocardium and ischemic myocardium. There are three classical myocardial vascular nets in each part and each net is represented by a branch of time-dependent nonlinear resistance and compliance. Experimentally measured aortic pressure and left ventricular pressure from six male dogs were taken as input data for emulation. The results demonstrate that raising perfusion pressure with external counterpulsation can improve the blood perfusion condition in ischemic myocardium.
, 百拇医药
Key words Hemodynamics Coronary circulation Ischemia Collateral circulation Mathernatical model External counterpulsation
1 前 言
缺血心肌的血流灌注与梗塞程度、缺血区血管的自动调节舒张及冠脉侧支循环的形成有关。由于这种情况下冠脉循环的复杂性,不可能实际测量其血流时相分布。为了解缺血心肌的血流灌注机制,人们提出了各种模型来研究其血流动力学问题。Gould[1]建立了一个两阻抗模型(两个阻抗分别表示梗塞阻抗和心肌内部血管阻抗)来说明在不同梗塞程度下自动调节作用对冠脉血流的影响。Wyatt等人[2]在其所建立的双动脉模型中,前降支发生梗塞时,允许从左旋支到前降支出现侧支循环。Wang等人[3]在其所建立的左冠脉模型中,心肌表层冠脉阻抗随梗塞程度自动变化,但其心肌部分只是简单地用几个阻抗表示。Manor等人[4]建立的模型中侧支循环只出现在心肌表层大血管之间。总之,已有模型均未全面考虑侧支循环、自动调节作用等生理、病理因素。
, http://www.100md.com
根据Sunagawa[5]的思想,把左心室壁分为正常心肌和缺血心肌两部分;每部分中血管网根据刘琼[6]的工作从心内膜到心肌表层分为三层,每层用一支阻容网络来表示,各阻容值随瞬时跨壁压而变化。用所建模型对不同侧支循环发展程度下血流灌注进行仿真,得出了符合现有定性分析的结论[4,6]。进而对体外反搏进行仿真,证明提高舒张期灌注压,可以使缺血区的灌注得到改善。
2 模 型
2.1 结构
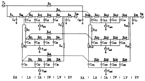
我们提出的模型如图1所示。左部表示正常心肌中血管网,右部表示缺血区血管网,都是通过心外膜动脉段连接到主动脉压和心外膜静脉段连接到右房压。正常心肌和缺血心肌都是分为心外膜、壁中层和心内膜三层,每层中血管网由相应于大中动脉、小动脉、小静脉和大中静脉的阻容单元组成。侧支循环由正常心肌各层动脉连接到缺血心肌对应层的动脉,简单地用阻抗表示。梗塞程度用R0的大小表示。对于全部梗塞,R0的取值应远大于正常心肌部分的R1。侧支循环发展程度用一个心动周期中流向该灌注区的血流容积与正常情况下流向该灌注区的血流容积之比来表示。假定全部梗塞时血管最大限度舒张之后才产生侧支循环。
, 百拇医药
图1 缺血心肌灌注仿真模型
Fig 1 The principle figure of model for perfusion of ischemic myocardium
PA:aortic pressure; Pimj:intramyocardial pressure; PRA:right atrium pressure; Rjk:blood vessel resistance in normal zone; Cjk:blood vessel compliance in normal zone; RIjk:blood vessel resistance in ischemic zone; CIjk:blood vessel compliance in ischemic zone (j=1~3 myocardial layer from subepicardium to subendocardium; k=1~4 blood vessel segment from large and middle arteries to large and middle veins); EA:epicardial arteries; LA:large and middle arteries; SA:small arteries SV:small veins; LV:large and middle veins; EV:epicardial veins
, 百拇医药
血管单元的R和C值是在心动周期中给定时刻每个单元中血容积的函数。假设在整个心动周期中血管长度不变,R和C皆为血管横截面积(A)的函数,而横截面积随跨壁压(TP)发生变化,其关系是:
根据单条血管分析,单元阻抗与1/A2成正比,顺应性与dA/TP成正比。则有:
R(j,k)=kr1(j).kr2(k).1/A2
C(j,k)=kc1(j).kc2(k).dA/dTP
其中:j=1~3为所处的肌层;k=1~4为所处的血管单元;kr1(j)、kr2(k)、kc1(j)、kc2(k)为常数。
, 百拇医药
各层心肌血管网所受到的压力为该层心肌所产生的收缩压。按照传统的观点,它从内到外由左心室压线性地降到大气压。
2.2 计算方法
模型的输入数据为从六条开胸雄性犬测到的主动脉压和左心室压。心肌各层所受到的收缩压力从心外膜下到心内膜下其值依次为:
数值计算分两步进行。首先给定各点压力初值,计算各单元的初始阻抗、顺应性。然后计算每一时步的阻抗、顺应性和节点压力,直到整个心动周期结束。最终结果的收敛准则按生理平衡条件考虑:在一定误差范围内(ε=0.02),一个心动周期内动脉输入的血流容积等于静脉输出的血流容积。
3 仿真结果
对正常心肌所作的仿真实验,表明其冠状动脉、静脉血流和三层心肌中各血管段的血流分布模式符合现有的实验观察和定性分析结论。为了简化心肌灌注的力学因素,仅考虑缺血部分为全部梗塞、梗塞以下的血管处于最大舒张状态。
, 百拇医药
缺血状态下,心肌时相血流分布如图2所示(篇幅所限,只给出侧支循环发展程度为50%的情况)。心肌各层静脉血流基本上为正向血流(从主动脉到右心房方向为正),在收缩期出现峰值,其幅值随着侧支循环发展程度的增加而增大。心外膜动脉血流在收缩期出现正向峰值。心内膜动脉血流在收缩期开始段出现反向峰值,然后由于血管的塌陷而出现零流现象。舒张期塌陷血管复原后,又有逆流现象出现,其幅值小于压塌前逆流的幅值。侧支循环发展程度越低,逆流峰值越小,零流持续时间越长。各层血管网的阻抗都会受侧支循环发展程度的影响,其中心内膜血管阻抗变动最大。侧支循环发展程度越低,心内膜血管阻抗值越大,说明心肌内膜最易缺血。
图2 缺血心肌灌注血流分布
Fig 2 The blood flow distribution of the different myocardial and vessel segments in ischemic myocardium
, 百拇医药
a.large and middle arteries; b.small arteries; c.small veins; d.large and middle veins
4 提高灌注压对血流时相分布的影响
用本实验室研制的MC-Ⅱ型体外反搏器对开胸犬作反搏,测得主动脉压和左心室压作为输入数据进行仿真。结果表明心肌各层供血量都有增加,如图3所示。对于易缺血的心肌内膜,供血量增加得最多,心内膜动脉血流零流持续时间下降,血管阻抗大幅度下降。由此得出结论,体外反搏在舒张期提高冠脉灌注压使易缺血的心肌内膜获益最多。
图3 侧支循环发展程度为50%时缺血心肌各层灌注血流反搏前和反搏中的比较
Fig 3 Comparing the blood perfusion in each ischemic myocardium layer between preexternal counterpulsation and during external counterpulsation with 50% development of collateral circulation
, 百拇医药
a.pre-external counterpulsation; b.during external counterpulsation
5 结 论
缺血心肌的血流灌注是十分复杂的,尤其是加上体外反搏的作用,就更为复杂。本文所建模型将正常心肌和缺血心肌联系起来对其进行仿真,其结果对加深了解影响缺血区血流灌注的各种因素间的相互作用和体外反搏治疗心肌缺血的机理,提供了一些定性的启示。该模型的独到之处在于把冠脉循环的周期性和血管的自动调节作用、侧支循环结合起来,描述各层中的血流分布、阻抗变化;也可以用它来分析各节段的压力变化和各血管单元的顺应性变化。由于研究对象的复杂性,该模型不能解释血流灌注的所有现象,如零流压对冠脉张力的依赖性、血管舒张调节机制等。在模型中模拟上述现象,需要考虑更多复杂的生理因素的影响。结合生理实验对此模型进行改进,可使之趋向完善。
注释:自然科学基金资助项目(39470199)
, http://www.100md.com
参考文献
1 Gould KL.Quantification of coronary artery stenosis in vivo. Circ Res, 1985; 43∶341
2 Wyatt D, Lee J, Downy JM. Determination of coronary collateral flow by a load line analysis. Circ Res, 1982; 50∶663
3 Wang J, Tie B, Welkowitz W et al. Incremental network analogue model of the coronary artery. Med & Bio Eng & Comput, 1989; 27∶416
4 Manor D, Sideman S, Dinnar, U et al. Analysis of coronary circulation under ischaemic conditions. Med & Bio Eng & Comput, 1994; 32∶S123
5 Sunagawa K, Maughan WL, Sagawa K. Effect of regional ischemia on the left ventricular end-systolic pressure-volume relationship of isolated canine hearts. Circ Res, 1983; 52∶170
6 刘 琼,郑振声,吴云鹏等.用模型方法研究心肌血流的时相分布及其灌注压依赖性.生物医学工程学杂志,1997; 14(3)∶212
收稿:1998-01-20, http://www.100md.com
单位:(王怀阳 郑振声 周少春 黄小红)中山医科大学 辅助循环实验室,广州 510089;(刘琼)国防科技大学 自动控制学博士后流动站,长沙 410073
关键词:血流动力学;冠脉循环;缺血;侧支循环;数学模型;体外反搏
生物医学工程学杂志990221 摘要 为了研究缺血心肌在侧支循环不同形成阶段的血流分布模式,建立了一个左心室壁血流灌注计算机仿真模型。模型中左心室壁正常心肌和缺血心肌中血管网都分为三层,每层血管网用一时变阻容网络来代表。以六条雄性犬的左心室压和主动脉压的实测数据作为输入进行仿真。结果表明,用体外反搏的方法提高冠脉灌注压对缺血心肌的血流灌注有明显改善。
A Study of Time-dependent Blood Flow Distribution in Ischemic
, 百拇医药
Myocardium and Its Dependence on Perfusion Pressure
with Modeling and Emulation
Wang Huaiyang Zheng Zhensheng Zhou Shaochun Liu Qiong Huang Xiaohong
Assistant Circulation Laboratory, Sun Yat-sen University of Medical Sciences, Guangzhou 510089
Post-doctoral Program on Automatic Control, Department Automatic Control, Ntional University
, 百拇医药
of Defence Technology, Changsha 410073
Abstract A mathematical model was proposed for studying the time-dependent blood flow distribution in ischemic myocardium with different developments of collateral circulation. The model includes the blood perfusion of normal myocardium and ischemic myocardium. There are three classical myocardial vascular nets in each part and each net is represented by a branch of time-dependent nonlinear resistance and compliance. Experimentally measured aortic pressure and left ventricular pressure from six male dogs were taken as input data for emulation. The results demonstrate that raising perfusion pressure with external counterpulsation can improve the blood perfusion condition in ischemic myocardium.
, 百拇医药
Key words Hemodynamics Coronary circulation Ischemia Collateral circulation Mathernatical model External counterpulsation
1 前 言
缺血心肌的血流灌注与梗塞程度、缺血区血管的自动调节舒张及冠脉侧支循环的形成有关。由于这种情况下冠脉循环的复杂性,不可能实际测量其血流时相分布。为了解缺血心肌的血流灌注机制,人们提出了各种模型来研究其血流动力学问题。Gould[1]建立了一个两阻抗模型(两个阻抗分别表示梗塞阻抗和心肌内部血管阻抗)来说明在不同梗塞程度下自动调节作用对冠脉血流的影响。Wyatt等人[2]在其所建立的双动脉模型中,前降支发生梗塞时,允许从左旋支到前降支出现侧支循环。Wang等人[3]在其所建立的左冠脉模型中,心肌表层冠脉阻抗随梗塞程度自动变化,但其心肌部分只是简单地用几个阻抗表示。Manor等人[4]建立的模型中侧支循环只出现在心肌表层大血管之间。总之,已有模型均未全面考虑侧支循环、自动调节作用等生理、病理因素。
, http://www.100md.com
根据Sunagawa[5]的思想,把左心室壁分为正常心肌和缺血心肌两部分;每部分中血管网根据刘琼[6]的工作从心内膜到心肌表层分为三层,每层用一支阻容网络来表示,各阻容值随瞬时跨壁压而变化。用所建模型对不同侧支循环发展程度下血流灌注进行仿真,得出了符合现有定性分析的结论[4,6]。进而对体外反搏进行仿真,证明提高舒张期灌注压,可以使缺血区的灌注得到改善。
2 模 型
2.1 结构
我们提出的模型如图1所示。左部表示正常心肌中血管网,右部表示缺血区血管网,都是通过心外膜动脉段连接到主动脉压和心外膜静脉段连接到右房压。正常心肌和缺血心肌都是分为心外膜、壁中层和心内膜三层,每层中血管网由相应于大中动脉、小动脉、小静脉和大中静脉的阻容单元组成。侧支循环由正常心肌各层动脉连接到缺血心肌对应层的动脉,简单地用阻抗表示。梗塞程度用R0的大小表示。对于全部梗塞,R0的取值应远大于正常心肌部分的R1。侧支循环发展程度用一个心动周期中流向该灌注区的血流容积与正常情况下流向该灌注区的血流容积之比来表示。假定全部梗塞时血管最大限度舒张之后才产生侧支循环。
, 百拇医药
图1 缺血心肌灌注仿真模型
Fig 1 The principle figure of model for perfusion of ischemic myocardium
PA:aortic pressure; Pimj:intramyocardial pressure; PRA:right atrium pressure; Rjk:blood vessel resistance in normal zone; Cjk:blood vessel compliance in normal zone; RIjk:blood vessel resistance in ischemic zone; CIjk:blood vessel compliance in ischemic zone (j=1~3 myocardial layer from subepicardium to subendocardium; k=1~4 blood vessel segment from large and middle arteries to large and middle veins); EA:epicardial arteries; LA:large and middle arteries; SA:small arteries SV:small veins; LV:large and middle veins; EV:epicardial veins
, 百拇医药
血管单元的R和C值是在心动周期中给定时刻每个单元中血容积的函数。假设在整个心动周期中血管长度不变,R和C皆为血管横截面积(A)的函数,而横截面积随跨壁压(TP)发生变化,其关系是:
根据单条血管分析,单元阻抗与1/A2成正比,顺应性与dA/TP成正比。则有:
R(j,k)=kr1(j).kr2(k).1/A2
C(j,k)=kc1(j).kc2(k).dA/dTP
其中:j=1~3为所处的肌层;k=1~4为所处的血管单元;kr1(j)、kr2(k)、kc1(j)、kc2(k)为常数。
, 百拇医药
各层心肌血管网所受到的压力为该层心肌所产生的收缩压。按照传统的观点,它从内到外由左心室压线性地降到大气压。
2.2 计算方法
模型的输入数据为从六条开胸雄性犬测到的主动脉压和左心室压。心肌各层所受到的收缩压力从心外膜下到心内膜下其值依次为:
数值计算分两步进行。首先给定各点压力初值,计算各单元的初始阻抗、顺应性。然后计算每一时步的阻抗、顺应性和节点压力,直到整个心动周期结束。最终结果的收敛准则按生理平衡条件考虑:在一定误差范围内(ε=0.02),一个心动周期内动脉输入的血流容积等于静脉输出的血流容积。
3 仿真结果
对正常心肌所作的仿真实验,表明其冠状动脉、静脉血流和三层心肌中各血管段的血流分布模式符合现有的实验观察和定性分析结论。为了简化心肌灌注的力学因素,仅考虑缺血部分为全部梗塞、梗塞以下的血管处于最大舒张状态。
, 百拇医药
缺血状态下,心肌时相血流分布如图2所示(篇幅所限,只给出侧支循环发展程度为50%的情况)。心肌各层静脉血流基本上为正向血流(从主动脉到右心房方向为正),在收缩期出现峰值,其幅值随着侧支循环发展程度的增加而增大。心外膜动脉血流在收缩期出现正向峰值。心内膜动脉血流在收缩期开始段出现反向峰值,然后由于血管的塌陷而出现零流现象。舒张期塌陷血管复原后,又有逆流现象出现,其幅值小于压塌前逆流的幅值。侧支循环发展程度越低,逆流峰值越小,零流持续时间越长。各层血管网的阻抗都会受侧支循环发展程度的影响,其中心内膜血管阻抗变动最大。侧支循环发展程度越低,心内膜血管阻抗值越大,说明心肌内膜最易缺血。
图2 缺血心肌灌注血流分布
Fig 2 The blood flow distribution of the different myocardial and vessel segments in ischemic myocardium
, 百拇医药
a.large and middle arteries; b.small arteries; c.small veins; d.large and middle veins
4 提高灌注压对血流时相分布的影响
用本实验室研制的MC-Ⅱ型体外反搏器对开胸犬作反搏,测得主动脉压和左心室压作为输入数据进行仿真。结果表明心肌各层供血量都有增加,如图3所示。对于易缺血的心肌内膜,供血量增加得最多,心内膜动脉血流零流持续时间下降,血管阻抗大幅度下降。由此得出结论,体外反搏在舒张期提高冠脉灌注压使易缺血的心肌内膜获益最多。
图3 侧支循环发展程度为50%时缺血心肌各层灌注血流反搏前和反搏中的比较
Fig 3 Comparing the blood perfusion in each ischemic myocardium layer between preexternal counterpulsation and during external counterpulsation with 50% development of collateral circulation
, 百拇医药
a.pre-external counterpulsation; b.during external counterpulsation
5 结 论
缺血心肌的血流灌注是十分复杂的,尤其是加上体外反搏的作用,就更为复杂。本文所建模型将正常心肌和缺血心肌联系起来对其进行仿真,其结果对加深了解影响缺血区血流灌注的各种因素间的相互作用和体外反搏治疗心肌缺血的机理,提供了一些定性的启示。该模型的独到之处在于把冠脉循环的周期性和血管的自动调节作用、侧支循环结合起来,描述各层中的血流分布、阻抗变化;也可以用它来分析各节段的压力变化和各血管单元的顺应性变化。由于研究对象的复杂性,该模型不能解释血流灌注的所有现象,如零流压对冠脉张力的依赖性、血管舒张调节机制等。在模型中模拟上述现象,需要考虑更多复杂的生理因素的影响。结合生理实验对此模型进行改进,可使之趋向完善。
注释:自然科学基金资助项目(39470199)
, http://www.100md.com
参考文献
1 Gould KL.Quantification of coronary artery stenosis in vivo. Circ Res, 1985; 43∶341
2 Wyatt D, Lee J, Downy JM. Determination of coronary collateral flow by a load line analysis. Circ Res, 1982; 50∶663
3 Wang J, Tie B, Welkowitz W et al. Incremental network analogue model of the coronary artery. Med & Bio Eng & Comput, 1989; 27∶416
4 Manor D, Sideman S, Dinnar, U et al. Analysis of coronary circulation under ischaemic conditions. Med & Bio Eng & Comput, 1994; 32∶S123
5 Sunagawa K, Maughan WL, Sagawa K. Effect of regional ischemia on the left ventricular end-systolic pressure-volume relationship of isolated canine hearts. Circ Res, 1983; 52∶170
6 刘 琼,郑振声,吴云鹏等.用模型方法研究心肌血流的时相分布及其灌注压依赖性.生物医学工程学杂志,1997; 14(3)∶212
收稿:1998-01-20, http://www.100md.com