“虚拟现实”康复工程前景初探
作者:黄靖远 刘宏增 李海燕 孙 镪 许怡然 凌 迪
单位:清华大学 精密仪器与机械学系,北京 100084
关键词:虚拟现实;康复;计算机图形学
生物医学工程学杂志990219 摘要 介绍了虚拟现实技术及康复医疗的发展现状,讨论了将此项技术用于康复医疗的合理性与可能性,我们认为将虚拟现实技术引入康复训练能够很好地实现心理诱导与康复训练的结合,大大减轻患者在康复训练中的烦躁情绪,它将为康复工程带来一场技术革命。
The Prospects of Research on VR Rehabilitation Engineering
Huang Jingyuan Liu Hongzneg Li Haiyan Sun Qiang Xu Yiran Ling Di
, 百拇医药
Department of Precision Instruments and Mechanism of Tsinghua University, Beijing 100084
Abstract In this paper, we present the recent development of Vitual Reality (VR) technology and rehabilitation engineering and discuss the rationality and feasibility of the application of VR to rehabilitation. With VR technology, psychological induction can be better introduced in rehabilitating exercises and patients can be tremendously released from fret during traditional physical training for rehabilitation. The VR is expected to bring about a technological revolution in rehabilitation engineering.
, http://www.100md.com
Key words Virtual Reality Rehabilitation Computer graphics
虚拟现实(Virtual Reality, VR)作为一种高科技,随着计算机技术的飞速发展而正逐渐显示出其强大的生命力,有人预言它将成为21世纪的十大热门技术之一。今天,它已经在一些领域得到成功地应用,最初它被用来做成模拟驾驶仓,使飞机驾驶员的训练变得既简单又没有危险。随后它被用来进行虚拟的室内建筑设计,使人能在这种虚拟的室内环境中得到如同真实一般的视觉和感觉。在医学方面,一种虚拟的外科手术可以使学生对虚拟的人体练习外科手术。在教育方面,学生们使用虚拟现实技术学习各种课程(如图1所示),他们可以在太阳系里飞行,可以进到细胞里面,可以学习电脑的内部结构,可以顺尼罗河源流而下,或者可以重建一个早期的美国城堡……。显然,虚拟现实这种高技术是针对人的感官(视觉、听觉、触觉、嗅觉……)产生虚拟效果的技术,还有许多应用领域有待人们的开拓。一旦用于某一领域,就有可能大大改变传统的技术而会产生意想不到的效果。
, http://www.100md.com
图1 教室中的虚拟现实
Fig 1 Virtual Reality in the classroom
人的肢体康复治疗也许正是这样一个有待于引入虚拟现实技术的适宜的领域。因为肢体康复是利用一些器械对肢体进行主动或被动牵引的过程,目前的康复治疗过程过于单调、枯燥,患者很难产生兴趣,因此效果不理想。如果将虚拟现实技术引入到康复治疗中来,则有可能实现三个结合;一是游戏和治疗相结合,也就是由屏幕提供一种人工景物,使患者如同置身于游戏或旅游的环境中,使治疗过程充满乐趣,提高患者的乐观情绪。二是心理引导和生理治疗相结合,利用屏幕技术,可以用语言和文字对患者进行种种心理提示和诱导,充分调动患者的精神作用,反过来强化生理治疗的作用。三是可以使康复器械产生被动牵引和主动训练相结合的治疗作用。因为器械本身已经是一种和电脑屏幕结合成一体的智能系统,可以很方便地实现主动和被动互相转换的效果。
上述三种结合是否可能对康复治疗产生革命性的积极效果呢?我们认为是肯定的,关键在于要尽快研制出有利于上述三种结合的虚拟现实康复治疗系统(包括器械、屏幕和图像软件)来。
, 百拇医药
我国目前每年大约有数十万肢体伤病患者,他们进行手术或药物治疗后,都需要进行康复治疗,以便恢复肢体功能,尽快重新投入生活和工作中去。我们希望在这方面的研究,会给他们带来福音。
1 “虚拟现实”能用于康复工程吗?
1.1 康复工程存在的问题
康复医学是一门涉及到物理医学、医疗体育、矫形学和假肢学、心理学、护理学、老年学、社会学及建筑学等多种学科的一门新兴学科。康复医疗旨在通过物理疗法、体育疗法、作业疗法、生活训练、技能训练、语言训练和心理咨询等多种手段,使伤残者、慢性病患者、低能畸形儿童、老年人和手术后患者得到最大限度的恢复,使身体的部分或全部功能得到最充分的发挥,以达到最大可能的生活自理、劳动和工作等能力。
康复医学工作者已在帮助患者恢复功能方面作了很多工作,但由于客观技术条件的限制,目前在康复工程方面还存在一些不尽如人意的缺憾。比如拿患者的肢体康复治疗来说,肢体残疾的患者,不仅造成器官的损坏,在生理上承受着巨大的痛苦,而且还产生心理上的障碍,心理治疗对患者树立重返“社会”的信心,加快康复治疗的进程,起着越来越重要的作用。现在的康复治疗过程,虽然也采用了运动疗法、作业疗法、功能评测和心理治疗等手段,在治疗过程中也较注意心理治疗的重要性,但由于现有康复器械的局限,还不能将功能评测、运动治疗(或作业治疗)及心理治疗这三方面有机地贯穿在一起,尤其无法将心理治疗贯穿康复治疗的始终。在传统的运动疗法中,患者处于被动的地位,训练过程中的动作反复、单调枯燥,患者很容易产生厌烦情绪,在一定程度上延缓治疗的进行,不利于治疗的继续和深入。同时在每次治疗前,又不可能对受损部位的功能作一个客观的评定,以便有的放矢地制订康复训练指标的数值。此外,没有充分发挥心理治疗对康复治疗的促进作用。因此我们迫切需要这样一种康复器械,在患者康复训练前,对患者受损部位的功能作一个客观的评定,以确定器械的状态(器械的技术指标),如关节活动度的大小、训练时间的长短、速度的大小等,还包括本次训练的运动状态是主动运动还是被动运动,以便准确指导康复训练,在患者身体恢复的过程中,随着身体状况的变化,所能承受的强度也会发生变化,这样及时做功能测评,可实时调整训练计划和训练强度。在整个运动疗法的同时,可利用音乐、画面和语言提示等手段进行心理治疗。音乐治疗能影响人的情绪,为人们提供一个情绪的发泄口,帮助释放或控制情绪,使患者改善与外界的交流,选择合适的音乐,能让患者在欣赏音乐的过程中,通过音乐的旋律、节奏、和声、音色等因素影响人的神经系统,达到治疗的作用。播放合适的画面,如祖国的大好河山等,可开阔患者的视野,体会到生活的美好,鼓起患者生活的勇气和信心,对患者配合治疗也起着很好的作用。在训练过程中,加上相应的语言提示,对患者取得的每一点进步都及时鼓励。而且每次运动疗法结束前可将有关的指标(如心跳、呼吸、肌力、力度和关节度等)记录下来,及时反映训练效果,并便于下次训练时使用。
, 百拇医药
总之,康复训练时,应以科学的治疗方法和指标测定为基础,将心理护理贯穿训练始终,使患者既不会因动作单调,而产生烦躁情绪,也不会因动作难做产生畏难情绪,又不会操之过急,活动量太大而产生训练的副作用,这样治疗及时、方法正确,一定会使康复治疗进程加快,取得良好的效果。
研究一种用于康复训练的,集功能测试、运动疗法(或作业疗法)和心理治疗为一体的康复器械是康复事业的需要,这类产品在国内外都是一个空白,这类产品的问世,会给我国的康复事业作出巨大的贡献,对广大患者来说,也是一个福音。同时,目前专业康复人员的数量也较少,这一类器械的问世将缓解矛盾,使更多的患者受益。而虚拟现实技术正好能解决康复工程中存在的上述问题。
1.2 虚拟现实技术的发展现状
虚拟现实是一门崭新的技术,是一种高度逼真地模拟人在自然环境中视、听、动等行为的人机界面技术。虽然人们对它研究的时间并不算太长,但其发展和影响力已远远超出了人们的预料。相信随着研究的不断深入,VR技术将会产生飞跃的发展,并将带来一场世界性的技术革命。
, http://www.100md.com
1990年在美国达拉斯召开的SIGGRAPH国际会议上对VR进行了讨论,并首次用以下三个构成技术对VR进行了定义:
*三维计算机图形学技术
*采用多功能传感器的交互式接口技术
*高清晰度以及高更新速度的显示技术
一个虚拟现实系统应具备的特征有:
(1)自主性:表示在虚拟环境中,对象的行为是自主的,是由程序自动完成的,只有这样,才能使操作者感到虚拟环境中的生物是“有生命的”、“自主的”,非生物的行为是符合物理规律的。
(2)交互性:表示在虚拟环境中,操作者能够对虚拟环境中的生物及非生物进行操作,并且,操作的结果应该能够被操作者感受到。
, 百拇医药
(3)存在感:表示在虚拟环境中,操作者应该能很好地感受到自己的存在。存在感的强弱,与虚拟表达的详细度、精确度和真实度有密不可分的关系。
一个标准的VR系统应该由以下几个部分组成(如图2):
图2 VR系统的一般体系结构
Fig 2 The general system structure of VR
(1)三维的虚拟环境产生器及其显示部分:
这是VR系统的最基础部分,它可以由各种传感器的信号来分析操作者在虚拟环境中的位置及观察角度,并根据在计算机内部建立的虚拟环境的模型快速产生图形,快速显示图形。这部分可将患者的训练姿态与计算机图形的显示内容融合在一起,使患者在训练时知道自己的状态,并利用计算机显示的图形进行心理诱导治疗。
, 百拇医药
(2)由各种传感器构成的信号采集部分:
这是VR系统的感知部分,传感器包括力、温度、位置、速度以及声音传感器等,这些传感器可以感知操作者移动的距离和速度、动作的方向、动作力的大小以及操作者的声音,这部分可用于测定患者训练的强度大小,测试患者的脉搏、呼吸、关节的活动度和训练的力度等。产生的信号可以帮助计算机确定操作者的位置及方向,从而计算出操作者所观察到的景物,也可以使计算机确定操作者的动作性质及力度。
(3)由各种外部设备构成的信息输出部分:
这是VR系统使操作者产生感觉的部分,感觉包括声音、触觉、动觉和风感,甚至还可以有嗅觉、味觉等。正是VR系统产生的这些丰富的感觉,才使操作者能真正地沉浸于虚拟环境中,产生身临其境的感觉。这部分中的动作器械可产生主动运动和抵抗运动,引导使用者进行被动的或主动的动作训练;而其信息发生器则产生各种能使人感知的信息,还可用音乐或语言提示的方式,鼓励患者,进行心理治疗。
, 百拇医药
一个虚拟环境特性的实现是和实现虚拟环境的硬件及软件性能密不可分的。例如自主性是否良好由软件的设计水平决定,交互性则不仅与软件水平有关,更重要的是由各种传感器的性能决定的,而存在感则与三维视觉产生系统的运算速度及显示器分辨率、刷新速度有着密不可分的关系。
虚拟现实系统的作用是十分广泛的,它可以被应用于:
(1)训练:使用者可像在真实环境中一样操纵虚拟环境中的对象,这样可以用于培训和教育,如飞行员用飞机模拟训练器练习驾驶技术,医生用虚拟现实技术进行手术训练等。
(2)体验因大小关系而无法体验的事情:例如,在人的血管及体内行走,观察遥远星系的演化等。
(3)体验到那些由于危险、经济代价高或费时等原因而不易到达的地方的感觉:例如对核反应堆的操作,到太阳、火星等星体上去旅行。
, 百拇医药
(4)检验系统、建筑设计的合理性:在系统设计完以后,可以建立该系统的计算机模型,并由操作者在VR系统中感受系统有无不便之处,并对设计进行交互式的修改,从而完善系统。
(5)用于虚拟空间辅助决策系统(Virtual Space Decision Support System, VSDSS):这是应用于产品开发及试制过程中的一种辅助评价手段,其评价结果将直接送CIMS系统,供制造系统参考。
(6)用于娱乐:由于虚拟现实所产生的一个包括视觉、听觉、触觉、动觉、嗅觉以至味觉的多感觉环境,很容易使操作者产生一种身临其境的感觉,这对于游戏来说是十分合适的。
(7)用于通讯与协同工作:虚拟现实技术与高速网络及分布式计算机相结合,将给使用者提供一个公共的工作空间,可供通讯、会议及协同工作,这将极大地提高工作效率,节省工作开支。
, 百拇医药 (8)用于康复治疗:这是我们在本文中提出的一个新的应用方向。
2 虚拟现实技术在康复工程中的应用前景
对于康复患者的训练来说,运动量是否合适,运动是否平稳,运动方式是否符合一般的生活习惯,是决定康复训练是否成功的关键。
使训练过程充满乐趣,可以应用虚拟现实技术,使训练能达到预定的效果,这种器械必须能实现康复训练过程中所需要的四种运动方式,即被动运动、主动-辅助运动、主动运动和抵抗运动。我们认为VR技术在康复工程中能应用在以下几个方面,如下表所示:
表1 VR技术在康复工程中的应用
Table 1 The application of VR technology to rehabilitation engineering 应用的范围
, 百拇医药
上肢康复训练
下肢康复训练
慢性病患者
心理病患者
对象
上肢手术后恢复
或上肢锻炼
下肢手术后恢复
或下肢锻炼
如脑瘫、脑损害
或中风病人等
精神病人等
所用VR的技术手段
, http://www.100md.com
器械及多媒体
虚拟环境
器械及多媒体
虚拟环境
多媒体虚拟环境
多媒体虚拟环境
下面以上肢康复训练和下肢康复训练为例说明虚拟现实技术在康复工程中的应用。
2.1 虚拟现实技术在上肢康复训练中的应用前景
根据VR技术能使用户象在真实环境中一样操纵虚拟环境中的对象(或物体)这一作用,虚拟现实技术可以用于上肢和手的训练。在进行上肢和手的训练时,需要很多如圆锥体、泡沫塑料分指板、大球状把的插桩和把手粗细不同的木图案模等物体。这些物体都可以通过虚拟环境生成虚拟物体来实现,患者可通过对所生成的虚拟物体的抓握或使用来进行手指精细动作的训练,虚拟物体的形状和大小,可根据患者的手的大小和恢复情况来定。这样需要的训练物体可根据康复情况发生变化,软硬程度也可调整,还可随时对患者的训练情况进行科学评价,且不需要平时储存很多训练物品,又省去专人管理。
, http://www.100md.com
2.2 虚拟现实技术在下肢康复训练中的应用前景
虚拟现实技术也可用于下肢的训练,如“虚拟跑步器”和“虚拟健身车”等。下面以“虚拟健身车”为例说明虚拟现实训练器的大致结构组成,如图3所示。
由图3可以看出,整个训练系统由以下几部分组成:
图3 虚拟现实训练器的组成框图
Fig 3 The frame diagram of Virtual Reality training device
(1)主体:这部分由操纵装置、阻力加载系统和运动系统组成。操纵装置是为使用者能操纵虚拟环境而设置的,为了让使用者在虚拟环境中漫游,操纵装置应能产生上下左右的运动控制信号。阻力加载系统和运动系统是实现康复训练四种运动方式的基础。康复训练器操纵器的设计也是一个比较重要的部分,要能感受使用者所施加的力度和幅度 。幅度大则产生的操纵信号强,否则就弱。而且,操纵装置的设计也应该考虑操纵的方便和舒适。
, http://www.100md.com
(2)处理器系统:这部分由微处理器、图像发生器、声音发生器、图像显示器和声音播放器组成。这部分是实现虚拟现实技术的核心部分,它将由各种传感器获得的运动控制信号、速度信号加以分析处理,分析操纵者在虚拟环境中的位置及观察角度,并根据已建立的虚拟环境的模型来快速产生图形,最终由图像发生器产生相应的图像,由声音发生器产生各种音响,为使用者创造一个和谐的训练环境。
(3)信号分析处理系统:这部分由阻力模拟器和传感器及其处理电路组成。阻力模拟器根据微处理器产生的“虚拟健身车”行驶过程中的不同路况信号,发生阻力信号,控制阻力加载系统产生模拟阻力;传感器包括操纵器中的各种传感设备、速度传感器以及各处生理参数测量传感器,这些传感器可以感知操作者的控制信号、速度信号和各种生理信号,并由处理电路处理各种传感器产生的信号,传递给微处理器使用。
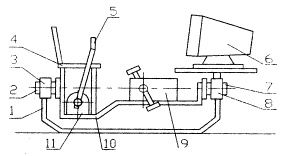
控制系统的作用是接收各传感器和操纵装置的信号,将其整形、放大、转换成图像生成器所能接受的信号,用于控制图像的产生。另外一个作用是将图像发生器产生的路况阻力信号转化成模拟信号,与其它信号合成后控制阻力模拟器。图4表示了一种正在研制的下肢虚拟现实康复训练器。
, 百拇医药
图4 下肢虚拟现实训练器
1-支架;2-后轴;3-后轴承座;4-座椅;5-操作手柄;6-显示器;7-前轴;8-前轴承座;9-阻力模拟器;10-摆架;11-转向机构
Fig 4 Virtual Reality training device used by leg-disabled patients
1-bracket;2-back shaft;3-back bearing;4-chair;5-operating handle;6-display;7-front shaft;8-front bearing;9-resistance simulator;10-swinging rack;11-steering device
对于一般的患者来说,在他恢复的过程中,随着身体情况的变化,在训练过程中所承受的负荷也有所变化。在开始训练时由于患者体力极差,不能进行主动运动的情况下,为了防止机体功能的退化,可以采用器械主动牵引,患者被动运动的方式。而在以后的训练过程中,这种阻力要随着训练的深入而加大。阻力模拟系统是实现康复训练过程中四种运动方式的关键部分。
, 百拇医药
虚拟现实技术还可用于作业治疗,建立一个和日常生活环境一致的虚拟环境,患者戴上头盔、手套等,可如身临其境一样进行作业,如使用吸尘器打扫房间,用洗衣机洗衣服等,吸尘器、洗衣机等房间中的设备都是虚拟的,在作业中出现失误,也不会对患者的身体造成损坏,这种环境可用于慢性病治疗和心理治疗。
我们相信虚拟现实技术在康复训练疗法中一定会有广泛的应用前景,将虚拟现实技术用于康复训练,一定会使训练更为有的放矢,更具有科学性和趣味性,使得训练时间缩短,训练效果更为显著。
注释:自然科学基金资助项目(39370784)
参考文献
1 曾建超,石定机.虚拟现实技术及系统.高技术通讯,1994;9
2 王永江.线性集成运算放大器及其应用.北京:机械工业出版社,1989
3 陶楚良.数据采集系统及其器件,北京:北京工业学院出版社,1988
4 RUSK HA著.陈过主译.康复医院.杭州:浙江科学出版社,1983
收稿:1997-10-26, 百拇医药
单位:清华大学 精密仪器与机械学系,北京 100084
关键词:虚拟现实;康复;计算机图形学
生物医学工程学杂志990219 摘要 介绍了虚拟现实技术及康复医疗的发展现状,讨论了将此项技术用于康复医疗的合理性与可能性,我们认为将虚拟现实技术引入康复训练能够很好地实现心理诱导与康复训练的结合,大大减轻患者在康复训练中的烦躁情绪,它将为康复工程带来一场技术革命。
The Prospects of Research on VR Rehabilitation Engineering
Huang Jingyuan Liu Hongzneg Li Haiyan Sun Qiang Xu Yiran Ling Di
, 百拇医药
Department of Precision Instruments and Mechanism of Tsinghua University, Beijing 100084
Abstract In this paper, we present the recent development of Vitual Reality (VR) technology and rehabilitation engineering and discuss the rationality and feasibility of the application of VR to rehabilitation. With VR technology, psychological induction can be better introduced in rehabilitating exercises and patients can be tremendously released from fret during traditional physical training for rehabilitation. The VR is expected to bring about a technological revolution in rehabilitation engineering.
, http://www.100md.com
Key words Virtual Reality Rehabilitation Computer graphics
虚拟现实(Virtual Reality, VR)作为一种高科技,随着计算机技术的飞速发展而正逐渐显示出其强大的生命力,有人预言它将成为21世纪的十大热门技术之一。今天,它已经在一些领域得到成功地应用,最初它被用来做成模拟驾驶仓,使飞机驾驶员的训练变得既简单又没有危险。随后它被用来进行虚拟的室内建筑设计,使人能在这种虚拟的室内环境中得到如同真实一般的视觉和感觉。在医学方面,一种虚拟的外科手术可以使学生对虚拟的人体练习外科手术。在教育方面,学生们使用虚拟现实技术学习各种课程(如图1所示),他们可以在太阳系里飞行,可以进到细胞里面,可以学习电脑的内部结构,可以顺尼罗河源流而下,或者可以重建一个早期的美国城堡……。显然,虚拟现实这种高技术是针对人的感官(视觉、听觉、触觉、嗅觉……)产生虚拟效果的技术,还有许多应用领域有待人们的开拓。一旦用于某一领域,就有可能大大改变传统的技术而会产生意想不到的效果。
, http://www.100md.com
图1 教室中的虚拟现实
Fig 1 Virtual Reality in the classroom
人的肢体康复治疗也许正是这样一个有待于引入虚拟现实技术的适宜的领域。因为肢体康复是利用一些器械对肢体进行主动或被动牵引的过程,目前的康复治疗过程过于单调、枯燥,患者很难产生兴趣,因此效果不理想。如果将虚拟现实技术引入到康复治疗中来,则有可能实现三个结合;一是游戏和治疗相结合,也就是由屏幕提供一种人工景物,使患者如同置身于游戏或旅游的环境中,使治疗过程充满乐趣,提高患者的乐观情绪。二是心理引导和生理治疗相结合,利用屏幕技术,可以用语言和文字对患者进行种种心理提示和诱导,充分调动患者的精神作用,反过来强化生理治疗的作用。三是可以使康复器械产生被动牵引和主动训练相结合的治疗作用。因为器械本身已经是一种和电脑屏幕结合成一体的智能系统,可以很方便地实现主动和被动互相转换的效果。
上述三种结合是否可能对康复治疗产生革命性的积极效果呢?我们认为是肯定的,关键在于要尽快研制出有利于上述三种结合的虚拟现实康复治疗系统(包括器械、屏幕和图像软件)来。
, 百拇医药
我国目前每年大约有数十万肢体伤病患者,他们进行手术或药物治疗后,都需要进行康复治疗,以便恢复肢体功能,尽快重新投入生活和工作中去。我们希望在这方面的研究,会给他们带来福音。
1 “虚拟现实”能用于康复工程吗?
1.1 康复工程存在的问题
康复医学是一门涉及到物理医学、医疗体育、矫形学和假肢学、心理学、护理学、老年学、社会学及建筑学等多种学科的一门新兴学科。康复医疗旨在通过物理疗法、体育疗法、作业疗法、生活训练、技能训练、语言训练和心理咨询等多种手段,使伤残者、慢性病患者、低能畸形儿童、老年人和手术后患者得到最大限度的恢复,使身体的部分或全部功能得到最充分的发挥,以达到最大可能的生活自理、劳动和工作等能力。
康复医学工作者已在帮助患者恢复功能方面作了很多工作,但由于客观技术条件的限制,目前在康复工程方面还存在一些不尽如人意的缺憾。比如拿患者的肢体康复治疗来说,肢体残疾的患者,不仅造成器官的损坏,在生理上承受着巨大的痛苦,而且还产生心理上的障碍,心理治疗对患者树立重返“社会”的信心,加快康复治疗的进程,起着越来越重要的作用。现在的康复治疗过程,虽然也采用了运动疗法、作业疗法、功能评测和心理治疗等手段,在治疗过程中也较注意心理治疗的重要性,但由于现有康复器械的局限,还不能将功能评测、运动治疗(或作业治疗)及心理治疗这三方面有机地贯穿在一起,尤其无法将心理治疗贯穿康复治疗的始终。在传统的运动疗法中,患者处于被动的地位,训练过程中的动作反复、单调枯燥,患者很容易产生厌烦情绪,在一定程度上延缓治疗的进行,不利于治疗的继续和深入。同时在每次治疗前,又不可能对受损部位的功能作一个客观的评定,以便有的放矢地制订康复训练指标的数值。此外,没有充分发挥心理治疗对康复治疗的促进作用。因此我们迫切需要这样一种康复器械,在患者康复训练前,对患者受损部位的功能作一个客观的评定,以确定器械的状态(器械的技术指标),如关节活动度的大小、训练时间的长短、速度的大小等,还包括本次训练的运动状态是主动运动还是被动运动,以便准确指导康复训练,在患者身体恢复的过程中,随着身体状况的变化,所能承受的强度也会发生变化,这样及时做功能测评,可实时调整训练计划和训练强度。在整个运动疗法的同时,可利用音乐、画面和语言提示等手段进行心理治疗。音乐治疗能影响人的情绪,为人们提供一个情绪的发泄口,帮助释放或控制情绪,使患者改善与外界的交流,选择合适的音乐,能让患者在欣赏音乐的过程中,通过音乐的旋律、节奏、和声、音色等因素影响人的神经系统,达到治疗的作用。播放合适的画面,如祖国的大好河山等,可开阔患者的视野,体会到生活的美好,鼓起患者生活的勇气和信心,对患者配合治疗也起着很好的作用。在训练过程中,加上相应的语言提示,对患者取得的每一点进步都及时鼓励。而且每次运动疗法结束前可将有关的指标(如心跳、呼吸、肌力、力度和关节度等)记录下来,及时反映训练效果,并便于下次训练时使用。
, 百拇医药
总之,康复训练时,应以科学的治疗方法和指标测定为基础,将心理护理贯穿训练始终,使患者既不会因动作单调,而产生烦躁情绪,也不会因动作难做产生畏难情绪,又不会操之过急,活动量太大而产生训练的副作用,这样治疗及时、方法正确,一定会使康复治疗进程加快,取得良好的效果。
研究一种用于康复训练的,集功能测试、运动疗法(或作业疗法)和心理治疗为一体的康复器械是康复事业的需要,这类产品在国内外都是一个空白,这类产品的问世,会给我国的康复事业作出巨大的贡献,对广大患者来说,也是一个福音。同时,目前专业康复人员的数量也较少,这一类器械的问世将缓解矛盾,使更多的患者受益。而虚拟现实技术正好能解决康复工程中存在的上述问题。
1.2 虚拟现实技术的发展现状
虚拟现实是一门崭新的技术,是一种高度逼真地模拟人在自然环境中视、听、动等行为的人机界面技术。虽然人们对它研究的时间并不算太长,但其发展和影响力已远远超出了人们的预料。相信随着研究的不断深入,VR技术将会产生飞跃的发展,并将带来一场世界性的技术革命。
, http://www.100md.com
1990年在美国达拉斯召开的SIGGRAPH国际会议上对VR进行了讨论,并首次用以下三个构成技术对VR进行了定义:
*三维计算机图形学技术
*采用多功能传感器的交互式接口技术
*高清晰度以及高更新速度的显示技术
一个虚拟现实系统应具备的特征有:
(1)自主性:表示在虚拟环境中,对象的行为是自主的,是由程序自动完成的,只有这样,才能使操作者感到虚拟环境中的生物是“有生命的”、“自主的”,非生物的行为是符合物理规律的。
(2)交互性:表示在虚拟环境中,操作者能够对虚拟环境中的生物及非生物进行操作,并且,操作的结果应该能够被操作者感受到。
, 百拇医药
(3)存在感:表示在虚拟环境中,操作者应该能很好地感受到自己的存在。存在感的强弱,与虚拟表达的详细度、精确度和真实度有密不可分的关系。
一个标准的VR系统应该由以下几个部分组成(如图2):
图2 VR系统的一般体系结构
Fig 2 The general system structure of VR
(1)三维的虚拟环境产生器及其显示部分:
这是VR系统的最基础部分,它可以由各种传感器的信号来分析操作者在虚拟环境中的位置及观察角度,并根据在计算机内部建立的虚拟环境的模型快速产生图形,快速显示图形。这部分可将患者的训练姿态与计算机图形的显示内容融合在一起,使患者在训练时知道自己的状态,并利用计算机显示的图形进行心理诱导治疗。
, 百拇医药
(2)由各种传感器构成的信号采集部分:
这是VR系统的感知部分,传感器包括力、温度、位置、速度以及声音传感器等,这些传感器可以感知操作者移动的距离和速度、动作的方向、动作力的大小以及操作者的声音,这部分可用于测定患者训练的强度大小,测试患者的脉搏、呼吸、关节的活动度和训练的力度等。产生的信号可以帮助计算机确定操作者的位置及方向,从而计算出操作者所观察到的景物,也可以使计算机确定操作者的动作性质及力度。
(3)由各种外部设备构成的信息输出部分:
这是VR系统使操作者产生感觉的部分,感觉包括声音、触觉、动觉和风感,甚至还可以有嗅觉、味觉等。正是VR系统产生的这些丰富的感觉,才使操作者能真正地沉浸于虚拟环境中,产生身临其境的感觉。这部分中的动作器械可产生主动运动和抵抗运动,引导使用者进行被动的或主动的动作训练;而其信息发生器则产生各种能使人感知的信息,还可用音乐或语言提示的方式,鼓励患者,进行心理治疗。
, 百拇医药
一个虚拟环境特性的实现是和实现虚拟环境的硬件及软件性能密不可分的。例如自主性是否良好由软件的设计水平决定,交互性则不仅与软件水平有关,更重要的是由各种传感器的性能决定的,而存在感则与三维视觉产生系统的运算速度及显示器分辨率、刷新速度有着密不可分的关系。
虚拟现实系统的作用是十分广泛的,它可以被应用于:
(1)训练:使用者可像在真实环境中一样操纵虚拟环境中的对象,这样可以用于培训和教育,如飞行员用飞机模拟训练器练习驾驶技术,医生用虚拟现实技术进行手术训练等。
(2)体验因大小关系而无法体验的事情:例如,在人的血管及体内行走,观察遥远星系的演化等。
(3)体验到那些由于危险、经济代价高或费时等原因而不易到达的地方的感觉:例如对核反应堆的操作,到太阳、火星等星体上去旅行。
, 百拇医药
(4)检验系统、建筑设计的合理性:在系统设计完以后,可以建立该系统的计算机模型,并由操作者在VR系统中感受系统有无不便之处,并对设计进行交互式的修改,从而完善系统。
(5)用于虚拟空间辅助决策系统(Virtual Space Decision Support System, VSDSS):这是应用于产品开发及试制过程中的一种辅助评价手段,其评价结果将直接送CIMS系统,供制造系统参考。
(6)用于娱乐:由于虚拟现实所产生的一个包括视觉、听觉、触觉、动觉、嗅觉以至味觉的多感觉环境,很容易使操作者产生一种身临其境的感觉,这对于游戏来说是十分合适的。
(7)用于通讯与协同工作:虚拟现实技术与高速网络及分布式计算机相结合,将给使用者提供一个公共的工作空间,可供通讯、会议及协同工作,这将极大地提高工作效率,节省工作开支。
, 百拇医药 (8)用于康复治疗:这是我们在本文中提出的一个新的应用方向。
2 虚拟现实技术在康复工程中的应用前景
对于康复患者的训练来说,运动量是否合适,运动是否平稳,运动方式是否符合一般的生活习惯,是决定康复训练是否成功的关键。
使训练过程充满乐趣,可以应用虚拟现实技术,使训练能达到预定的效果,这种器械必须能实现康复训练过程中所需要的四种运动方式,即被动运动、主动-辅助运动、主动运动和抵抗运动。我们认为VR技术在康复工程中能应用在以下几个方面,如下表所示:
表1 VR技术在康复工程中的应用
Table 1 The application of VR technology to rehabilitation engineering 应用的范围
, 百拇医药
上肢康复训练
下肢康复训练
慢性病患者
心理病患者
对象
上肢手术后恢复
或上肢锻炼
下肢手术后恢复
或下肢锻炼
如脑瘫、脑损害
或中风病人等
精神病人等
所用VR的技术手段
, http://www.100md.com
器械及多媒体
虚拟环境
器械及多媒体
虚拟环境
多媒体虚拟环境
多媒体虚拟环境
下面以上肢康复训练和下肢康复训练为例说明虚拟现实技术在康复工程中的应用。
2.1 虚拟现实技术在上肢康复训练中的应用前景
根据VR技术能使用户象在真实环境中一样操纵虚拟环境中的对象(或物体)这一作用,虚拟现实技术可以用于上肢和手的训练。在进行上肢和手的训练时,需要很多如圆锥体、泡沫塑料分指板、大球状把的插桩和把手粗细不同的木图案模等物体。这些物体都可以通过虚拟环境生成虚拟物体来实现,患者可通过对所生成的虚拟物体的抓握或使用来进行手指精细动作的训练,虚拟物体的形状和大小,可根据患者的手的大小和恢复情况来定。这样需要的训练物体可根据康复情况发生变化,软硬程度也可调整,还可随时对患者的训练情况进行科学评价,且不需要平时储存很多训练物品,又省去专人管理。
, http://www.100md.com
2.2 虚拟现实技术在下肢康复训练中的应用前景
虚拟现实技术也可用于下肢的训练,如“虚拟跑步器”和“虚拟健身车”等。下面以“虚拟健身车”为例说明虚拟现实训练器的大致结构组成,如图3所示。
由图3可以看出,整个训练系统由以下几部分组成:
图3 虚拟现实训练器的组成框图
Fig 3 The frame diagram of Virtual Reality training device
(1)主体:这部分由操纵装置、阻力加载系统和运动系统组成。操纵装置是为使用者能操纵虚拟环境而设置的,为了让使用者在虚拟环境中漫游,操纵装置应能产生上下左右的运动控制信号。阻力加载系统和运动系统是实现康复训练四种运动方式的基础。康复训练器操纵器的设计也是一个比较重要的部分,要能感受使用者所施加的力度和幅度 。幅度大则产生的操纵信号强,否则就弱。而且,操纵装置的设计也应该考虑操纵的方便和舒适。
, http://www.100md.com
(2)处理器系统:这部分由微处理器、图像发生器、声音发生器、图像显示器和声音播放器组成。这部分是实现虚拟现实技术的核心部分,它将由各种传感器获得的运动控制信号、速度信号加以分析处理,分析操纵者在虚拟环境中的位置及观察角度,并根据已建立的虚拟环境的模型来快速产生图形,最终由图像发生器产生相应的图像,由声音发生器产生各种音响,为使用者创造一个和谐的训练环境。
(3)信号分析处理系统:这部分由阻力模拟器和传感器及其处理电路组成。阻力模拟器根据微处理器产生的“虚拟健身车”行驶过程中的不同路况信号,发生阻力信号,控制阻力加载系统产生模拟阻力;传感器包括操纵器中的各种传感设备、速度传感器以及各处生理参数测量传感器,这些传感器可以感知操作者的控制信号、速度信号和各种生理信号,并由处理电路处理各种传感器产生的信号,传递给微处理器使用。
控制系统的作用是接收各传感器和操纵装置的信号,将其整形、放大、转换成图像生成器所能接受的信号,用于控制图像的产生。另外一个作用是将图像发生器产生的路况阻力信号转化成模拟信号,与其它信号合成后控制阻力模拟器。图4表示了一种正在研制的下肢虚拟现实康复训练器。
, 百拇医药
图4 下肢虚拟现实训练器
1-支架;2-后轴;3-后轴承座;4-座椅;5-操作手柄;6-显示器;7-前轴;8-前轴承座;9-阻力模拟器;10-摆架;11-转向机构
Fig 4 Virtual Reality training device used by leg-disabled patients
1-bracket;2-back shaft;3-back bearing;4-chair;5-operating handle;6-display;7-front shaft;8-front bearing;9-resistance simulator;10-swinging rack;11-steering device
对于一般的患者来说,在他恢复的过程中,随着身体情况的变化,在训练过程中所承受的负荷也有所变化。在开始训练时由于患者体力极差,不能进行主动运动的情况下,为了防止机体功能的退化,可以采用器械主动牵引,患者被动运动的方式。而在以后的训练过程中,这种阻力要随着训练的深入而加大。阻力模拟系统是实现康复训练过程中四种运动方式的关键部分。
, 百拇医药
虚拟现实技术还可用于作业治疗,建立一个和日常生活环境一致的虚拟环境,患者戴上头盔、手套等,可如身临其境一样进行作业,如使用吸尘器打扫房间,用洗衣机洗衣服等,吸尘器、洗衣机等房间中的设备都是虚拟的,在作业中出现失误,也不会对患者的身体造成损坏,这种环境可用于慢性病治疗和心理治疗。
我们相信虚拟现实技术在康复训练疗法中一定会有广泛的应用前景,将虚拟现实技术用于康复训练,一定会使训练更为有的放矢,更具有科学性和趣味性,使得训练时间缩短,训练效果更为显著。
注释:自然科学基金资助项目(39370784)
参考文献
1 曾建超,石定机.虚拟现实技术及系统.高技术通讯,1994;9
2 王永江.线性集成运算放大器及其应用.北京:机械工业出版社,1989
3 陶楚良.数据采集系统及其器件,北京:北京工业学院出版社,1988
4 RUSK HA著.陈过主译.康复医院.杭州:浙江科学出版社,1983
收稿:1997-10-26, 百拇医药