康复用虚拟现实健身车的技术基础*
作者:黄靖远 刘宏增 凌 迪 许怡然 孙 镪
单位:(清华大学 精密仪器系,北京 100084)
关键词:虚拟现实;康复;健身车;阻力模拟
生物医学工程学杂志990413 摘要 简单地介绍了该项研究的工程背景以及康复用虚拟现实健身车的结构和所能实现的功能,并着重探讨了虚拟现实生成的关键技术。该车可以使患者根据自己的具体情况来选择适当的训练方式,集心理治疗和康复训练于一体,让患者在轻松输快的环境中锻炼,进而加快康复进程。
Some Basic Techniques of Virtual Reality Body Healthiness
Vehicles for Rehabilitation
, 百拇医药
Huang Jingyuan Liu Hongzeng Ling Di Xu Yiran Sun Qiang
(Department of Precision Instruments and Mechanism of Tsinghua University,Beijing 100084)
Abstract Some know-how techniques of virtual reality rehabilitation vehicles are discussed in this paper after a brief introduction of the application background and the structure and functions of the vehicles. This kind of vehicles can be used for psychological treatment during rehabilitation. Pateints can select different modes of physical exercises according to their individual situations, and therefore they can get rehabilitation much faster and more easily than those under the traditional treatments.
, 百拇医药
Key wrods Virtual reality Rehabilitation Body healthiness vehicle Resistance simulation
1 引 言
康复治疗旨在通过物理疗法、体育疗法、生活训练、技能训练和心理训练等多种手段,使伤残者、慢性病患者、低能畸形患者、老年人和手术后患者得到最大限度的恢复,使身体的部分功能或全部功能得到最充分的恢复,以达到最大可能的生活自理、劳动和工作能力。
我国目前每年都有数十万肢体伤残患者,他们在进行手术或药物治疗后,都需要进行康复治疗。康复医疗工作者已经在帮助患者恢复功能方面作了很多工作,但由于客观条件的限制,在康复医疗方面还有一些不尽如人意的缺憾。
对下肢伤残或下肢手术后需进行恢复的患者,最有效的康复方法是体育疗法,即通过被动运动、辅助运动、主动运动和抵抗运动尽可能恢复肌肉的运动能力。通常,这些训练工作主要是依靠理疗师和简单的器械完成,这给医疗工作者带来很大的负担,因为任何一个患者的恢复都必须由一个理疗师来辅助完成,而且训练过程单调无趣,患者总是处于被动状态,训练程度不容易被理疗师及时地了解,还不能做到将功能评测、运动疗法和心理疗法有机地结合在一起。
, http://www.100md.com
因此,我们迫切需要这样一种康复器械,它引入计算机技术,在患者训练前、训练中和训练后,对患者受损部位的功能有一个客观的评定,以帮助患者确定训练的步骤和强度,如关节活动度、训练方法、时间长短、强度大小等。这样可以实时地调整训练计划和训练强度。而且,利用计算机的优势,还可以同时对患者进行心理治疗,不断地给患者以正确的心理暗示和鼓励,并配以优美的音乐和图像,增加训练的乐趣,起到事半功倍的效果。我们目前正在研究的正是这样一种康复用虚拟现实健身车。
2 康复用虚拟现实健身车的结构
结构简图如图1所示
图1 康复用健身车的整体结构简图
Fig 1 Sketch of the virtual reality rehabilitation vehicle
, http://www.100md.com
其中 thereinto:1-支架 bracker;2-后轴 back shaft;3-后轴承座 back bearing;4-座椅 chair;5-操作手柄 manipulating handle;6-显示器 display;7-前轴 front bearing;8-前轴承座 front bearing;9-阻力模拟器 resistance simulator;10-摆架 swinging bracket;11-转向机构 steering mechanism
它包括四大部分:
支架部分:它是健身车的支撑部分,在其上面安装其他的部件及控制电路。它是由不锈钢管通过焊接而成的一个框架1,在其两端各有一个轴承座3和8,以安装转动座椅部分。
转动部分:为了更逼真的地模拟自由骑行时转弯时的感觉,我们设计了这个转动座椅部分,当人操作转向杆5转向时,转向杆会通过一套滑轮机构带动转动部分绕水平轴转动,用来模拟人自然骑行转弯时的身体倾斜。
, http://www.100md.com
阻力模拟部分:这是康复用健身车的核心部分,它已经被设计成一个模块,可以自由地拆卸和安装,为了适应不同身高人的使用,这部分是可以在旋转架上前后调整移动的,关于这部分的工作原理将在下一节将另行探讨。
虚拟现实产生器:通过计算机,引入虚拟现实技术,使患者在训练过程中可以选择不同的场景,产生很强的临境感和沉浸感,可以在很大程度上增加使用者的兴趣,在训练的同时可欣赏风景和音乐,同时使心理疗法成为可能。
3 虚拟现实健身车功能简介
原有康复器械由于结构的限制,使用效果不是十分理想。首先,它们往往只是简单的动力机构或阻力机构,患者在使用时,往往是简单而单调的运动,这使得患者感到十分厌倦,使康复效果大打折扣;其次,对训练效果的评价,以及训练程度的评价都是十分滞后的,而且人为因素占有很大的成分,这些都不利于对患者的训练进行科学的指导;最后,在体育疗法和心理疗法相结合方面也有很大的欠缺,随着研究的深入及心理学的发展,心理疗法越来越受到医疗工作者的重视,心理疗法越来越多的被应用于康复医疗中,并取得了十分好的效果,但传统的器械受到技术水平的局限,还不能自动的应用心理疗法。
, 百拇医药
我们所设计的康复训练车是以自行车骑行方式来进行训练的,通过骑行方式来训练和恢复患者下肢的功能。这种康复训练车可实现以下几种不同于传统康复器械的功能。
多种运动方式的实现:阻力模拟元件采用的是电机,当电机工作于发电机方式时,可提供可调的阻力,而当电机工作于电动机方式时,可以产生动力。由于采用了这种新型的阻力模拟器,使得我们设计的康复健身车不仅可以通过加载,使患者克服阻力运动而锻炼下肢肌肉力量,而且针对下肢障碍严重或刚进行过下肢手术的患者下肢肌肉无力,不能产生动力的特点,设计了被动运动的功能,通过被动的跟随,患者的下肢肌肉得到周期性的舒张,可以保持肌肉的静态长度而不致萎缩。因此,选用电机作为阻力模拟器件可以很好地完成康复医疗所需要的四种运动方式,即:被动运动,辅助运动,主动运动和抵抗运动。而这四种训练方式也是针对不同程度、不同阶段患者而设计的,通过合理的使用这四种训练方式,患者可以循序渐进地恢复自己的肌肉力量,最终达到独立活动的能力。
智能控制的阻力模拟:通过单片机的智能控制,精细地描述和模拟人在正常骑行时的阻力分布情况,通过这种模拟,人的骑行感觉更顺畅,更平滑,并最大限度地减少了冲击和速度的波动,以保证患者训练时的舒适感。
, 百拇医药
心理治疗的实现:通过虚拟现实技术的引进,提高了患者训练时的兴趣。患者锻炼的全部过程都是在计算机的控制下完成的,患者可以通过选择不同的路径来进行不同程度的训练,患者的骑行速度和方向动作都采集入计算机,计算机根据这些信号产生不同的景物图像及音乐并播放出来,这使患者感到是在风景优美的地方进行游览。通过这些手段,放松了患者的神经,提高了患者锻炼的兴趣,进而提高患者的锻炼效果。并欣赏不同的风景和音乐,由于有计算机的参与,使得心理治疗成为现实,计算机在患者锻炼的同时,不断地采集患者的生理信号,并分析患者锻炼的效果和程度,根据患者不同的状态,给予不同的休息,如鼓励、暗示、建议等,通过这些信息,患者会及时地调整自己锻炼的方式,及时地休息,达到事半功倍的效果。
4 产生虚拟现实的关键技术
4.1 控制电路的总体结构
控制电路是康复健身车的重要组成部分,它是控制机械部件进行正常工作,实现人机交互的关键所在。
, http://www.100md.com
在样车中我们采用单片机控制,大大简化了电路,并且在样机研制阶段易于电路的改动。控制电路的整体框图如图2所示。
图2 控制电路整体框图
Fig 2 Diagram of general control system
由图中可见,控制电路可以分为三大部分:第一部分是传感器电路,包括骑行速度测量、转向测量以及人体各运动参数测量电路;第二部分是有关电机的控制电路,包括运动阻力模拟电路,电机速度控制电路,和工作方式切换电路;第三部分是单片机与外围电路、单片机与计算机的接口电路。
4.2 传感电路
实现虚拟现实系统的关键之一是高级的传感技术。在我们的系统中,需要测量患者骑行的速度,空间转向和人体的运动参数,以及对外界条件的测量,因此,在虚拟现实康复系统中,传感电路是比较重要的部分。
, 百拇医药
4.2.1 速度传感器 在速度传感器中,光电传感器有结构简单,性能稳定,测量范围大等优点,又由于光电传感为非接触式,其耐用性也很好。因此在康复健身车上采用了光电传感器来测量骑行速度。
在光电传感器的遮光盘上有两组孔,外圈孔产生测量即时速度脉冲信号,内圈每周产生一个脉冲信号,以确定患者脚蹬的位置。光电管产生的信号经过静噪和整形电路,转化为占空比稳定的两路脉冲信号,送入单片机进行信号处理,从中提取速度大小。
4.2.2 方向传感器 在测量转向的电路中,我们使用了电位计式传感器,它具有结构简单,信号强,精确度高,性能稳定,受环境影响小,容易实现任意函数关系等优点。
电位器外壳通过支架固定在固定支架上,电位器的旋转部分和摆架的主轴之间采用浮动联接,只传递扭矩,防止产生径向力。方向传感器产生的信号通过后续放大电路的处理及A/D转换,输入单片机进行信号分析和处理。
, 百拇医药
4.3 电机控制电路
康复健身车中,电机不仅是器械的动力装置,同时也是器械的阻力模拟装置。由于是用于康复医疗的医用器械,所以对电机的负载要求不高,但要求电机有很宽的调速范围和较高的电效率,另外还要求它有紧凑的结构,以适用于医疗和家用。我们使用的电机是稀土盘式直流电机,它有体积小,重量轻,能量转换效率高等优点,并且调速性能好,易于控制。
前面已经提到,用于康复医疗的虚拟现实健身车应具有主动运动和被动运动两种功能,电机控制电路也根据这两类功能来设计。
4.3.1 被动运动中的电机调速 直流电机的转速公式为:
(1)
可以看出,影响电机转速的主要因素是改变电机的外加电压,这里控制电路采用的是PWM(脉宽调制)放大器,它的基本原理是:利用大功率晶体管的开关作用,将直流电压转换为一定频率的方波电压,通过对方波脉冲宽度的控制,改变电枢的平均电压,从而调节电机的转速。
, 百拇医药
这里电机的速度控制采用双键调速电路,即分别用增速键和减速键来产生加速和减速信号,并由可逆计数器来记录代表转速大小的值,再通过PWM电路控制电机的转速。
4.3.2 主动运动中的阻力模拟 阻力模拟的原理就是使直流电机发电运行,根据直流电机的转矩公式
Tem=CmΦIa (2)
可以看出,当转矩常数Cm
一定时,电机转矩产生的阻力和电枢回路平均电流Ia成正比。控制电机回路平均电流仍然采用PWM电路。
4.3.3 电机工作方式的转换 由于电机的工作方式有电动机方式和发电机方式(分别对应于健身车的主动运动方式和被动运动方式),因此需要有专门的控制电路实现两种工作方式的转换。
, http://www.100md.com
4.4 单片机控制电器
单片机是康复健身车控制电路的核心,它是传感器与虚拟现实系统,虚拟现实系统与运动控制系统之间进行通讯的中介。在我们的康复健身车上,采用了MCS-51系列单片机。
4.4.1 系统对单片机资源的利用 在康复健身车的控制系统中,单片机主要完成以下几个功能:
.对骑行速度信号的处理。
.对使用者骑行时双腿所处角度的测量。并据此产生“一周阻力信号”。
.对“调整阻力”的测量。
.对使用者转向信号的测量,并产生转向大小的数据。
, http://www.100md.com
.与计算机的通讯,传递“路况阻力”和骑行速度、转向信号。
.阻力的数字式合成与输出。
4.4.2 单片机与PC机的通讯 在我们的系统中利用PC机作为虚拟现实产生器,它与控制电路的通讯通过单片机来完成。
单片机完成对各种物理量的测量,包括骑行速度、骑行方向等,并将这些参数传递给计算机,而计算机则利用这些参数来生成所需显示的图像信号进行显示,并根据这些参数来确定所需给使用者施加路况阻力的大小,最后传送到单片机内,并在单片机内部与其它的阻力进行合成为一,控制阻力模拟电路。
串行通讯指数据按位进行传递,其优点是传递线少,通讯距离长,特别是在控制领域内,串行通讯在计算机集散控制系统中起着重要的作用。在我们的控制系统中,使用了标准通信接口RS-232C进行异步通信。采用这种标准的接口,可以很方便的在PC机和单片机之间进行串行通信。
, http://www.100md.com
5 总 结
本装置已经初步联机调试证明能满足对康复器械的要求。本装置的运动和产生的阻力是平稳而连续的,避免了冲击的产生,不仅能产生动力,带动患者进行被动运动,而且还能产生阻力使患者克服阻力运动,进一步恢复肌肉的力量。
虚拟现实技术的引进,使患者和器械可进行交互,患者的运动可通过控制电路驱动计算机图像,图像的变化可改变患者骑行时所受阻力大小。此外,更重要的一点是虚拟现实技术使对患者进行心理治疗成为可能,患者在轻松愉快的环境中锻炼,在很大程度上增加了患者的兴趣,对改善训练效果有极大的作用。相信随着虚拟现实软件的进一步完善将会取得更好的效果。
* 自然科学基金资助项目(39370784)
参考文献
1 黄靖远,刘宏增,李海燕.“虚拟现实”康复工程前景初探.生物医学工程学杂志,1998;16(2)∶203
2 黄靖远,李海燕,凌 迪.康复用虚拟现实健身车的组成及功能.中国康复理论与实践,1998
3 汪成为,高 文,王行仁.灵境(虚拟现实)技术的理论、实现及应用.北京:清华大学出版社,1996∶61-79
(收稿:1998-05-28), http://www.100md.com
单位:(清华大学 精密仪器系,北京 100084)
关键词:虚拟现实;康复;健身车;阻力模拟
生物医学工程学杂志990413 摘要 简单地介绍了该项研究的工程背景以及康复用虚拟现实健身车的结构和所能实现的功能,并着重探讨了虚拟现实生成的关键技术。该车可以使患者根据自己的具体情况来选择适当的训练方式,集心理治疗和康复训练于一体,让患者在轻松输快的环境中锻炼,进而加快康复进程。
Some Basic Techniques of Virtual Reality Body Healthiness
Vehicles for Rehabilitation
, 百拇医药
Huang Jingyuan Liu Hongzeng Ling Di Xu Yiran Sun Qiang
(Department of Precision Instruments and Mechanism of Tsinghua University,Beijing 100084)
Abstract Some know-how techniques of virtual reality rehabilitation vehicles are discussed in this paper after a brief introduction of the application background and the structure and functions of the vehicles. This kind of vehicles can be used for psychological treatment during rehabilitation. Pateints can select different modes of physical exercises according to their individual situations, and therefore they can get rehabilitation much faster and more easily than those under the traditional treatments.
, 百拇医药
Key wrods Virtual reality Rehabilitation Body healthiness vehicle Resistance simulation
1 引 言
康复治疗旨在通过物理疗法、体育疗法、生活训练、技能训练和心理训练等多种手段,使伤残者、慢性病患者、低能畸形患者、老年人和手术后患者得到最大限度的恢复,使身体的部分功能或全部功能得到最充分的恢复,以达到最大可能的生活自理、劳动和工作能力。
我国目前每年都有数十万肢体伤残患者,他们在进行手术或药物治疗后,都需要进行康复治疗。康复医疗工作者已经在帮助患者恢复功能方面作了很多工作,但由于客观条件的限制,在康复医疗方面还有一些不尽如人意的缺憾。
对下肢伤残或下肢手术后需进行恢复的患者,最有效的康复方法是体育疗法,即通过被动运动、辅助运动、主动运动和抵抗运动尽可能恢复肌肉的运动能力。通常,这些训练工作主要是依靠理疗师和简单的器械完成,这给医疗工作者带来很大的负担,因为任何一个患者的恢复都必须由一个理疗师来辅助完成,而且训练过程单调无趣,患者总是处于被动状态,训练程度不容易被理疗师及时地了解,还不能做到将功能评测、运动疗法和心理疗法有机地结合在一起。
, http://www.100md.com
因此,我们迫切需要这样一种康复器械,它引入计算机技术,在患者训练前、训练中和训练后,对患者受损部位的功能有一个客观的评定,以帮助患者确定训练的步骤和强度,如关节活动度、训练方法、时间长短、强度大小等。这样可以实时地调整训练计划和训练强度。而且,利用计算机的优势,还可以同时对患者进行心理治疗,不断地给患者以正确的心理暗示和鼓励,并配以优美的音乐和图像,增加训练的乐趣,起到事半功倍的效果。我们目前正在研究的正是这样一种康复用虚拟现实健身车。
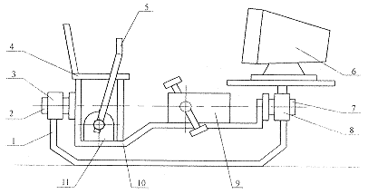
2 康复用虚拟现实健身车的结构
结构简图如图1所示
图1 康复用健身车的整体结构简图
Fig 1 Sketch of the virtual reality rehabilitation vehicle
, http://www.100md.com
其中 thereinto:1-支架 bracker;2-后轴 back shaft;3-后轴承座 back bearing;4-座椅 chair;5-操作手柄 manipulating handle;6-显示器 display;7-前轴 front bearing;8-前轴承座 front bearing;9-阻力模拟器 resistance simulator;10-摆架 swinging bracket;11-转向机构 steering mechanism
它包括四大部分:
支架部分:它是健身车的支撑部分,在其上面安装其他的部件及控制电路。它是由不锈钢管通过焊接而成的一个框架1,在其两端各有一个轴承座3和8,以安装转动座椅部分。
转动部分:为了更逼真的地模拟自由骑行时转弯时的感觉,我们设计了这个转动座椅部分,当人操作转向杆5转向时,转向杆会通过一套滑轮机构带动转动部分绕水平轴转动,用来模拟人自然骑行转弯时的身体倾斜。
, http://www.100md.com
阻力模拟部分:这是康复用健身车的核心部分,它已经被设计成一个模块,可以自由地拆卸和安装,为了适应不同身高人的使用,这部分是可以在旋转架上前后调整移动的,关于这部分的工作原理将在下一节将另行探讨。
虚拟现实产生器:通过计算机,引入虚拟现实技术,使患者在训练过程中可以选择不同的场景,产生很强的临境感和沉浸感,可以在很大程度上增加使用者的兴趣,在训练的同时可欣赏风景和音乐,同时使心理疗法成为可能。
3 虚拟现实健身车功能简介
原有康复器械由于结构的限制,使用效果不是十分理想。首先,它们往往只是简单的动力机构或阻力机构,患者在使用时,往往是简单而单调的运动,这使得患者感到十分厌倦,使康复效果大打折扣;其次,对训练效果的评价,以及训练程度的评价都是十分滞后的,而且人为因素占有很大的成分,这些都不利于对患者的训练进行科学的指导;最后,在体育疗法和心理疗法相结合方面也有很大的欠缺,随着研究的深入及心理学的发展,心理疗法越来越受到医疗工作者的重视,心理疗法越来越多的被应用于康复医疗中,并取得了十分好的效果,但传统的器械受到技术水平的局限,还不能自动的应用心理疗法。
, 百拇医药
我们所设计的康复训练车是以自行车骑行方式来进行训练的,通过骑行方式来训练和恢复患者下肢的功能。这种康复训练车可实现以下几种不同于传统康复器械的功能。
多种运动方式的实现:阻力模拟元件采用的是电机,当电机工作于发电机方式时,可提供可调的阻力,而当电机工作于电动机方式时,可以产生动力。由于采用了这种新型的阻力模拟器,使得我们设计的康复健身车不仅可以通过加载,使患者克服阻力运动而锻炼下肢肌肉力量,而且针对下肢障碍严重或刚进行过下肢手术的患者下肢肌肉无力,不能产生动力的特点,设计了被动运动的功能,通过被动的跟随,患者的下肢肌肉得到周期性的舒张,可以保持肌肉的静态长度而不致萎缩。因此,选用电机作为阻力模拟器件可以很好地完成康复医疗所需要的四种运动方式,即:被动运动,辅助运动,主动运动和抵抗运动。而这四种训练方式也是针对不同程度、不同阶段患者而设计的,通过合理的使用这四种训练方式,患者可以循序渐进地恢复自己的肌肉力量,最终达到独立活动的能力。
智能控制的阻力模拟:通过单片机的智能控制,精细地描述和模拟人在正常骑行时的阻力分布情况,通过这种模拟,人的骑行感觉更顺畅,更平滑,并最大限度地减少了冲击和速度的波动,以保证患者训练时的舒适感。
, 百拇医药
心理治疗的实现:通过虚拟现实技术的引进,提高了患者训练时的兴趣。患者锻炼的全部过程都是在计算机的控制下完成的,患者可以通过选择不同的路径来进行不同程度的训练,患者的骑行速度和方向动作都采集入计算机,计算机根据这些信号产生不同的景物图像及音乐并播放出来,这使患者感到是在风景优美的地方进行游览。通过这些手段,放松了患者的神经,提高了患者锻炼的兴趣,进而提高患者的锻炼效果。并欣赏不同的风景和音乐,由于有计算机的参与,使得心理治疗成为现实,计算机在患者锻炼的同时,不断地采集患者的生理信号,并分析患者锻炼的效果和程度,根据患者不同的状态,给予不同的休息,如鼓励、暗示、建议等,通过这些信息,患者会及时地调整自己锻炼的方式,及时地休息,达到事半功倍的效果。
4 产生虚拟现实的关键技术
4.1 控制电路的总体结构
控制电路是康复健身车的重要组成部分,它是控制机械部件进行正常工作,实现人机交互的关键所在。
, http://www.100md.com
在样车中我们采用单片机控制,大大简化了电路,并且在样机研制阶段易于电路的改动。控制电路的整体框图如图2所示。
图2 控制电路整体框图
Fig 2 Diagram of general control system
由图中可见,控制电路可以分为三大部分:第一部分是传感器电路,包括骑行速度测量、转向测量以及人体各运动参数测量电路;第二部分是有关电机的控制电路,包括运动阻力模拟电路,电机速度控制电路,和工作方式切换电路;第三部分是单片机与外围电路、单片机与计算机的接口电路。
4.2 传感电路
实现虚拟现实系统的关键之一是高级的传感技术。在我们的系统中,需要测量患者骑行的速度,空间转向和人体的运动参数,以及对外界条件的测量,因此,在虚拟现实康复系统中,传感电路是比较重要的部分。
, 百拇医药
4.2.1 速度传感器 在速度传感器中,光电传感器有结构简单,性能稳定,测量范围大等优点,又由于光电传感为非接触式,其耐用性也很好。因此在康复健身车上采用了光电传感器来测量骑行速度。
在光电传感器的遮光盘上有两组孔,外圈孔产生测量即时速度脉冲信号,内圈每周产生一个脉冲信号,以确定患者脚蹬的位置。光电管产生的信号经过静噪和整形电路,转化为占空比稳定的两路脉冲信号,送入单片机进行信号处理,从中提取速度大小。
4.2.2 方向传感器 在测量转向的电路中,我们使用了电位计式传感器,它具有结构简单,信号强,精确度高,性能稳定,受环境影响小,容易实现任意函数关系等优点。
电位器外壳通过支架固定在固定支架上,电位器的旋转部分和摆架的主轴之间采用浮动联接,只传递扭矩,防止产生径向力。方向传感器产生的信号通过后续放大电路的处理及A/D转换,输入单片机进行信号分析和处理。
, 百拇医药
4.3 电机控制电路
康复健身车中,电机不仅是器械的动力装置,同时也是器械的阻力模拟装置。由于是用于康复医疗的医用器械,所以对电机的负载要求不高,但要求电机有很宽的调速范围和较高的电效率,另外还要求它有紧凑的结构,以适用于医疗和家用。我们使用的电机是稀土盘式直流电机,它有体积小,重量轻,能量转换效率高等优点,并且调速性能好,易于控制。
前面已经提到,用于康复医疗的虚拟现实健身车应具有主动运动和被动运动两种功能,电机控制电路也根据这两类功能来设计。
4.3.1 被动运动中的电机调速 直流电机的转速公式为:
可以看出,影响电机转速的主要因素是改变电机的外加电压,这里控制电路采用的是PWM(脉宽调制)放大器,它的基本原理是:利用大功率晶体管的开关作用,将直流电压转换为一定频率的方波电压,通过对方波脉冲宽度的控制,改变电枢的平均电压,从而调节电机的转速。
, 百拇医药
这里电机的速度控制采用双键调速电路,即分别用增速键和减速键来产生加速和减速信号,并由可逆计数器来记录代表转速大小的值,再通过PWM电路控制电机的转速。
4.3.2 主动运动中的阻力模拟 阻力模拟的原理就是使直流电机发电运行,根据直流电机的转矩公式
Tem=CmΦIa (2)
可以看出,当转矩常数Cm
4.3.3 电机工作方式的转换 由于电机的工作方式有电动机方式和发电机方式(分别对应于健身车的主动运动方式和被动运动方式),因此需要有专门的控制电路实现两种工作方式的转换。
, http://www.100md.com
4.4 单片机控制电器
单片机是康复健身车控制电路的核心,它是传感器与虚拟现实系统,虚拟现实系统与运动控制系统之间进行通讯的中介。在我们的康复健身车上,采用了MCS-51系列单片机。
4.4.1 系统对单片机资源的利用 在康复健身车的控制系统中,单片机主要完成以下几个功能:
.对骑行速度信号的处理。
.对使用者骑行时双腿所处角度的测量。并据此产生“一周阻力信号”。
.对“调整阻力”的测量。
.对使用者转向信号的测量,并产生转向大小的数据。
, http://www.100md.com
.与计算机的通讯,传递“路况阻力”和骑行速度、转向信号。
.阻力的数字式合成与输出。
4.4.2 单片机与PC机的通讯 在我们的系统中利用PC机作为虚拟现实产生器,它与控制电路的通讯通过单片机来完成。
单片机完成对各种物理量的测量,包括骑行速度、骑行方向等,并将这些参数传递给计算机,而计算机则利用这些参数来生成所需显示的图像信号进行显示,并根据这些参数来确定所需给使用者施加路况阻力的大小,最后传送到单片机内,并在单片机内部与其它的阻力进行合成为一,控制阻力模拟电路。
串行通讯指数据按位进行传递,其优点是传递线少,通讯距离长,特别是在控制领域内,串行通讯在计算机集散控制系统中起着重要的作用。在我们的控制系统中,使用了标准通信接口RS-232C进行异步通信。采用这种标准的接口,可以很方便的在PC机和单片机之间进行串行通信。
, http://www.100md.com
5 总 结
本装置已经初步联机调试证明能满足对康复器械的要求。本装置的运动和产生的阻力是平稳而连续的,避免了冲击的产生,不仅能产生动力,带动患者进行被动运动,而且还能产生阻力使患者克服阻力运动,进一步恢复肌肉的力量。
虚拟现实技术的引进,使患者和器械可进行交互,患者的运动可通过控制电路驱动计算机图像,图像的变化可改变患者骑行时所受阻力大小。此外,更重要的一点是虚拟现实技术使对患者进行心理治疗成为可能,患者在轻松愉快的环境中锻炼,在很大程度上增加了患者的兴趣,对改善训练效果有极大的作用。相信随着虚拟现实软件的进一步完善将会取得更好的效果。
* 自然科学基金资助项目(39370784)
参考文献
1 黄靖远,刘宏增,李海燕.“虚拟现实”康复工程前景初探.生物医学工程学杂志,1998;16(2)∶203
2 黄靖远,李海燕,凌 迪.康复用虚拟现实健身车的组成及功能.中国康复理论与实践,1998
3 汪成为,高 文,王行仁.灵境(虚拟现实)技术的理论、实现及应用.北京:清华大学出版社,1996∶61-79
(收稿:1998-05-28), http://www.100md.com