多道生理信号的红外光遥测系统*
作者:王保华 吴冬青 陈敏莲
单位:上海大学 (201800)
关键词:红外光遥测;生理信号;多通道
中国医疗器械杂志990103 提要 介绍一种用于体温、呼吸和心电测量的多道红外光遥测系统,并给出实验结果。该多道遥测系统可应用在诸如电外科手术等强电磁干扰的环境下,作为患者监护的重要手段。
A Multichannel Infrared Telemetry System
for Physiological Signal
Wang Baohua Wu Dongqing Chen Minlian
Shanghai University
, http://www.100md.com
ABSTRACT This paper introduces the multichannel infrared telemetry system for temperature, respiration and ECG measurements. The experimental results are given at the end of the paper. This infrared telemetry system can be used in the environment with high electromagnetic interference, such as the operating room with electrosurgical unit and become an important monitor device.
KEY WORDS Infrared telemetry Physiological signals Multichannel
, 百拇医药
由于医院已普遍开展高频电外科手术,手术室等诊疗科室中各类诊断与监护仪器业已暴露在大幅度、宽频带(0.5Hz~3MHz)的电磁干扰之下,许多电子诊疗仪器,例如监护仪、无线电遥测装置,虽采用各类抗干扰措施,但难以抵御这一类干扰的侵袭,而无法正常工作。采用红外光作为传输媒介具有很高的抗电磁干扰的能力,因为红外光波段远离各类电磁干扰的频谱。80年代起世界各国纷纷开始了采用红外光的远距离传送技术,并开始应用于生物医学遥测,包括光遥测监护及植入系统的经皮遥测。
1 三道生理信号红外光遥测系统
图1是典型的三道(心电、体温、呼吸)红外光遥测系统的示意框图。系统采用时分复用技术(TDM)及PPM调制-解调技术。
图1 三道红外光遥测系统示意框图
, 百拇医药
1.1 心电前置放大:
系统采用三运算放大器构成的同相差动放大器作为心电前置放大级,该放大器的增益是750倍,在4mV的心电信号输入时,有3V的最大输出幅度。适当地选择集成运放(采用集成四运算放大器LM324)和保证电路的对称性,电路就能很容易做到大于80dB的共模抑制比。带通滤波器的带宽(3dB)为0.03Hz~48Hz。
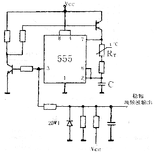
图2 555振荡电路用作体温-频率变换
1.2 体温测量
采用温度-频率变换来实现体温的测量,图2给出了采用555振荡电路的温度-频率变换电路,该电路的振荡频率f为:
, 百拇医药
式中RT为负温度系数(NTC)热敏电阻。
f与RT成反比关系,有利于补偿热敏电阻的非线性,经补偿后该电路的温度-频率变换(FVC)有较好的线性。
1.3 呼吸测量
呼吸测量采用电桥检测电路,电桥的一臂接入热敏电阻作为温度传感器,该传感器置于鼻孔下端,呼吸过程中的呼吸气温的变化ΔT通过温度传感器使电桥失衡,并使输出电压产生ΔV的变化,后经差动放大器放大100倍以上,最大输出电压可至3V。
1.4 多路PPM调制器
PPM调制器的框图如图3所示,电路通过信号S(t)与锯齿波(斜波信号)比较后产生脉冲宽度调制PDM信号,然后通过单稳态电路取出PDM信号的下降沿(边沿检测)后,形成脉冲位置调制PPM信号。多路信号通过多路开关顺次进入比较器,输出n路信号后再送出一个帧同步信号。该系统的主振频率为2kHz,传送三个生理信号加上一个同步信号,因此系统对信号的采样频率为500Hz.PPM信号的脉冲宽度为1.5μs,信号的平均占空比为0.6%。
, 百拇医药
图3 PPM调制器框图
1.5 红外光发射电路
PPM信号经缓冲放大器组成的红外发光管的推动电路后,发光二极管发出PPM信号调制的光脉冲,红外发光二极管IR-LED的瞬时驱动电流为IA,IR-LED的瞬时输出功率达Ps=50mW,由于信号的平均占空比只有0.6%,因此该IR-LED的平均功耗只有7.2mW,为了提高红外光的传送距离,通常IR-LED加接聚光(凸)透镜。
1.6 红外光接收/光电变换、放大电路
在接收端,通过红外光敏管GDK302与晶体管组成的接收/变换和放大电路将光信号变换成PPM电信号,在放大器中设有自动增益控制电路,以增大接收机的动态范围,为了抑制低频的环境光干扰,加接低端截止频率为3kHz的高通滤波器。
1.7 多道信号分配与解调器
, 百拇医药
在接收机中,通过PPM/PDM变换电路将PPM信号恢复成为PDM信号,并通过多路分配器分离出ECG、体温和呼吸信号。然后采用二阶低通滤波器(高端截止频率为48Hz和1Hz)分别平滑ECG和呼吸信号。用锁相环路构成的频率-电压解调器解调出体温信号。
1.8 基准信号的传送
发送端的基准信号通过调频通道(体温通道)来传送,将发送端555输出端的恒定幅度,作为系统的基准电压,也就是说,基准电压信息反映在体温调频波的幅值上,因而在接收端采用精密整流电路可检出该幅值,并用一低通滤波器平滑后恢复基准信号电压Vs。
2 实验结果
图4给出了该三路生理信息通过红外光传输后的结果。心电信号和呼吸信号的波形都正确反映了心电与呼吸信息,可通过计算机处理后提取更多的二次信息(心率、心律失常、呼吸率等)。图中给出了体温(℃)与输出电压V(V)的关系曲线,该曲线可表达为V=0.47t-11.33(V),在36~39℃间的测温精度为0.1℃,在25~36℃及39~42℃间的测温精度在0.2℃,可满足临床的要求。直线遥测距离为5m,加透镜后可达10m。还可采用串接多个红外发光二极管提高发光强度,在接收端将多个光敏器件并联提高受光面积,从而提高接收灵敏度等方法提高系统的遥测距离。

, 百拇医药
图4 三路生理参数传输结果
* 本研究受国家自然科学基金39270220及39570215资助
参 考 文 献
1. Wang Baohua et al. The Infrared Telemetry of Mulichannel Phsiological Signals, IEEE/EMBS 1992,Paris France.
2. 王保华.生物医学中的遥测技术,科学出版社,1989.
3. K. Bretz. Muli-channel Biotelemetry system Using Infrared Signal Transmission. Proc, 7th,International Symposium on Biotelemetry,1982.
4. David. J. Edell. et al:Tomorrow's Implantable Electronic System, Proc,IEEE/EMBS, 1996.
5. Nobukikudo et al:Fundmental Study on Transcutaneous Bioteletry Using Diffused Light, Froniers Med. Bio. Eng. 1988(1):1,19-28.
(1998年7月17日收稿), 百拇医药
单位:上海大学 (201800)
关键词:红外光遥测;生理信号;多通道
中国医疗器械杂志990103 提要 介绍一种用于体温、呼吸和心电测量的多道红外光遥测系统,并给出实验结果。该多道遥测系统可应用在诸如电外科手术等强电磁干扰的环境下,作为患者监护的重要手段。
A Multichannel Infrared Telemetry System
for Physiological Signal
Wang Baohua Wu Dongqing Chen Minlian
Shanghai University
, http://www.100md.com
ABSTRACT This paper introduces the multichannel infrared telemetry system for temperature, respiration and ECG measurements. The experimental results are given at the end of the paper. This infrared telemetry system can be used in the environment with high electromagnetic interference, such as the operating room with electrosurgical unit and become an important monitor device.
KEY WORDS Infrared telemetry Physiological signals Multichannel
, 百拇医药
由于医院已普遍开展高频电外科手术,手术室等诊疗科室中各类诊断与监护仪器业已暴露在大幅度、宽频带(0.5Hz~3MHz)的电磁干扰之下,许多电子诊疗仪器,例如监护仪、无线电遥测装置,虽采用各类抗干扰措施,但难以抵御这一类干扰的侵袭,而无法正常工作。采用红外光作为传输媒介具有很高的抗电磁干扰的能力,因为红外光波段远离各类电磁干扰的频谱。80年代起世界各国纷纷开始了采用红外光的远距离传送技术,并开始应用于生物医学遥测,包括光遥测监护及植入系统的经皮遥测。
1 三道生理信号红外光遥测系统
图1是典型的三道(心电、体温、呼吸)红外光遥测系统的示意框图。系统采用时分复用技术(TDM)及PPM调制-解调技术。
图1 三道红外光遥测系统示意框图
, 百拇医药
1.1 心电前置放大:
系统采用三运算放大器构成的同相差动放大器作为心电前置放大级,该放大器的增益是750倍,在4mV的心电信号输入时,有3V的最大输出幅度。适当地选择集成运放(采用集成四运算放大器LM324)和保证电路的对称性,电路就能很容易做到大于80dB的共模抑制比。带通滤波器的带宽(3dB)为0.03Hz~48Hz。
图2 555振荡电路用作体温-频率变换
1.2 体温测量
采用温度-频率变换来实现体温的测量,图2给出了采用555振荡电路的温度-频率变换电路,该电路的振荡频率f为:
, 百拇医药
式中RT为负温度系数(NTC)热敏电阻。
f与RT成反比关系,有利于补偿热敏电阻的非线性,经补偿后该电路的温度-频率变换(FVC)有较好的线性。
1.3 呼吸测量
呼吸测量采用电桥检测电路,电桥的一臂接入热敏电阻作为温度传感器,该传感器置于鼻孔下端,呼吸过程中的呼吸气温的变化ΔT通过温度传感器使电桥失衡,并使输出电压产生ΔV的变化,后经差动放大器放大100倍以上,最大输出电压可至3V。
1.4 多路PPM调制器
PPM调制器的框图如图3所示,电路通过信号S(t)与锯齿波(斜波信号)比较后产生脉冲宽度调制PDM信号,然后通过单稳态电路取出PDM信号的下降沿(边沿检测)后,形成脉冲位置调制PPM信号。多路信号通过多路开关顺次进入比较器,输出n路信号后再送出一个帧同步信号。该系统的主振频率为2kHz,传送三个生理信号加上一个同步信号,因此系统对信号的采样频率为500Hz.PPM信号的脉冲宽度为1.5μs,信号的平均占空比为0.6%。
, 百拇医药
图3 PPM调制器框图
1.5 红外光发射电路
PPM信号经缓冲放大器组成的红外发光管的推动电路后,发光二极管发出PPM信号调制的光脉冲,红外发光二极管IR-LED的瞬时驱动电流为IA,IR-LED的瞬时输出功率达Ps=50mW,由于信号的平均占空比只有0.6%,因此该IR-LED的平均功耗只有7.2mW,为了提高红外光的传送距离,通常IR-LED加接聚光(凸)透镜。
1.6 红外光接收/光电变换、放大电路
在接收端,通过红外光敏管GDK302与晶体管组成的接收/变换和放大电路将光信号变换成PPM电信号,在放大器中设有自动增益控制电路,以增大接收机的动态范围,为了抑制低频的环境光干扰,加接低端截止频率为3kHz的高通滤波器。
1.7 多道信号分配与解调器
, 百拇医药
在接收机中,通过PPM/PDM变换电路将PPM信号恢复成为PDM信号,并通过多路分配器分离出ECG、体温和呼吸信号。然后采用二阶低通滤波器(高端截止频率为48Hz和1Hz)分别平滑ECG和呼吸信号。用锁相环路构成的频率-电压解调器解调出体温信号。
1.8 基准信号的传送
发送端的基准信号通过调频通道(体温通道)来传送,将发送端555输出端的恒定幅度,作为系统的基准电压,也就是说,基准电压信息反映在体温调频波的幅值上,因而在接收端采用精密整流电路可检出该幅值,并用一低通滤波器平滑后恢复基准信号电压Vs。
2 实验结果
图4给出了该三路生理信息通过红外光传输后的结果。心电信号和呼吸信号的波形都正确反映了心电与呼吸信息,可通过计算机处理后提取更多的二次信息(心率、心律失常、呼吸率等)。图中给出了体温(℃)与输出电压V(V)的关系曲线,该曲线可表达为V=0.47t-11.33(V),在36~39℃间的测温精度为0.1℃,在25~36℃及39~42℃间的测温精度在0.2℃,可满足临床的要求。直线遥测距离为5m,加透镜后可达10m。还可采用串接多个红外发光二极管提高发光强度,在接收端将多个光敏器件并联提高受光面积,从而提高接收灵敏度等方法提高系统的遥测距离。
, 百拇医药
图4 三路生理参数传输结果
* 本研究受国家自然科学基金39270220及39570215资助
参 考 文 献
1. Wang Baohua et al. The Infrared Telemetry of Mulichannel Phsiological Signals, IEEE/EMBS 1992,Paris France.
2. 王保华.生物医学中的遥测技术,科学出版社,1989.
3. K. Bretz. Muli-channel Biotelemetry system Using Infrared Signal Transmission. Proc, 7th,International Symposium on Biotelemetry,1982.
4. David. J. Edell. et al:Tomorrow's Implantable Electronic System, Proc,IEEE/EMBS, 1996.
5. Nobukikudo et al:Fundmental Study on Transcutaneous Bioteletry Using Diffused Light, Froniers Med. Bio. Eng. 1988(1):1,19-28.
(1998年7月17日收稿), 百拇医药