不同浓度右旋糖苷盐溶液对猪角膜肿胀特性影响的研究
作者:陈悦 Claus Schiott Jorgensen
单位:陈悦(450003 郑州,河南省眼科研究所);Claus Schiott Jorgensen(丹麦Aarhus大学临床实验研究所 Institute of Clinical Research,Aarh us University,Aarhus,Denmark)
关键词:猪角膜;右旋糖苷盐溶液;肿胀
眼科研究000205 摘要 目的了解不同浓度右旋糖苷等渗盐溶液对正常猪角膜肿胀特性的影响。方法采用猪眼新鲜角膜中央部组织块(5 mm×5 mm)及组织切片(50 μm)浸入不同浓度右旋糖苷盐溶液0.5,1,2,3 h。角膜组织块用电子天平在浸润前后分别称重。组织切片同连接摄像机和计算机的光学显微镜,摄取浸润前后各自图像,计算机中SigmaScan软件测量角膜宽度。平均肿胀率(重量及宽度百分比)=浸润后记录值/浸润前记录值。结果右旋糖苷盐溶液可使角膜肿胀率减少,10%溶液可显著减少角膜组织切片的肿胀。结论右旋糖苷盐溶液10%~12%显著抑制猪角膜肿胀,角膜组织切片肿胀小于组织块。比较早先的研究,猪角膜肿胀大于猴角膜。
, 百拇医药
分类号 R 772.2
The effects of varying Dextran solution concentration on the swelling
properties of porcine cornea
Chen Yue,Claus Schiott Jorgensen.
Henan Institute of Ophthalmology,Zhengzhou 450003
Abstract ObjectiveTo investigate the effect of varying concentration of Dextran T500 in isotonic saline(Dextran solution)on the swelling properties of the porcine cornea.MethodsSixteen healthy porcine eyes were used in this study.Eight fresh piece samples(5 mm×5 mm)and cornea sections(50 μm)of the central cornea were immersed in isotonic saline and various concentrations of Dextran saline solution for 0.5,1,2,3 h,respectively.The pre-and post-immersing weight was measured using an electronic balance,section was measured using a light microscope with a video camera and a PC with Sigma Scan Program.Mean swelling rate(percentage weight or section width change)was calculated using the following equation:SR=Wt/W0(SR:swelling rate;Wt:value recorded after immersing;W0:value recorded before immersing).ResultsThe mean weight of piece samples after 3 h immersing,increased to 124% in Dextran 8% and 115% in Dextran 12% solutions,respectively, while the mean weight decreased to 86% in Dextran 14% solution.In corneal section,Dextran solution<10% induced significant increases in SR.In saline,SR increased to 216% in corneal piece samples and to 179% in corneal section samples(P<0.01).ConclusionsIn porcine,the concentration of Dextran saline solution less than 12% induced significant swelling in corneal piece samples.Corneal sections swell to minor degree in Dextran 10% solution.The swelling in corneal pieces was significantly larger than that of the corneal sections.The swelling rate of cornea is significantly higher in porcine than that of in monkey as compared to previous study.
, 百拇医药
Key word sporcine cornea Dextran solution swelling
为全面了解角膜解剖和生理特性,不同种类动物角膜已被用于实验研究[1~5],但角膜生物力学特性尚不完全清楚。近来,扫描声速显微镜(scanning acoustic micr oscope,SAM)已被用于分析组织的弹性特点,提供了优于光学显微镜的研究组织弹性特性的手段[6]。然而,肿胀是影响SAM测量最重要因素之一。一些不同种动物角膜不同肿胀变化已有研究报道[1]。在进一步研究某些动物角膜如猪角膜生物力学特性时必须首先弄清该动物角膜肿胀特性。业已证实右旋糖苷能减轻角膜保存时的肿胀率[7]。本实验目的在于探讨不同浓度右旋糖苷盐溶液对新鲜猪角膜中央部组织块及组织切片肿胀特性的影响。
1 材料与方法
, http://www.100md.com 1.1 实验动物 丹麦Landrace-Y型猪,平均重75 kg。
1.2 试剂及仪器 右旋糖苷T-500粉 剂(瑞典Uppsala Pharmacia Biotech公司),电子天平(瑞典Mettler 261型),光学显微镜(德国Leitz-Dmrbe型),冷冻切片机(德国Leica GMBH),摄像机(日本JVC-ky-F55),SigmaScan软件(美国Jandel Scientific公司)。
1.3 实验 方法
全麻下摘除猪眼球16个,立即用眼科剪沿角膜缘取下角膜。选取8个角膜在中央部用眼科刀切成5 mm×5 mm组织块且一个角膜只取一个组织块。滤纸拭去表面水分,用电子天平称其重量,称重至0.01 mg,记录各自重量。分别放入盛有等渗盐溶液,8%,12%,14%右旋糖苷盐溶液的小塑料容器0.5,1,2,3 h,用镊子从溶液中取出角膜组织块,多余液体用滤纸小心拭去,组织块被再称重,记录其浸润后重量。
, 百拇医药
选取8个新鲜猪角膜用6 mm环钻切下中央部,放进盛有组织切片粘附液(Tissue-Tek)2 ml的小容器,马上将此容器放进液氮罐4 min。随后在冷冻组织切片机上纵切成50 μm切片,放进小塑料容器立即通过光镜及其连结的摄像机摄取组织切片影像。容器内分别加入等渗盐溶液,0.5%,2%,4%,6%,8%和10%右旋糖苷盐溶液。3 h后,吸去切片周围多余液体,再摄取此时切片影像。所得影像存入计算机中,选择SigmaScan软件中线段测量模式,校正后测量所有组织切片影像的宽度。每个切片从角膜上皮到内皮方向随机划7条等距离线段。每条线段的长度从计算机中自动读出。角膜平均宽度由计算机求得。
肿胀率的计算:组织块标本肿胀率=标本浸润后重量/浸润前重量。组织切片肿胀率的计算与组织块相似;浸润后的宽度/浸润前的宽度。SR=Wt/W0。
统计分析:计算各个时间点角膜重量及宽度改变的百分比并作图。配对t检验比较浸润前后重量及宽度的不同。组织块与切片的肿胀率显著不同,P<0.01。
, 百拇医药
2 结果
2.1 角膜组织块标本肿胀
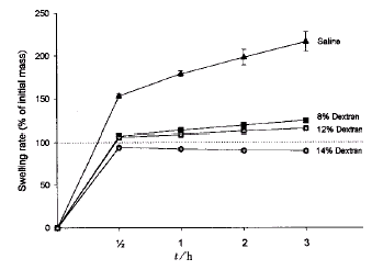
角膜组织块肿胀率显示小于12%右旋糖苷盐溶液可致组织块明显肿胀,14%使组织块不肿胀。8%时组织块肿胀率是124%,12%时肿胀率只有115%,在生理盐溶液中,肿胀率高达216%。角膜组织块浸润在右旋糖苷盐溶液中肿胀远远小于浸润于生理盐溶液。统计学上有显著差异(P<0.01)。右旋糖苷盐溶液浓度在12%~14%之间角膜组织块肿胀很小及不肿胀。
2.2 角膜组织切片肿胀
角膜组织切片在小于10%右旋糖苷盐溶液中有显著的肿胀,见图1。在10%右旋糖苷盐溶液肿胀率为115%,而在2%浓度时肿胀率为159%。在生理盐水溶液中,角膜组织切片肿胀率为179%。角膜组织块和切片在生理盐水中肿胀率显著不同(P<0.01),见图1,2。组织切片在10%右旋糖苷盐溶液中没有肿胀。
, http://www.100md.com
图1 角膜组织块在等渗盐溶液和不同浓度右旋
糖苷盐溶液中的肿胀率
[ STBZ Fig.1 Swelling rate of the corneal pieces vs time in different
concentration of Dextran solution
图2 角膜组织切片在不同浓度右旋 糖苷盐溶液中的肿胀率(
±s)
Fig.2 Swelling rate of corne a section in different concentration
, http://www.100md.com
of Dextran solution for 3 h(
±s)
3 讨论
研究角膜生物力学特性的一个重要因素是角膜的肿胀,不同种类的动物有不同的角膜肿胀率[1]。角膜组织水肿使可用于实验研究的眼角膜有限。有报道角膜基质都有相当大的吸水空间[5,7]。为了解浸润在不同溶液中角膜基质水肿的改变,以前的研究者采用不同大小的角膜组织标本[8~10]。他们注意到角膜基质形状及大小是影响角膜肿胀特性的决定因素。最近一项研究显示兔角膜浸润在组织培养液中组织块直径和肿胀能力存在一个可逆性关系[8]。但是角膜组织块和组织切片之间肿胀率究竟有何不同尚不清楚。现代影像学技术的发展已使研究角膜组织切片肿胀成为可能。本文提供一个有关猪角膜组织切片在不同浓度右旋糖苷盐溶液中肿胀率的关系的初步报告。
, http://www.100md.com
3.1 猪角膜肿胀特性不同于其它动物
马、羊、兔、狗、猿、猴和人角膜肿胀率已有描述。早在1966年,Ehlers报告来自不同种类动物的新鲜角膜在水中的肿胀率是各不相同的。类似于Ehlers的研究,本实验结果显示猪角膜在不同浓度右旋糖苷盐溶液中肿胀特性与其它动物显著不同。目前最常用的实验动物之一猪,其角膜在右旋糖苷盐溶液中肿胀与否的研究资料非常罕见。本研究提示小于12%右旋糖苷盐溶液可致猪角膜组织块显著肿胀,而文献表明猴角膜在7%右旋糖苷盐溶液中至少5 h不肿胀[1],人角膜保存液含8%右旋糖苷。猪角膜显然比人及猴角膜更易肿胀。
不同种类动物不同的肿胀率机理尚不清楚[1,5,8],然而有资料推测不同种动物具有不同类型的胶原纤维是造成不同肿胀率的原因。如猿角膜基质的结 构是明显的板层结构,而猴角膜基质呈致密的纤维束状结构。猴角膜基质的胶原结构使它和猿角膜有不同的肿胀程度。此外还发现羊及牛角膜基质中有一种未定义的结构物质决定基质板层或纤维的分离和结合[8],再者角膜组织离体实验温度(室温24~26℃)比活体温度低,可能降低内皮细胞泵功能,更容易发生水肿。但是猪角膜与其它动物肿胀率不同的真正原因有待进一步研究。
, http://www.100md.com
3.2 角膜组织块肿胀率不同于组织切片
有报道当角膜组织块较大时浸润在水中摄取水含量相对较小。但是角膜组织块和组织切片之间肿胀率有何不同未见报道。本文研究表明在相同的右旋糖苷盐溶液中角膜组织块和切片肿胀率不同,浸润3 h后,组织切片的肿胀率小于组织块。
角膜组织在低浓度右旋糖苷盐溶液中肿胀的原因可能是:(1)水通过角膜组织周边切缘自由进入角膜基质;(2)制备角膜组织块及切片时损害角膜细胞层,减弱角膜屏障及泵功能;(3)溶液介质对角膜细胞功能的影响。而角膜组织块和切片肿胀率不同的真正原因仍不清楚。
1,Ehlers N.Variations in hydration properties of the cornea.Acta Ophthalmol,1966,44∶467
2,Friedman MH,Green K.Swelling rate of corneal stroma.Exp Eye Res,1971,12∶239
, 百拇医药
3,Jue B,Maurice DM.The mechanical properties of the rabbit and human cornea.J Biomech,1986,19∶847
4,Lee D,Wilson G.Non-uniform swelling properties of the corneal stroma.Curr Eye Res,1981,1∶457
5,Medin W,Davanger M,Swelling tendency of rabbit cornea in organ culture medium.Influence of button size.Acta Ophthalmol,1988,66∶367
6,Jogensen CS,Knauss,Hager,Briggs GA.Sonography and quantitative measurements.A preliminary study of coronary artery wall topography and mechanical properties. Engineering in Medicine and biology,1996,15∶35
, 百拇医药
7,McCarry BE,Kaufman HE.Improved corneal storage,Invest Ophthalmol Vis Sci,1974,13∶165
8,Aakre BM,Doughty MJ.Influence of tissue sample dimensions on the swelling of the corneal stroma.Ophthalmic Res,1997,29∶679
9,Elliott GF,Goodfellow JM,Woolgar AE.Swelling studies of bovine corneal stroma without bounding membranes.J Physiol,1980,298∶453
10,Midelfart A.Swelling pressure in bovine cornea determined by dialysis method.Acta Ophthalmol,1987,65(2)∶153
(收稿:1999-05-13 修回:1999-10-12), 百拇医药
单位:陈悦(450003 郑州,河南省眼科研究所);Claus Schiott Jorgensen(丹麦Aarhus大学临床实验研究所 Institute of Clinical Research,Aarh us University,Aarhus,Denmark)
关键词:猪角膜;右旋糖苷盐溶液;肿胀
眼科研究000205 摘要 目的了解不同浓度右旋糖苷等渗盐溶液对正常猪角膜肿胀特性的影响。方法采用猪眼新鲜角膜中央部组织块(5 mm×5 mm)及组织切片(50 μm)浸入不同浓度右旋糖苷盐溶液0.5,1,2,3 h。角膜组织块用电子天平在浸润前后分别称重。组织切片同连接摄像机和计算机的光学显微镜,摄取浸润前后各自图像,计算机中SigmaScan软件测量角膜宽度。平均肿胀率(重量及宽度百分比)=浸润后记录值/浸润前记录值。结果右旋糖苷盐溶液可使角膜肿胀率减少,10%溶液可显著减少角膜组织切片的肿胀。结论右旋糖苷盐溶液10%~12%显著抑制猪角膜肿胀,角膜组织切片肿胀小于组织块。比较早先的研究,猪角膜肿胀大于猴角膜。
, 百拇医药
分类号 R 772.2
The effects of varying Dextran solution concentration on the swelling
properties of porcine cornea
Chen Yue,Claus Schiott Jorgensen.
Henan Institute of Ophthalmology,Zhengzhou 450003
Abstract ObjectiveTo investigate the effect of varying concentration of Dextran T500 in isotonic saline(Dextran solution)on the swelling properties of the porcine cornea.MethodsSixteen healthy porcine eyes were used in this study.Eight fresh piece samples(5 mm×5 mm)and cornea sections(50 μm)of the central cornea were immersed in isotonic saline and various concentrations of Dextran saline solution for 0.5,1,2,3 h,respectively.The pre-and post-immersing weight was measured using an electronic balance,section was measured using a light microscope with a video camera and a PC with Sigma Scan Program.Mean swelling rate(percentage weight or section width change)was calculated using the following equation:SR=Wt/W0(SR:swelling rate;Wt:value recorded after immersing;W0:value recorded before immersing).ResultsThe mean weight of piece samples after 3 h immersing,increased to 124% in Dextran 8% and 115% in Dextran 12% solutions,respectively, while the mean weight decreased to 86% in Dextran 14% solution.In corneal section,Dextran solution<10% induced significant increases in SR.In saline,SR increased to 216% in corneal piece samples and to 179% in corneal section samples(P<0.01).ConclusionsIn porcine,the concentration of Dextran saline solution less than 12% induced significant swelling in corneal piece samples.Corneal sections swell to minor degree in Dextran 10% solution.The swelling in corneal pieces was significantly larger than that of the corneal sections.The swelling rate of cornea is significantly higher in porcine than that of in monkey as compared to previous study.
, 百拇医药
Key word sporcine cornea Dextran solution swelling
为全面了解角膜解剖和生理特性,不同种类动物角膜已被用于实验研究[1~5],但角膜生物力学特性尚不完全清楚。近来,扫描声速显微镜(scanning acoustic micr oscope,SAM)已被用于分析组织的弹性特点,提供了优于光学显微镜的研究组织弹性特性的手段[6]。然而,肿胀是影响SAM测量最重要因素之一。一些不同种动物角膜不同肿胀变化已有研究报道[1]。在进一步研究某些动物角膜如猪角膜生物力学特性时必须首先弄清该动物角膜肿胀特性。业已证实右旋糖苷能减轻角膜保存时的肿胀率[7]。本实验目的在于探讨不同浓度右旋糖苷盐溶液对新鲜猪角膜中央部组织块及组织切片肿胀特性的影响。
1 材料与方法
, http://www.100md.com 1.1 实验动物 丹麦Landrace-Y型猪,平均重75 kg。
1.2 试剂及仪器 右旋糖苷T-500粉 剂(瑞典Uppsala Pharmacia Biotech公司),电子天平(瑞典Mettler 261型),光学显微镜(德国Leitz-Dmrbe型),冷冻切片机(德国Leica GMBH),摄像机(日本JVC-ky-F55),SigmaScan软件(美国Jandel Scientific公司)。
1.3 实验 方法
全麻下摘除猪眼球16个,立即用眼科剪沿角膜缘取下角膜。选取8个角膜在中央部用眼科刀切成5 mm×5 mm组织块且一个角膜只取一个组织块。滤纸拭去表面水分,用电子天平称其重量,称重至0.01 mg,记录各自重量。分别放入盛有等渗盐溶液,8%,12%,14%右旋糖苷盐溶液的小塑料容器0.5,1,2,3 h,用镊子从溶液中取出角膜组织块,多余液体用滤纸小心拭去,组织块被再称重,记录其浸润后重量。
, 百拇医药
选取8个新鲜猪角膜用6 mm环钻切下中央部,放进盛有组织切片粘附液(Tissue-Tek)2 ml的小容器,马上将此容器放进液氮罐4 min。随后在冷冻组织切片机上纵切成50 μm切片,放进小塑料容器立即通过光镜及其连结的摄像机摄取组织切片影像。容器内分别加入等渗盐溶液,0.5%,2%,4%,6%,8%和10%右旋糖苷盐溶液。3 h后,吸去切片周围多余液体,再摄取此时切片影像。所得影像存入计算机中,选择SigmaScan软件中线段测量模式,校正后测量所有组织切片影像的宽度。每个切片从角膜上皮到内皮方向随机划7条等距离线段。每条线段的长度从计算机中自动读出。角膜平均宽度由计算机求得。
肿胀率的计算:组织块标本肿胀率=标本浸润后重量/浸润前重量。组织切片肿胀率的计算与组织块相似;浸润后的宽度/浸润前的宽度。SR=Wt/W0。
统计分析:计算各个时间点角膜重量及宽度改变的百分比并作图。配对t检验比较浸润前后重量及宽度的不同。组织块与切片的肿胀率显著不同,P<0.01。
, 百拇医药
2 结果
2.1 角膜组织块标本肿胀
角膜组织块肿胀率显示小于12%右旋糖苷盐溶液可致组织块明显肿胀,14%使组织块不肿胀。8%时组织块肿胀率是124%,12%时肿胀率只有115%,在生理盐溶液中,肿胀率高达216%。角膜组织块浸润在右旋糖苷盐溶液中肿胀远远小于浸润于生理盐溶液。统计学上有显著差异(P<0.01)。右旋糖苷盐溶液浓度在12%~14%之间角膜组织块肿胀很小及不肿胀。
2.2 角膜组织切片肿胀
角膜组织切片在小于10%右旋糖苷盐溶液中有显著的肿胀,见图1。在10%右旋糖苷盐溶液肿胀率为115%,而在2%浓度时肿胀率为159%。在生理盐水溶液中,角膜组织切片肿胀率为179%。角膜组织块和切片在生理盐水中肿胀率显著不同(P<0.01),见图1,2。组织切片在10%右旋糖苷盐溶液中没有肿胀。
, http://www.100md.com
图1 角膜组织块在等渗盐溶液和不同浓度右旋
糖苷盐溶液中的肿胀率
[ STBZ Fig.1 Swelling rate of the corneal pieces vs time in different
concentration of Dextran solution
图2 角膜组织切片在不同浓度右旋 糖苷盐溶液中的肿胀率(
Fig.2 Swelling rate of corne a section in different concentration
, http://www.100md.com
of Dextran solution for 3 h(
3 讨论
研究角膜生物力学特性的一个重要因素是角膜的肿胀,不同种类的动物有不同的角膜肿胀率[1]。角膜组织水肿使可用于实验研究的眼角膜有限。有报道角膜基质都有相当大的吸水空间[5,7]。为了解浸润在不同溶液中角膜基质水肿的改变,以前的研究者采用不同大小的角膜组织标本[8~10]。他们注意到角膜基质形状及大小是影响角膜肿胀特性的决定因素。最近一项研究显示兔角膜浸润在组织培养液中组织块直径和肿胀能力存在一个可逆性关系[8]。但是角膜组织块和组织切片之间肿胀率究竟有何不同尚不清楚。现代影像学技术的发展已使研究角膜组织切片肿胀成为可能。本文提供一个有关猪角膜组织切片在不同浓度右旋糖苷盐溶液中肿胀率的关系的初步报告。
, http://www.100md.com
3.1 猪角膜肿胀特性不同于其它动物
马、羊、兔、狗、猿、猴和人角膜肿胀率已有描述。早在1966年,Ehlers报告来自不同种类动物的新鲜角膜在水中的肿胀率是各不相同的。类似于Ehlers的研究,本实验结果显示猪角膜在不同浓度右旋糖苷盐溶液中肿胀特性与其它动物显著不同。目前最常用的实验动物之一猪,其角膜在右旋糖苷盐溶液中肿胀与否的研究资料非常罕见。本研究提示小于12%右旋糖苷盐溶液可致猪角膜组织块显著肿胀,而文献表明猴角膜在7%右旋糖苷盐溶液中至少5 h不肿胀[1],人角膜保存液含8%右旋糖苷。猪角膜显然比人及猴角膜更易肿胀。
不同种类动物不同的肿胀率机理尚不清楚[1,5,8],然而有资料推测不同种动物具有不同类型的胶原纤维是造成不同肿胀率的原因。如猿角膜基质的结 构是明显的板层结构,而猴角膜基质呈致密的纤维束状结构。猴角膜基质的胶原结构使它和猿角膜有不同的肿胀程度。此外还发现羊及牛角膜基质中有一种未定义的结构物质决定基质板层或纤维的分离和结合[8],再者角膜组织离体实验温度(室温24~26℃)比活体温度低,可能降低内皮细胞泵功能,更容易发生水肿。但是猪角膜与其它动物肿胀率不同的真正原因有待进一步研究。
, http://www.100md.com
3.2 角膜组织块肿胀率不同于组织切片
有报道当角膜组织块较大时浸润在水中摄取水含量相对较小。但是角膜组织块和组织切片之间肿胀率有何不同未见报道。本文研究表明在相同的右旋糖苷盐溶液中角膜组织块和切片肿胀率不同,浸润3 h后,组织切片的肿胀率小于组织块。
角膜组织在低浓度右旋糖苷盐溶液中肿胀的原因可能是:(1)水通过角膜组织周边切缘自由进入角膜基质;(2)制备角膜组织块及切片时损害角膜细胞层,减弱角膜屏障及泵功能;(3)溶液介质对角膜细胞功能的影响。而角膜组织块和切片肿胀率不同的真正原因仍不清楚。
1,Ehlers N.Variations in hydration properties of the cornea.Acta Ophthalmol,1966,44∶467
2,Friedman MH,Green K.Swelling rate of corneal stroma.Exp Eye Res,1971,12∶239
, 百拇医药
3,Jue B,Maurice DM.The mechanical properties of the rabbit and human cornea.J Biomech,1986,19∶847
4,Lee D,Wilson G.Non-uniform swelling properties of the corneal stroma.Curr Eye Res,1981,1∶457
5,Medin W,Davanger M,Swelling tendency of rabbit cornea in organ culture medium.Influence of button size.Acta Ophthalmol,1988,66∶367
6,Jogensen CS,Knauss,Hager,Briggs GA.Sonography and quantitative measurements.A preliminary study of coronary artery wall topography and mechanical properties. Engineering in Medicine and biology,1996,15∶35
, 百拇医药
7,McCarry BE,Kaufman HE.Improved corneal storage,Invest Ophthalmol Vis Sci,1974,13∶165
8,Aakre BM,Doughty MJ.Influence of tissue sample dimensions on the swelling of the corneal stroma.Ophthalmic Res,1997,29∶679
9,Elliott GF,Goodfellow JM,Woolgar AE.Swelling studies of bovine corneal stroma without bounding membranes.J Physiol,1980,298∶453
10,Midelfart A.Swelling pressure in bovine cornea determined by dialysis method.Acta Ophthalmol,1987,65(2)∶153
(收稿:1999-05-13 修回:1999-10-12), 百拇医药