巢式聚合酶链反应和pp65抗原检测早期诊断巨细胞病毒感染
作者:周琳 蔡挺
单位:浙江大学医学院微生物教研室 杭州,310006
关键词:巨细胞病毒感染;聚合酶链反应;抗原;病毒
中华检验医学杂志000606 【摘要】 目的 比较人巨细胞病毒(HCMV)巢式聚合酶链反应(nPCR)与抗原pp65血症检测技术在活动性HCMV感染中的早期诊断价值。方法 以18例器官移植病人为研究对象,收集术后2~12周抗凝血标本,分别采用nPCR和血pp65抗原检测技术,观察两者的敏感性、相符率以及在早期诊断活动性HCMV感染中的作用。结果 18例移植病人的114份系列血标本,nPCR检测阳性97份,pp65抗原检测阳性87份,两者均阳性76份, nPCR比血pp65抗原检测更敏感,两者相符率为66%。结论 nPCR和血pp65抗原检测技术均能作为器官移植病人活动性HCMV感染早期诊断的有效手段,两者同时使用能更有效地提高诊断水平,监控疾病的发生发展。
, http://www.100md.com
Nested polymerase chain reaction assay versus pp65 antigenemia assay for early diagnosis of active human cytomegalovirus infection
ZHOU Lin CAI Ting
(Department of Microbiology, School of Medicine, Zhejiang University, Zhejiang, Hangzhou 310006, China)
【Abstract】 Objectives To establish a nested polymerase chain reaction (nPCR) assay and human cytomegalovirus (HCMV) pp65 antigenemia assay, and to compare their clinical value in early diagnosis of active HCMV infection. Methods EDTA-blood samples were collected from 18 solid organ transplant patients in 2-12 weeks after transplantation. Both nPCR and pp65 antigenemia assays were developed. The sensitivity, agreement, and early diagnostic values were evaluated. Results Among 114 blood samples taken from 18 patients, 97 samples were positive by nPCR, 87 samples were positive by pp65 antigenemia assay, and 76 samples were positive by both assays. The nPCR assay was more sensitive than the pp65 antigenemia assay. The agreement rate of the two assays was 66%.Conclusion Both nPCR assay and pp65 antigenemia assay are effective in the early diagnosis of active HCMV infection in solid organ transplant recipients. Both assays may improve the diagnosis and prognosis of diseases.
, 百拇医药
【Key words】 Cytomegalovirus infections;Polymerase chain reaction;Antigens, viral
人巨细胞病毒(HCMV)是免疫抑制状态下的器官移植病人术后感染最常见和最严重的病原之一。在感染早期进行特异性的抗病毒预防能有效地阻止致死性HCMV并发症的发生,因此,早期、敏感、特异地诊断活动性HCMV感染,已成为检测HCMV感染状况、及时给予抗病毒治疗的关键。为此,我们进行了HCMV巢式聚合酶链反应(nPCR)检测与HCMV血pp65抗原检测技术的比较研究,结果如下。
材料和方法
一、材料
1.病人及标本:以1996年3月~1998年11月在德国基尔大学临床医院 18位器官移植病人为研究对象,其中心脏移植8例、肺移植4例、心肺联合移植1例、肝移植2例、肾移植3例。所有病人均在移植术后20~80天内出现不同程度的感染症状,包括发热、白细胞减少、谷丙转氨酶增高或合并肺炎。从病人术后2周起,每周1次,至12周,共收集到114份抗凝血标本,分别用于HCMV pp65抗原检测和抽提DNA。
, 百拇医药
2.病毒和细胞:HCMV-AD169和MRC-5细胞均由基尔大学微生物病毒研究所提供。
3.引物: 根据基因库提供的HCMV Ul97基因序列,用引物设计软件自行设计内外2对引物,外引物序列为Ul97-1up:5′-CAGACATGTTTCATCACGAC-3′,Ul97-1 low:5′-GAAAGGCAACAGAGAAGGTA-3′,其基因位置分别位于1 247~1 266 bp和2 156~2 175 bp,扩增产物长度为929 bp;内引物序列为Ul97-2up: 5′-GTGTCGTGTATGCCACTTTG-3′, Ul97-2low:5′-GAAAGAACGTGGAGCGTCTG-3′,其基因位置分别位于1 347~1 366 bp和1 997~2 016 bp,扩增产物长度为670 bp。
4.试剂与仪器:血DNA抽提试剂盒购自德国Qiagen公司,PCR 缓冲液和金Taq酶(PE,美国),pp65单克隆抗体C-10、C-11 (Clonab CMV,德国)。
, 百拇医药
二、方法
1.HCMV-pp65抗原检测[1]:取5 ml依地酸抗凝血与1.5 ml葡聚糖溶液混匀后,37℃孵育20 min。以磷酸盐缓冲液(PBS,pH7.4)调细胞浓度为2×106/ml。分别取100 μl和150 μl细胞悬液于玻片,待自然干燥后,用甲醇和(或)丙酮固定。CMV-pp65抗原经碱性磷酸酶-抗碱性磷酸酶(APAAP)法染色后,阳性细胞核呈明显红染,光镜下检查pp65阳性细胞数。阳性结果为:每2×105个白细胞中pp65阳性细胞数≥5个。每2×105个白细胞中pp65阳性细胞数>80个,为高水平病毒血症;<10个时为低水平病毒血症;10~80个为中等水平病毒血症。
2.DNA提取:按试剂盒说明书,取病人血浆200 μl,抽提DNA,用于扩增HCMV目的基因。
3.HCMV-nPCR扩增:Ul97 nPCR反应体系中含4×三磷酸脱氧核糖核苷(dNTP)各200 μmol/L,Mg2+ 1.5 mmol/L,K+ 1.5 mmol/L,外引物对各0.5 pmol/μl,Taq酶1.5 IU,DNA模板5 μl,补水至50 μl。反应条件为94℃预变性10 min,94℃变性30 s,58.5℃退火35 s,72℃延伸1 min,共35个循环,最后延伸5 min。nPCR反应体系基本同上,加内引物对各0.5 nmol/ml,取普通PCR扩增产物5 μl作为模板,反应条件为94℃预变性10 min,94℃变性30 s,59℃退火30 s,72℃延伸40 s,共35个循环,最后延伸5 min。
, 百拇医药
4.PCR产物分析:第2轮反应完成后,取10 μl扩增产物,在2%的琼脂糖凝胶中电泳,溴化乙锭染色,在紫外灯下观察结果。
结果
1.nPCR法和pp65抗原检测法结果:本组收集18例移植病人术后2~12周血标本114份,经nPCR法与pp65抗原检测法表明,该18例病人均有HCMV感染,其中nPCR检测阳性97份,pp65抗原检测阳性87份,两者均阳性76份,阳性符合率为66%。nPCR检测敏感性高于pp65抗原检测,阳性结果分别为85%和76%。
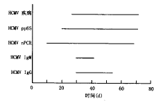
2.nPCR法和pp65抗原检测法与HCMV疾病发生的关系:观察发现,nPCR阳性可在HCMV疾病症状出现前10 d即可检出,pp65抗原阳性则在HCMV疾病症状出现前7 d可检出。表明nPCR法比pp65抗原检测法能更早诊断HCMV疾病。
3.pp65抗原水平与 HCMV疾病症状关系: 87份pp65抗原阳性标本中,抗原血症呈高水平者31份,中水平者36份,低水平者20份。纵观病人pp65抗原水平与 HCMV疾病症状,可见抗原血症呈高水平时,病人有明显临床症状;反之,抗原血症低水平时,病人临床症状轻微或无明显症状。感染初期及恢复期,抗原血症水平低;发生进行性HCMV疾病,抗原水平迅速上升(图1)。
, 百拇医药
图1 HCMV病程与nPCR、pp65抗原及抗体阳性结果时间分布
讨论
长期以来,HCMV的检测沿用病毒分离和血清学方法,但病毒分离费时费力,不能为临床提供早期诊断,而血清学诊断方法只是为HCMV感染提供间接证据。HCMVpp65抗原血症检测是近年来发展起来的一种快速、简便的方法。pp65是HCMV晚期结构抗原。Grefte等[2]应用单克隆抗体C10/C11和AAC10研究外周血白细胞中的HCMV,发现pp65抗原是活动性HCMV感染时外周血白细胞中出现的主要抗原。本结果显示,pp65抗原阳性与HCMV疾病发生高度相关,且在HCMV疾病临床症状出现前7 d即可测得阳性;此外,尚可通过对pp65抗原阳性细胞数的动态观察,监测HCMV疾病的发生发展。
巢式PCR因其快速、简便、敏感、特异等特点,成为目前检测HCMV感染的重要实验室手段[3]。我们用nPCR方法检测病人HCMV,发现nPCR法比pp65抗原检测法更敏感,且在HCMV疾病症状出现前10 d即可检出,这表明nPCR法比pp65抗原检测法能更早期地诊断HCMV疾病。需要提出的是,由于PCR检测技术的高敏感性,人们对应用PCR作为诊断活动性HCMV疾病的指标一直争论不休[4,5]。而本实验中,当nPCR检测出现阳性后,病人也随即出现HCMV临床症状,nPCR检测阳性和病人出现临床症状高度相符,故我们认为,nPCR技术可作为活动性HCMV感染的早期诊断方法,尤其适用于那些因白细胞过少而难以行抗原血症检测的病人。
, http://www.100md.com
志谢:本工作在德国基尔大学微生物研究所完成,得到该所Rautenberg和T.Harder博士的热情指导和帮助
参考文献
1,Rautenberg P, Fischer L, Tonnies R, et al. Evaluation of a novel immunoglobin a capture enzyme immunoassay for diagnosis of cytomegalovirus infection in renal and heart transplant recipients. Eur J Clin Microbiol Infect Dis, 1997, 16:653-659.
2,Grefte JMM, van der Gun BTF, Schmolke S, et al. The low matrix protein pp65 is the principal viral antigen present in peripheral blood leukocytes during an active cytomegalovirus infection. J Gen Virol, 1992, 73:2923-2932.
, 百拇医药
3,潘存梅,尚世强,洪文澜,等. 套式聚合酶链反应检测巨细胞病毒的初步研究. 中华医学检验杂志,1998,21:136-138.
4,Rowley AH, Wolinsky SW, Sambol SP, et al. Rapid detection of cytomegalovirus DNA or RNA in blood of renal transplant patients by invitro enzymatic amplification. Transplantstion, 1991k, 51:1028-1030.
5,Schafer P, Tenschert W, Cremaschi L, et al. Utility of major leukocyte subpopulations for monitoring secondary cytomegalovirus infections in renal allograft recipients by PCR. J Clin Microbiol, 1998, 36:1008-1014.
(收稿日期:2000-04-04), http://www.100md.com
单位:浙江大学医学院微生物教研室 杭州,310006
关键词:巨细胞病毒感染;聚合酶链反应;抗原;病毒
中华检验医学杂志000606 【摘要】 目的 比较人巨细胞病毒(HCMV)巢式聚合酶链反应(nPCR)与抗原pp65血症检测技术在活动性HCMV感染中的早期诊断价值。方法 以18例器官移植病人为研究对象,收集术后2~12周抗凝血标本,分别采用nPCR和血pp65抗原检测技术,观察两者的敏感性、相符率以及在早期诊断活动性HCMV感染中的作用。结果 18例移植病人的114份系列血标本,nPCR检测阳性97份,pp65抗原检测阳性87份,两者均阳性76份, nPCR比血pp65抗原检测更敏感,两者相符率为66%。结论 nPCR和血pp65抗原检测技术均能作为器官移植病人活动性HCMV感染早期诊断的有效手段,两者同时使用能更有效地提高诊断水平,监控疾病的发生发展。
, http://www.100md.com
Nested polymerase chain reaction assay versus pp65 antigenemia assay for early diagnosis of active human cytomegalovirus infection
ZHOU Lin CAI Ting
(Department of Microbiology, School of Medicine, Zhejiang University, Zhejiang, Hangzhou 310006, China)
【Abstract】 Objectives To establish a nested polymerase chain reaction (nPCR) assay and human cytomegalovirus (HCMV) pp65 antigenemia assay, and to compare their clinical value in early diagnosis of active HCMV infection. Methods EDTA-blood samples were collected from 18 solid organ transplant patients in 2-12 weeks after transplantation. Both nPCR and pp65 antigenemia assays were developed. The sensitivity, agreement, and early diagnostic values were evaluated. Results Among 114 blood samples taken from 18 patients, 97 samples were positive by nPCR, 87 samples were positive by pp65 antigenemia assay, and 76 samples were positive by both assays. The nPCR assay was more sensitive than the pp65 antigenemia assay. The agreement rate of the two assays was 66%.Conclusion Both nPCR assay and pp65 antigenemia assay are effective in the early diagnosis of active HCMV infection in solid organ transplant recipients. Both assays may improve the diagnosis and prognosis of diseases.
, 百拇医药
【Key words】 Cytomegalovirus infections;Polymerase chain reaction;Antigens, viral
人巨细胞病毒(HCMV)是免疫抑制状态下的器官移植病人术后感染最常见和最严重的病原之一。在感染早期进行特异性的抗病毒预防能有效地阻止致死性HCMV并发症的发生,因此,早期、敏感、特异地诊断活动性HCMV感染,已成为检测HCMV感染状况、及时给予抗病毒治疗的关键。为此,我们进行了HCMV巢式聚合酶链反应(nPCR)检测与HCMV血pp65抗原检测技术的比较研究,结果如下。
材料和方法
一、材料
1.病人及标本:以1996年3月~1998年11月在德国基尔大学临床医院 18位器官移植病人为研究对象,其中心脏移植8例、肺移植4例、心肺联合移植1例、肝移植2例、肾移植3例。所有病人均在移植术后20~80天内出现不同程度的感染症状,包括发热、白细胞减少、谷丙转氨酶增高或合并肺炎。从病人术后2周起,每周1次,至12周,共收集到114份抗凝血标本,分别用于HCMV pp65抗原检测和抽提DNA。
, 百拇医药
2.病毒和细胞:HCMV-AD169和MRC-5细胞均由基尔大学微生物病毒研究所提供。
3.引物: 根据基因库提供的HCMV Ul97基因序列,用引物设计软件自行设计内外2对引物,外引物序列为Ul97-1up:5′-CAGACATGTTTCATCACGAC-3′,Ul97-1 low:5′-GAAAGGCAACAGAGAAGGTA-3′,其基因位置分别位于1 247~1 266 bp和2 156~2 175 bp,扩增产物长度为929 bp;内引物序列为Ul97-2up: 5′-GTGTCGTGTATGCCACTTTG-3′, Ul97-2low:5′-GAAAGAACGTGGAGCGTCTG-3′,其基因位置分别位于1 347~1 366 bp和1 997~2 016 bp,扩增产物长度为670 bp。
4.试剂与仪器:血DNA抽提试剂盒购自德国Qiagen公司,PCR 缓冲液和金Taq酶(PE,美国),pp65单克隆抗体C-10、C-11 (Clonab CMV,德国)。
, 百拇医药
二、方法
1.HCMV-pp65抗原检测[1]:取5 ml依地酸抗凝血与1.5 ml葡聚糖溶液混匀后,37℃孵育20 min。以磷酸盐缓冲液(PBS,pH7.4)调细胞浓度为2×106/ml。分别取100 μl和150 μl细胞悬液于玻片,待自然干燥后,用甲醇和(或)丙酮固定。CMV-pp65抗原经碱性磷酸酶-抗碱性磷酸酶(APAAP)法染色后,阳性细胞核呈明显红染,光镜下检查pp65阳性细胞数。阳性结果为:每2×105个白细胞中pp65阳性细胞数≥5个。每2×105个白细胞中pp65阳性细胞数>80个,为高水平病毒血症;<10个时为低水平病毒血症;10~80个为中等水平病毒血症。
2.DNA提取:按试剂盒说明书,取病人血浆200 μl,抽提DNA,用于扩增HCMV目的基因。
3.HCMV-nPCR扩增:Ul97 nPCR反应体系中含4×三磷酸脱氧核糖核苷(dNTP)各200 μmol/L,Mg2+ 1.5 mmol/L,K+ 1.5 mmol/L,外引物对各0.5 pmol/μl,Taq酶1.5 IU,DNA模板5 μl,补水至50 μl。反应条件为94℃预变性10 min,94℃变性30 s,58.5℃退火35 s,72℃延伸1 min,共35个循环,最后延伸5 min。nPCR反应体系基本同上,加内引物对各0.5 nmol/ml,取普通PCR扩增产物5 μl作为模板,反应条件为94℃预变性10 min,94℃变性30 s,59℃退火30 s,72℃延伸40 s,共35个循环,最后延伸5 min。
, 百拇医药
4.PCR产物分析:第2轮反应完成后,取10 μl扩增产物,在2%的琼脂糖凝胶中电泳,溴化乙锭染色,在紫外灯下观察结果。
结果
1.nPCR法和pp65抗原检测法结果:本组收集18例移植病人术后2~12周血标本114份,经nPCR法与pp65抗原检测法表明,该18例病人均有HCMV感染,其中nPCR检测阳性97份,pp65抗原检测阳性87份,两者均阳性76份,阳性符合率为66%。nPCR检测敏感性高于pp65抗原检测,阳性结果分别为85%和76%。
2.nPCR法和pp65抗原检测法与HCMV疾病发生的关系:观察发现,nPCR阳性可在HCMV疾病症状出现前10 d即可检出,pp65抗原阳性则在HCMV疾病症状出现前7 d可检出。表明nPCR法比pp65抗原检测法能更早诊断HCMV疾病。
3.pp65抗原水平与 HCMV疾病症状关系: 87份pp65抗原阳性标本中,抗原血症呈高水平者31份,中水平者36份,低水平者20份。纵观病人pp65抗原水平与 HCMV疾病症状,可见抗原血症呈高水平时,病人有明显临床症状;反之,抗原血症低水平时,病人临床症状轻微或无明显症状。感染初期及恢复期,抗原血症水平低;发生进行性HCMV疾病,抗原水平迅速上升(图1)。
, 百拇医药
图1 HCMV病程与nPCR、pp65抗原及抗体阳性结果时间分布
讨论
长期以来,HCMV的检测沿用病毒分离和血清学方法,但病毒分离费时费力,不能为临床提供早期诊断,而血清学诊断方法只是为HCMV感染提供间接证据。HCMVpp65抗原血症检测是近年来发展起来的一种快速、简便的方法。pp65是HCMV晚期结构抗原。Grefte等[2]应用单克隆抗体C10/C11和AAC10研究外周血白细胞中的HCMV,发现pp65抗原是活动性HCMV感染时外周血白细胞中出现的主要抗原。本结果显示,pp65抗原阳性与HCMV疾病发生高度相关,且在HCMV疾病临床症状出现前7 d即可测得阳性;此外,尚可通过对pp65抗原阳性细胞数的动态观察,监测HCMV疾病的发生发展。
巢式PCR因其快速、简便、敏感、特异等特点,成为目前检测HCMV感染的重要实验室手段[3]。我们用nPCR方法检测病人HCMV,发现nPCR法比pp65抗原检测法更敏感,且在HCMV疾病症状出现前10 d即可检出,这表明nPCR法比pp65抗原检测法能更早期地诊断HCMV疾病。需要提出的是,由于PCR检测技术的高敏感性,人们对应用PCR作为诊断活动性HCMV疾病的指标一直争论不休[4,5]。而本实验中,当nPCR检测出现阳性后,病人也随即出现HCMV临床症状,nPCR检测阳性和病人出现临床症状高度相符,故我们认为,nPCR技术可作为活动性HCMV感染的早期诊断方法,尤其适用于那些因白细胞过少而难以行抗原血症检测的病人。
, http://www.100md.com
志谢:本工作在德国基尔大学微生物研究所完成,得到该所Rautenberg和T.Harder博士的热情指导和帮助
参考文献
1,Rautenberg P, Fischer L, Tonnies R, et al. Evaluation of a novel immunoglobin a capture enzyme immunoassay for diagnosis of cytomegalovirus infection in renal and heart transplant recipients. Eur J Clin Microbiol Infect Dis, 1997, 16:653-659.
2,Grefte JMM, van der Gun BTF, Schmolke S, et al. The low matrix protein pp65 is the principal viral antigen present in peripheral blood leukocytes during an active cytomegalovirus infection. J Gen Virol, 1992, 73:2923-2932.
, 百拇医药
3,潘存梅,尚世强,洪文澜,等. 套式聚合酶链反应检测巨细胞病毒的初步研究. 中华医学检验杂志,1998,21:136-138.
4,Rowley AH, Wolinsky SW, Sambol SP, et al. Rapid detection of cytomegalovirus DNA or RNA in blood of renal transplant patients by invitro enzymatic amplification. Transplantstion, 1991k, 51:1028-1030.
5,Schafer P, Tenschert W, Cremaschi L, et al. Utility of major leukocyte subpopulations for monitoring secondary cytomegalovirus infections in renal allograft recipients by PCR. J Clin Microbiol, 1998, 36:1008-1014.
(收稿日期:2000-04-04), http://www.100md.com