偏最小二乘法同时测复方痤疮霜三组分的含量
http://www.100md.com
37c医学网
作者:萧溶
单位:萧溶(水城钢铁集团公司总医院 六盘水 553028)
关键词:分光光度法;甲硝唑;氯霉素;吡多辛
贵阳医学院学报000155 中国图书馆分类法分类号 R927.2
复方痤疮霜是由甲硝唑、氯霉素、维生素B6、硬脂酸、硬石蜡、液体石蜡、白凡士林、三乙醇胺、单硬脂酸甘油酯、甘油、羟苯乙酯等组成的复方外用制剂,不能用常规的分光光度法测定其含量。在光度分析领域,借助于化学计量学原理和计算机实现多组分混合物的同时测定,既克服了某些分析方法选择性差之虞,又能节省试剂,提高分析速度。1997年8~11月,作者采用偏最小二乘法(PLS)[1,2],不经分离同时测定复方痤疮霜中甲硝唑、氯霉素及维生素B6的含量,结果满意。
, http://www.100md.com
1 材料及方法
1.1 仪器、药品及试剂 7541型紫外可见分光光度计(上海分析仪器厂);AST Bravo 3/33S微机,Epson LQ—1600K打印机,SP600六笔绘图仪;计算机同时多成份光谱定量分析软件包(SPQA)清华大学化学系);甲硝唑、氯霉素、维生素B6、羟苯乙酯及若干辅料(中国药典规格);无水乙醇、盐酸、醋酸钠、冰醋酸均为分析纯。复方痤疮霜为我院自制。
1.2 方法原理 设有m个混合样溶液,各样由n个组分组成,在l个波长点测定其吸收度,则可得吸收度矩阵Al×m=Tl×aPa×m+E。其中T为载荷矩阵,P为因子矩阵,E是系统模型不能解释的随机误差矩阵。同样地,浓度矩阵C也可分解:Cm×n=Um×aVa×n+F。
, 百拇医药 从上面两式可知,由A阵得到的T阵和由C阵得到的U阵,代表了除去大部分噪声后的吸收度和浓度信息。由于C与A之间由朗伯-比尔定律确立了线性关系,因此C的载荷矩阵和A的载荷矩阵之间也有线性关系:Ul×a=Tl×aDa×a。D为对角矩阵,代表了U和T之间的内部关系,通常由校准模型可确定P、V、D和a。
在预报阶段,若测得l′个已知样品的吸收度阵Al′×m,则从Al′×m=Tl′×aBa×m确定Tl′×a,然后由Ul′×a=Tl′×aDa×a求出C的载荷矩阵U,再根据Cl′×n=Ul′×aVa×n得到未知样品的浓度阵C。
2 实验部分
, 百拇医药
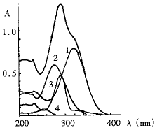
2.1 紫外吸收光谱的绘制及稳定性考察 精密称取甲硝唑0.15 g,氯霉素0.20 g,维生素B60.12 g,其余附加剂及辅料依处方比例精密称取,分别置烧怀中,加酸性乙醇(取无水乙醇1 000 ml,加0.01 mol/L盐酸5 ml,混匀即可)适量溶解,移入100 ml量瓶中,用醋酸钠缓冲液(pH3.6)稀释至刻度,得对照液。各取适量用缓冲液释至适宜浓度,在200~400 nm范围内进行扫描,紫外吸收光谱见图1。结果表明各单组分至少在10 d,合成液在24 h内是稳定的。
图1 紫外-可见吸收光谱图
Fig.1 Uv-vis absorption spectrum
2.2 回收率试验 校准样品液的配制:取上述对照液适量,浓度在±20%范围内(甲硝唑:7.20,9.00,10.80 mg/L;氯霉素:9.60,12.00,14.40 mg/L;维生素B6:5.76,7.20,8.64 mg/L),按正交设计法[3],以L9(34)表组合配制成9份校准样品液,备用;模拟样品液的配制:取上述对照液适量,浓度在±20%范围内(甲硝唑:7.20,7.80,8.40,9.00,9.60,10.20,10.80 mg/L;氯霉素:9.60,10.40,11.20,12.00,12.80,13.60,14.40 mg/L;维生素B6:5.76,6.24,6.72,7.20,7.68,8.16,8.64 mg/L),依处方比例配制成7份模拟样品液,备用;操作测定:以上校准样品液和模拟样品液分别以醋酸钠缓冲液为空白,在7541紫外可见分光光度计上扫描(200~400 nm),并通过与光度计联机的微机采集260~330 nm之间,间隔2 nm的吸收度,每一样品计36个数据。将校准样品的浓度数据和吸收度值,以及模拟样品的吸收度值,采用DOS6.21中的Edit编辑成数据文件C1、A1和T0,以SPQA软件包进行数据处理,LQ1600K打印出各模拟样品各组分实测值。计算出回收率及相对标准偏差(RSD),见表1。
, 百拇医药
表1 回收率试验结果(mg/ L)
Tab.1 Results of recovery rate test(mg/ L) 组分
sm1
sm2
sm3
sm4
sm5
sm6
sm7
平均回收率(%)
RSD(%)
甲硝唑
, 百拇医药
加入浓度
7.200 0
7.800 0
8.400 0
9.000 0
9.600 0
10.200 0
10.800 0
测得浓度
7.192 5
7.809 1
8.484 8
, 百拇医药
8.990 8
9.625 2
10.124 2
10.772 2
回收率(%)
99.90
100.12
101.01
99.90
100.26
99.26
99.74
, http://www.100md.com
100.03
0.50
氯霉素
加入浓度
9.600 0
10.400 0
11.200 0
12.000 0
12.800 0
13.600 0
14.400 0
测得浓度
, http://www.100md.com
9.565 4
10.259 9
11.499 3
12.233 0
13.128 7
13.789 6
14.827 6
回收率(%)
99.64
98.65
102.67
101.94
, 百拇医药
102.57
101.39
102.97
101.40
1.53
维生素B6
加入浓度
5.760 0
6.240 0
6.720 0
7.200 0
7.680 0
, http://www.100md.com
8.160 0
8.640 0
测得浓度
5.769 4
6.327 2
6.774 0
7.216 7
7.711 8
8.201 7
8.664 3
回收率(%)
100.16
, 百拇医药
101.40
100.80
100.23
100.41
100.51
100.28
100.54
0.40
2.3 样品的测定 称取复方痤疮霜0.6 g(约相当于甲硝唑9.0 mg、氯霉素12 mg、维生素B66.72 mg),精密称定,置烧杯中,加酸性乙醇适量,置60℃水浴搅拌使溶,移入100 ml量瓶,放冷,加酸性乙醇至刻度,摇匀,过滤,弃初滤液,精密吸取续滤液5 ml,置50 ml量瓶中,加醋酸钠缓冲液至刻度,以相同程序处理的处方比例的基质为参比,按“回收率试验*测定”项下方法进行数据采集和处理,并计算相当于标示量的百分含量,结果见表2。
, 百拇医药
表2 样品测定结果(n=3)
Tab.2 Determined results of the samples (n=3) No
甲硝唑
氯霉素
维生素B6
1
96.79
99.22
99.78
2
101.30
, 百拇医药 98.47
94.58
3
98.45
99.28
102.10
4
95.64
96.86
99.36
5
99.10
100.44
, 百拇医药
101.60
注:以上均为标示量(%)
3 讨论
PLS是一种多元统计法,对于多组分混合白色体系的光谱分析,单位试样运算速度快,无求逆运算,能充分利用校准样中的吸收度和浓度信息,对波长位置的选择要求不甚苛刻,抗随机误差能力较强。
本实验在配制校准试样时,采用正交设计法安排各组分配比,既减少了试验次数,又使其具有代表性,也更加科学合理。
采用SPQA软件包,用计算机处理数据,在实验条件相同时可长期使用,对生产中多个批号样品测定简便、快速、准确,在计算机日益普及的今天,此法具有一定的应用价值。
参考文献
1,胡育筑主编.化学计量学简明教程.北京:中国医药科技出版社,1997.162
2,俞 斌著.计算机化学.北京:化学工业出版社,1995.179
3,周怀梧主编.数理统计.济南:山东教育出版社,1984.148
(1998-08-25收稿), 百拇医药
单位:萧溶(水城钢铁集团公司总医院 六盘水 553028)
关键词:分光光度法;甲硝唑;氯霉素;吡多辛
贵阳医学院学报000155 中国图书馆分类法分类号 R927.2
复方痤疮霜是由甲硝唑、氯霉素、维生素B6、硬脂酸、硬石蜡、液体石蜡、白凡士林、三乙醇胺、单硬脂酸甘油酯、甘油、羟苯乙酯等组成的复方外用制剂,不能用常规的分光光度法测定其含量。在光度分析领域,借助于化学计量学原理和计算机实现多组分混合物的同时测定,既克服了某些分析方法选择性差之虞,又能节省试剂,提高分析速度。1997年8~11月,作者采用偏最小二乘法(PLS)[1,2],不经分离同时测定复方痤疮霜中甲硝唑、氯霉素及维生素B6的含量,结果满意。
, http://www.100md.com
1 材料及方法
1.1 仪器、药品及试剂 7541型紫外可见分光光度计(上海分析仪器厂);AST Bravo 3/33S微机,Epson LQ—1600K打印机,SP600六笔绘图仪;计算机同时多成份光谱定量分析软件包(SPQA)清华大学化学系);甲硝唑、氯霉素、维生素B6、羟苯乙酯及若干辅料(中国药典规格);无水乙醇、盐酸、醋酸钠、冰醋酸均为分析纯。复方痤疮霜为我院自制。
1.2 方法原理 设有m个混合样溶液,各样由n个组分组成,在l个波长点测定其吸收度,则可得吸收度矩阵Al×m=Tl×aPa×m+E。其中T为载荷矩阵,P为因子矩阵,E是系统模型不能解释的随机误差矩阵。同样地,浓度矩阵C也可分解:Cm×n=Um×aVa×n+F。
, 百拇医药 从上面两式可知,由A阵得到的T阵和由C阵得到的U阵,代表了除去大部分噪声后的吸收度和浓度信息。由于C与A之间由朗伯-比尔定律确立了线性关系,因此C的载荷矩阵和A的载荷矩阵之间也有线性关系:Ul×a=Tl×aDa×a。D为对角矩阵,代表了U和T之间的内部关系,通常由校准模型可确定P、V、D和a。
在预报阶段,若测得l′个已知样品的吸收度阵Al′×m,则从Al′×m=Tl′×aBa×m确定Tl′×a,然后由Ul′×a=Tl′×aDa×a求出C的载荷矩阵U,再根据Cl′×n=Ul′×aVa×n得到未知样品的浓度阵C。
2 实验部分
, 百拇医药
2.1 紫外吸收光谱的绘制及稳定性考察 精密称取甲硝唑0.15 g,氯霉素0.20 g,维生素B60.12 g,其余附加剂及辅料依处方比例精密称取,分别置烧怀中,加酸性乙醇(取无水乙醇1 000 ml,加0.01 mol/L盐酸5 ml,混匀即可)适量溶解,移入100 ml量瓶中,用醋酸钠缓冲液(pH3.6)稀释至刻度,得对照液。各取适量用缓冲液释至适宜浓度,在200~400 nm范围内进行扫描,紫外吸收光谱见图1。结果表明各单组分至少在10 d,合成液在24 h内是稳定的。
图1 紫外-可见吸收光谱图
Fig.1 Uv-vis absorption spectrum
2.2 回收率试验 校准样品液的配制:取上述对照液适量,浓度在±20%范围内(甲硝唑:7.20,9.00,10.80 mg/L;氯霉素:9.60,12.00,14.40 mg/L;维生素B6:5.76,7.20,8.64 mg/L),按正交设计法[3],以L9(34)表组合配制成9份校准样品液,备用;模拟样品液的配制:取上述对照液适量,浓度在±20%范围内(甲硝唑:7.20,7.80,8.40,9.00,9.60,10.20,10.80 mg/L;氯霉素:9.60,10.40,11.20,12.00,12.80,13.60,14.40 mg/L;维生素B6:5.76,6.24,6.72,7.20,7.68,8.16,8.64 mg/L),依处方比例配制成7份模拟样品液,备用;操作测定:以上校准样品液和模拟样品液分别以醋酸钠缓冲液为空白,在7541紫外可见分光光度计上扫描(200~400 nm),并通过与光度计联机的微机采集260~330 nm之间,间隔2 nm的吸收度,每一样品计36个数据。将校准样品的浓度数据和吸收度值,以及模拟样品的吸收度值,采用DOS6.21中的Edit编辑成数据文件C1、A1和T0,以SPQA软件包进行数据处理,LQ1600K打印出各模拟样品各组分实测值。计算出回收率及相对标准偏差(RSD),见表1。
, 百拇医药
表1 回收率试验结果(mg/ L)
Tab.1 Results of recovery rate test(mg/ L) 组分
sm1
sm2
sm3
sm4
sm5
sm6
sm7
平均回收率(%)
RSD(%)
甲硝唑
, 百拇医药
加入浓度
7.200 0
7.800 0
8.400 0
9.000 0
9.600 0
10.200 0
10.800 0
测得浓度
7.192 5
7.809 1
8.484 8
, 百拇医药
8.990 8
9.625 2
10.124 2
10.772 2
回收率(%)
99.90
100.12
101.01
99.90
100.26
99.26
99.74
, http://www.100md.com
100.03
0.50
氯霉素
加入浓度
9.600 0
10.400 0
11.200 0
12.000 0
12.800 0
13.600 0
14.400 0
测得浓度
, http://www.100md.com
9.565 4
10.259 9
11.499 3
12.233 0
13.128 7
13.789 6
14.827 6
回收率(%)
99.64
98.65
102.67
101.94
, 百拇医药
102.57
101.39
102.97
101.40
1.53
维生素B6
加入浓度
5.760 0
6.240 0
6.720 0
7.200 0
7.680 0
, http://www.100md.com
8.160 0
8.640 0
测得浓度
5.769 4
6.327 2
6.774 0
7.216 7
7.711 8
8.201 7
8.664 3
回收率(%)
100.16
, 百拇医药
101.40
100.80
100.23
100.41
100.51
100.28
100.54
0.40
2.3 样品的测定 称取复方痤疮霜0.6 g(约相当于甲硝唑9.0 mg、氯霉素12 mg、维生素B66.72 mg),精密称定,置烧杯中,加酸性乙醇适量,置60℃水浴搅拌使溶,移入100 ml量瓶,放冷,加酸性乙醇至刻度,摇匀,过滤,弃初滤液,精密吸取续滤液5 ml,置50 ml量瓶中,加醋酸钠缓冲液至刻度,以相同程序处理的处方比例的基质为参比,按“回收率试验*测定”项下方法进行数据采集和处理,并计算相当于标示量的百分含量,结果见表2。
, 百拇医药
表2 样品测定结果(n=3)
Tab.2 Determined results of the samples (n=3) No
甲硝唑
氯霉素
维生素B6
1
96.79
99.22
99.78
2
101.30
, 百拇医药 98.47
94.58
3
98.45
99.28
102.10
4
95.64
96.86
99.36
5
99.10
100.44
, 百拇医药
101.60
注:以上均为标示量(%)
3 讨论
PLS是一种多元统计法,对于多组分混合白色体系的光谱分析,单位试样运算速度快,无求逆运算,能充分利用校准样中的吸收度和浓度信息,对波长位置的选择要求不甚苛刻,抗随机误差能力较强。
本实验在配制校准试样时,采用正交设计法安排各组分配比,既减少了试验次数,又使其具有代表性,也更加科学合理。
采用SPQA软件包,用计算机处理数据,在实验条件相同时可长期使用,对生产中多个批号样品测定简便、快速、准确,在计算机日益普及的今天,此法具有一定的应用价值。
参考文献
1,胡育筑主编.化学计量学简明教程.北京:中国医药科技出版社,1997.162
2,俞 斌著.计算机化学.北京:化学工业出版社,1995.179
3,周怀梧主编.数理统计.济南:山东教育出版社,1984.148
(1998-08-25收稿), 百拇医药